Curiosii for ever!: Car repair manuals for everyone.

Reassembly





ENGINE HOOD / DOOR: FRONT DOOR: REASSEMBLY

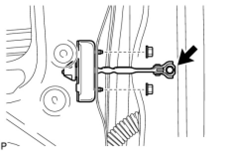
1. INSTALL FRONT DOOR CHECK ASSEMBLY LH

(a) Apply MP grease to the sliding areas of the door check.

(b) Install the door check to the door panel with the 2 nuts.





Torque : 5.5 Nm (56 kgf-cm, 49 in-lbf)

(c) Apply adhesive to the threads of the bolt.

Adhesive:

Toyota Genuine Adhesive 1324, Three Bond 1324 or equivalent

(d) Install the door check to the body panel with the bolt.

Torque : 26 Nm (265 kgf-cm, 19 ft-lbf)

2. INSTALL FRONT DOOR OUTSIDE HANDLE FRAME SUB-ASSEMBLY LH (w/o Smart Key System)

(a) Using a torx wrench (T25), install the front door outside handle frame sub-assembly LH with the torx screw.

Torque : 7.0 Nm (71 kgf-cm, 62 in-lbf)

3. INSTALL FRONT DOOR OUTSIDE HANDLE FRAME SUB-ASSEMBLY LH (w/ Smart Key System)

(a) Using a torx wrench (T25), install the front door outside handle frame sub-assembly LH with the torx screw.

Torque : 7.0 Nm (71 kgf-cm, 62 in-lbf)

4. INSTALL FRONT DOOR OUTSIDE HANDLE COVER LH

(a) Using a torx socket wrench (T30), install the cover (with the door lock key cylinder installed) with the torx screw.





Torque : 4.0 Nm (41 kgf-cm, 37 in-lbf)

(b) Install the hole plug.

5. INSTALL FRONT DOOR LOCK ASSEMBLY LH

(a) Apply MP grease to the sliding and rotating areas of the door lock.

(b) Install a new door lock wire harness packing.

NOTICE:
* When reinstalling a door lock, always use new packing.
* Do not allow grease or dirt to contaminate the gap between the door panel and packing.
* Water will damage the door lock.
* Old packing or damaged packing cannot effectively protect the door lock against water.

(c) Insert the control rod into the door lock, and then set it to the door panel.





NOTICE:
Make sure that the rod is securely engaged with the lock.

(d) Apply adhesive to the threads of the 3 torx screws.

Adhesive:

Toyota Genuine Adhesive 1324, Three Bond 1324 or equivalent

(e) Using a torx socket wrench (T30), install the door lock with the 3 torx screws.





Torque : 5.0 Nm (51 kgf-cm, 44 in-lbf)

(f) Connect the door lock connector.

6. INSTALL POWER WINDOW REGULATOR MOTOR ASSEMBLY LH FRONT

(a) Using a torx wrench (T25), install the power window regulator motor assembly LH front with the 3 torx screws.





Torque : 5.5 Nm (56 kgf-cm, 49 in-lbf)

7. INSTALL FRONT DOOR WINDOW REGULATOR SUB-ASSEMBLY LH

(a) Install the front door window regulator sub-assembly LH with the 6 bolts.





Torque : 8.0 Nm (82 kgf-cm, 71 in-lbf)

8. INSTALL FRONT DOOR GLASS SUB-ASSEMBLY LH

(a) Install the front door glass sub-assembly LH with the 2 bolts.





Torque : 5.5 Nm (56 kgf-cm, 49 in-lbf)

9. INSTALL FRONT DOOR SERVICE HOLE COVER LH

(a) Apply butyl tape to the door.

(b) Install the front door service hole cover LH, as shown in the illustration.





HINT
* There should be no wrinkles or folds on the service hole cover after attaching.
* Check that the service hole cover is securely attached.

10. INSTALL OUTER REAR VIEW MIRROR ASSEMBLY LH

(a) Install the outer rear view mirror assembly LH Installation.

11. INITIALIZE POWER WINDOW SYSTEM CIRCUIT

(a) Initialize the power window system circuit Repair Instruction - Initialization.