Curiosii for ever!: Car repair manuals for everyone.

Microphone Circuit Between Microphone and Navigation Receiver Assembly





NAVIGATION / MULTI INFO DISPLAY: NAVIGATION SYSTEM: Microphone Circuit between Microphone and Navigation Receiver Assembly
- Microphone Circuit between Microphone and Navigation Receiver Assembly

DESCRIPTION

This circuit sends a microphone voice signal from the inner rear view mirror assembly (amplifier microphone assembly) to the navigation receiver assembly.

It also supplies power from the navigation receiver assembly to the inner rear vie mirror assembly (amplifier microphone assembly).

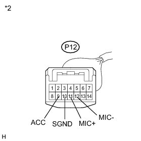
WIRING DIAGRAM





INSPECTION PROCEDURE

PROCEDURE

1. INSPECT NAVIGATION RECEIVER ASSEMBLY

(a) Measure the voltage according to the value(s) in the table below.





Standard Voltage:





(b) Measure the resistance according to the value(s) in the table below.

Standard Resistance:





Text in Illustration





NG -- REPLACE NAVIGATION RECEIVER ASSEMBLY Removal
OK -- Continue to next step.

2. CHECK HARNESS AND CONNECTOR

(a) Disconnect the E21 navigation receiver assembly connector.





(b) Disconnect the P12 inner rear view mirror assembly (amplifier microphone assembly) connector.





(c) Measure the resistance according to the value(s) in the table below.

Standard Resistance:





Text in Illustration





NG -- REPAIR OR REPLACE HARNESS OR CONNECTOR
OK -- Continue to next step.

3. INSPECT INNER REAR VIEW MIRROR ASSEMBLY (AMPLIFIER MICROPHONE ASSEMBLY)

(a) Measure the resistance according to the value(s) in the table below.





Standard Resistance:





Text in Illustration





NG -- REPLACE INNER REAR VIEW MIRROR ASSEMBLY (AMPLIFIER MICROPHONE ASSEMBLY) Removal

OK -- PROCEED TO NEXT SUSPECTED AREA SHOWN IN PROBLEM SYMPTOMS TABLE Symptom Related Diagnostic Procedures