Curiosii for ever!: Car repair manuals for everyone.

ECU Power Source Circuit





THEFT DETERRENT / KEYLESS ENTRY: THEFT DETERRENT SYSTEM (w/ Smart Key System): ECU Power Source Circuit
- ECU Power Source Circuit

DESCRIPTION

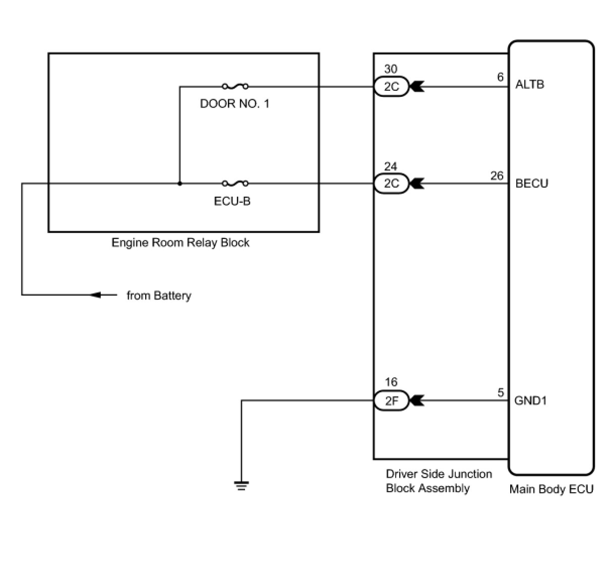
This circuit provides power for main body ECU (driver side junction block assembly) operation.

WIRING DIAGRAM





INSPECTION PROCEDURE

PROCEDURE

1. CHECK DRIVER SIDE JUNCTION BLOCK ASSEMBLY (MAIN BODY ECU (POWER SOURCE))

(a) Disconnect the 2C driver side junction block assembly connector.





(b) Measure the voltage according to the value(s) in the table below.

Standard Voltage:





Text in Illustration





NG -- REPAIR OR REPLACE HARNESS OR CONNECTOR
OK -- Continue to next step.

2. CHECK HARNESS AND CONNECTOR (DRIVER SIDE JUNCTION BLOCK ASSEMBLY - BODY GROUND)

(a) Disconnect the 2F driver side junction block assembly connectors.





(b) Measure the resistance according to the value(s) in the table below.

Standard Resistance:





Text in Illustration





NG -- REPAIR OR REPLACE HARNESS OR CONNECTOR

OK -- PROCEED TO NEXT SUSPECTED AREA SHOWN IN PROBLEM SYMPTOMS TABLE Theft Deterrent System (w/ Smart Key System)