Curiosii for ever!: Car repair manuals for everyone.

Installation





2GR-FE ENGINE CONTROL: CRANKSHAFT POSITION SENSOR: INSTALLATION

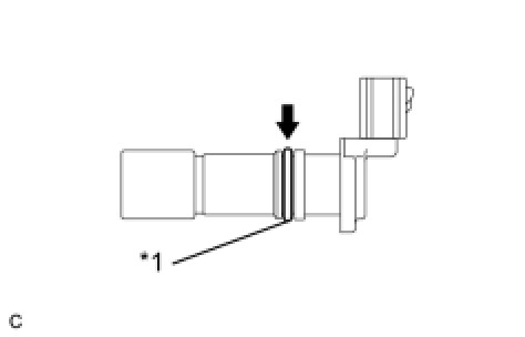
1. INSTALL CRANK POSITION SENSOR

(a) Apply a light coat of engine oil to the O-ring on the crank position sensor.





Text in Illustration





(b) Install the crank position sensor with the bolt.





Torque : 10 Nm (102 kgf-cm, 7 ft-lbf)

(c) Connect the crank position sensor connector.

2. INSTALL COMPRESSOR AND MAGNETIC CLUTCH

(a) Install the compressor and magnetic clutch Installation.