Curiosii for ever!: Car repair manuals for everyone.

Cruise Control Switch: Testing and Inspection





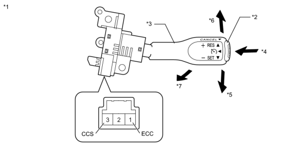
CRUISE CONTROL: CRUISE CONTROL MAIN SWITCH: INSPECTION

1. INSPECT CRUISE CONTROL MAIN SWITCH

(a) for vehicles without vehicle-to-vehicle distance control mode:

(1) Measure the resistance according to the value(s) in the table below.





Text in Illustration





Standard Resistance:





*1: Lever is in neutral position

If the result is not as specified, replace the cruise control main switch.