Curiosii for ever!
: Car repair manuals for everyone.
Home
>>
Toyota
>>
2011
>>
Matrix AWD L4-2.4L (2AZ-FE)
>>
Repair and Diagnosis
>>
Heating and Air Conditioning
>>
Condenser HVAC
>>
Service and Repair
>>
Removal and Replacement
>>
Components
Components
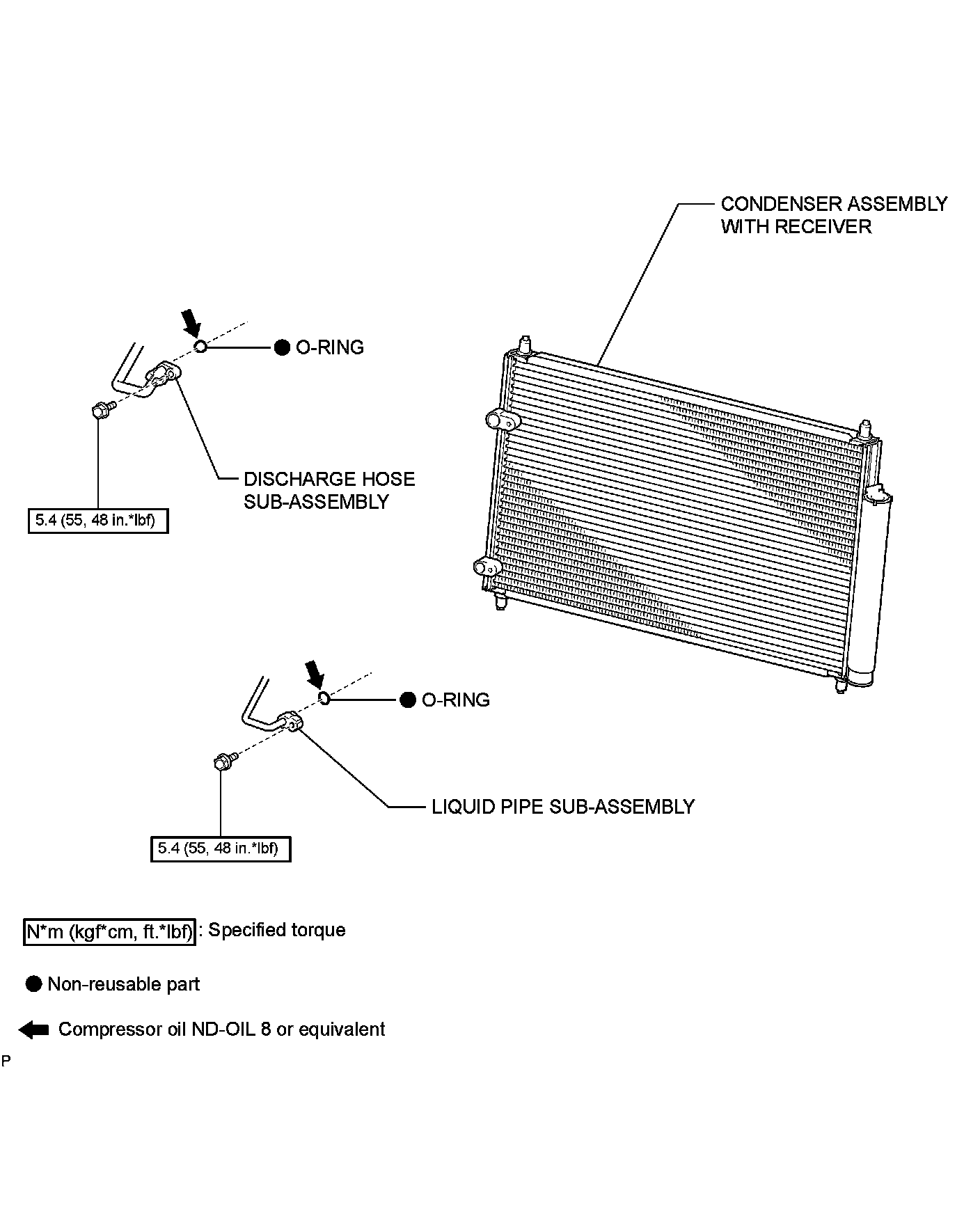
HEATING / AIR CONDITIONING: CONDENSER: COMPONENTS