Curiosii for ever!: Car repair manuals for everyone.

Open in CAN Main Bus Line





NETWORKING: CAN COMMUNICATION SYSTEM: Open in CAN Main Bus Line
- Open in CAN Main Bus Line

DESCRIPTION

There may be an open circuit in the CAN main wire and/or the DLC3 branch wire when the resistance between terminals 6 (CANH) and 14 (CANL) of the DLC3 is 70 Ohms or higher.





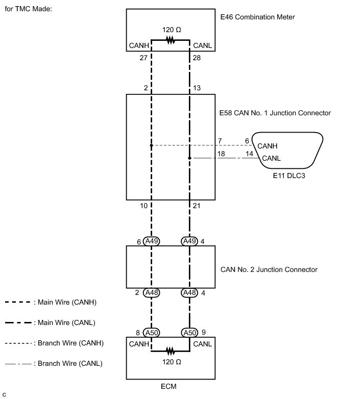
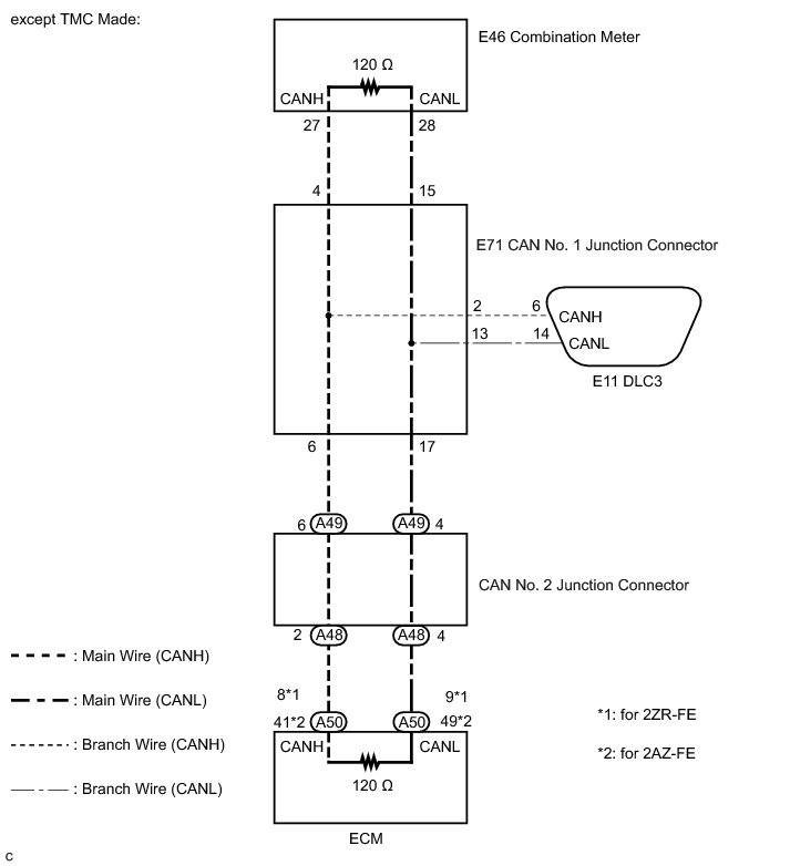
WIRING DIAGRAM









INSPECTION PROCEDURE

NOTICE:
* Turn the ignition switch off before measuring the resistance between main CAN bus wires and CAN Bus branch wires.
* After the ignition switch is turned off, check that the key reminder warning system and light reminder warning system are not operating.
* Before measuring the resistance, leave the vehicle as is for at least 1 minute and do not operate the ignition switch, any other switches or the doors. If any doors need to be opened in order to check the connectors, open the doors and leave them open.

HINT
* Operating the ignition switch, any other switches or a door triggers related ECU and sensor communication on the CAN. This communication will cause the resistance value to change.
* Even after DTCs are cleared, if a DTC is stored again after driving the vehicle for a while, the malfunction may be occurring due to vibration of the vehicle. In such a case, wiggling the ECUs or wire harness while performing the inspection below may help determine the cause of the malfunction.

PROCEDURE

1. CHECK DLC3

(a) Turn the ignition switch off.





Text in Illustration





(b) Measure the resistance according to the value(s) in the table below.

Standard Resistance:





NOTICE:
When the measured value is 132 Ohms or higher and a CAN communication system diagnostic trouble code is output, there may be a fault besides disconnection of the DLC3 branch wire. For that reason, troubleshooting should be performed again from How to Proceed with Troubleshooting How to Proceed With Troubleshooting after repairing the trouble area.

NG -- REPAIR OR REPLACE CAN BRANCH WIRE CONNECTED TO DLC3
OK -- Continue to next step.

2. CHECK FOR OPEN IN CAN BUS MAIN WIRE (CAN NO. 2 JUNCTION CONNECTOR)

(a) Turn the ignition switch off.





Text in Illustration





(b) Disconnect the CAN No. 2 junction connector.

(c) Measure the resistance according to the value(s) in the table below.

Standard Resistance:





NG -- CHECK FOR OPEN IN CAN BUS MAIN WIRE (COMBINATION METER)
OK -- Continue to next step.

3. CHECK FOR OPEN IN CAN BUS MAIN WIRE (ECM)

(a) Turn the ignition switch off.

(b) Reconnect the CAN No. 2 junction connector.

(c) Disconnect the ECM connector.

(d) Measure the resistance according to the value(s) in the table below.





Text in Illustration





Standard Resistance:





*1: for 2AZ-FE

*2: for 2ZR-FE

Result:





C -- CHECK FOR OPEN IN CAN BUS MAIN WIRE (CAN NO. 2 JUNCTION CONNECTOR - ECM)

B -- REPLACE ECM Removal

A -- REPLACE ECM Removal

4. CHECK FOR OPEN IN CAN BUS MAIN WIRE (CAN NO. 2 JUNCTION CONNECTOR - ECM)

(a) Reconnect the ECM connector.





Text in Illustration





(b) Turn the ignition switch off.

(c) Disconnect the CAN No. 2 junction connector.

(d) Measure the resistance according to the value(s) in the table below.

Standard Resistance:





NG -- REPAIR OR REPLACE CAN MAIN WIRE OR CONNECTOR (CAN NO. 2 JUNCTION CONNECTOR - ECM)

OK -- REPLACE CAN NO. 2 JUNCTION CONNECTOR

5. CHECK FOR OPEN IN CAN BUS MAIN WIRE (COMBINATION METER)

(a) Reconnect the CAN No. 2 junction connector.





Text in Illustration





(b) Turn the ignition switch off.

(c) Disconnect the combination meter connector.

(d) Measure the resistance according to the value(s) in the table below.

Standard Resistance:





NG -- CHECK FOR OPEN IN CAN BUS MAIN WIRE (CAN NO. 1 JUNCTION CONNECTOR - COMBINATION METER)

OK -- REPLACE COMBINATION METER ASSEMBLY Removal

6. CHECK FOR OPEN IN CAN BUS MAIN WIRE (CAN NO. 1 JUNCTION CONNECTOR - COMBINATION METER)

(a) Reconnect the combination meter connector.

(b) Turn the ignition switch off.

(c) TMC made:

(1) Disconnect the CAN No. 1 junction connector.





Text in Illustration





(2) Measure the resistance according to the value(s) in the table below.

Standard Resistance:





(d) Except TMC made:

(1) Disconnect the CAN No. 1 junction connector.





Text in Illustration





(2) Measure the resistance according to the value(s) in the table below.

Standard Resistance:





NG -- REPAIR OR REPLACE CAN MAIN WIRE OR CONNECTOR (CAN NO. 1 JUNCTION CONNECTOR - COMBINATION METER)
OK -- Continue to next step.

7. CHECK FOR OPEN IN CAN BUS MAIN WIRE (CAN NO. 1 JUNCTION CONNECTOR - CAN NO. 2 JUNCTION CONNECTOR)

(a) TMC made:

(1) Disconnect the CAN No. 1 junction connector.





Text in Illustration





(2) Measure the resistance according to the value(s) in the table below.

Standard Resistance:





(b) Except TMC made:

(1) Disconnect the CAN No. 1 junction connector.





Text in Illustration





(2) Measure the resistance according to the value(s) in the table below.

Standard Resistance:





NG -- REPAIR OR REPLACE CAN MAIN WIRE OR CONNECTOR (CAN NO. 1 JUNCTION CONNECTOR - CAN NO. 2 JUNCTION CONNECTOR)

OK -- REPLACE CAN NO. 1 JUNCTION CONNECTOR