Curiosii for ever!: Car repair manuals for everyone.

CAN Communication System





CAN COMMUNICATION: CAN COMMUNICATION SYSTEM: TERMINALS OF ECU

NOTICE:
This section describes the standard CAN values for all CAN related components.

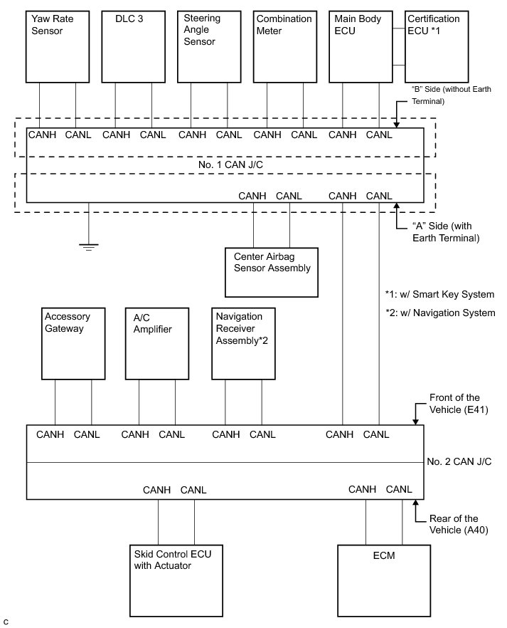
1. JUNCTION CONNECTOR (NO. 1 CAN J/C, NO. 2 CAN J/C)

(a) No. 1 CAN J/C













(b) No. 2 CAN J/C (REAR OF THE VEHICLE)









(c) No. 2 CAN J/C (FRONT OF THE VEHICLE)









(d) The connection diagram of the components which are connected to the CAN J/C





2. DLC3

(a) Measure the resistance according to the value(s) in the table below.





Standard resistance:





3. SKID CONTROL ECU WITH ACTUATOR

(a) TMC made





(1) Disconnect A26 connector from the skid control ECU.

(2) Measure the resistance according to the value(s) in the table below.

Standard resistance:





(b) TMMK made





(1) Disconnect the A60 connector from the skid control ECU.

(2) Measure the resistance according to the value(s) in the table below.

Standard resistance:





4. STEERING ANGLE SENSOR

(a) Disconnect the E17 connector from the steering angle sensor.





(b) Measure the resistance according to the value(s) in the table below.

Standard resistance:





5. YAW RATE SENSOR

(a) TMC made





(1) Disconnect the E34 connector from the yaw rate sensor.

(2) Measure the resistance according to the value(s) in the table below.

Standard resistance:





(b) TMMK made

(1) Disconnect the E65 connector from the yaw rate sensor.





(2) Measure the resistance according to the value(s) in the table below.

Standard resistance:





6. CENTER AIRBAG SENSOR ASSEMBLY

(a) Disconnect the E30 connector from the center airbag sensor assembly.

(b) Measure the resistance according to the value(s) in the table below.





Standard resistance:





7. ECM

(a) 2AR-FE





(1) Disconnect the A24 connector from the ECM.

(2) Measure the resistance according to the value(s) in the table below.

Standard resistance:





(3) Measure the resistance according to the value(s) in the table below.





Standard resistance:





(b) 2GR-FE





(1) Disconnect the A55 connector from the ECM.

(2) Measure the resistance according to the value(s) in the table below.

Standard resistance:





(3) Measure the resistance according to the value(s) in the table below.





Standard resistance:





8. AIR CONDITIONING AMPLIFIER

(a) Check the harness side connector (E38) of the air conditioning amplifier.





(1) Disconnect the connector (E38) from the air conditioning amplifier.

(2) Measure the resistance according to the value(s) in the table below.

Standard resistance:





9. COMBINATION METER ECU

(a) Disconnect the F1 connector from the combination meter.

(b) Measure the resistance according to the value(s) in the table below.





Standard resistance:





(c) Measure the resistance according to the value(s) in the table below.





Standard resistance:





10. CERTIFICATION ECU (W/ SMART KEY SYSTEM)

(a) Disconnect the E58 connector from the certification ECU.

(b) Measure the resistance according to the value(s) in the table below.





Standard resistance:





11. MAIN BODY ECU (INSTRUMENT PANEL J/B)

(a) Disconnect the E8 connector from the main body ECU.

(b) Measure the resistance according to the value(s) in the table below.





Standard resistance:





12. NAVIGATION ECU (NAVIGATION RECEIVER ASSEMBLY) (for 8 Speakers)





(a) Disconnect the connectors F12 and F9 from the navigation receiver assembly.





(b) Measure the resistance according to the value(s) in the table below.

Standard resistance:





13. NAVIGATION ECU (NAVIGATION RECEIVER ASSEMBLY) (for 6 Speakers)





(a) Disconnect the connectors F12 and F40 from the navigation receiver assembly.





(b) Measure the resistance according to the value(s) in the table below.

Standard resistance:





14. ACCESSORY GATEWAY

(a) Measure the resistance according to the value(s) in the table below.





Standard resistance: