Curiosii for ever!: Car repair manuals for everyone.

Part 2





U250E AUTOMATIC TRANSMISSION / TRANSAXLE: AUTOMATIC TRANSAXLE UNIT: REASSEMBLY - (Continued)

23. INSTALL ONE-WAY CLUTCH SLEEVE

(a) Install the one-way clutch sleeve to the 2nd brake cylinder assembly.





NOTICE:
Check the position and direction of the outer sleeve.

24. INSTALL NO. 1 PLANETARY CARRIER THRUST WASHER

(a) Coat the No. 1 planetary carrier thrust washer with ATF, and install it onto the planetary sun gear assembly.





NOTICE:
After installing the washer, confirm that the projections on the washer are securely fitted in the holes of the planetary sun gear assembly.

25. INSTALL ONE-WAY CLUTCH ASSEMBLY

(a) Install the one-way clutch inner race to the one-way clutch.





NOTICE:
* Check the direction of the inner race.
* Confirm that the identification mark can be seen.
(b) Make sure that the one-way clutch turns freely counterclockwise and locks when turned clockwise.





(c) Install the one-way clutch and thrust needle roller bearing to the one-way clutch sleeve outer.





Bearing Diameter:





NOTICE:
Confirm that the thrust bearing is installed properly with the uncolored race visible.

26. INSTALL REAR PLANETARY SUN GEAR ASSEMBLY

(a) Coat the No. 2 planetary carrier thrust washer with ATF, and install it onto the rear planetary sun gear.





(b) Coat the bearing with petroleum jelly, and install it onto the rear planetary sun gear.





Bearing And Race Diameter:





(c) Install the rear planetary sun gear assembly to the rear planetary gear.





NOTICE:
After installing the rear planetary sun gear assembly, confirm that the discs engage.

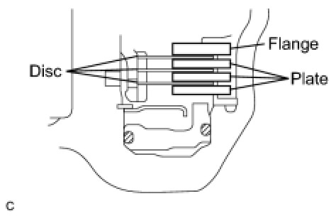
27. INSTALL 2ND BRAKE CLUTCH DISC

(a) Coat the 3 discs with ATF.





(b) Install the 3 discs and 3 plates to the transaxle case.

(c) Install the snap ring.

28. INSPECT PACK CLEARANCE OF 2ND BRAKE Transaxle Unit

29. INSTALL OVERDRIVE DIRECT CLUTCH HUB SUB-ASSEMBLY

(a) Install the direct clutch hub to the planetary gear assembly.





NOTICE:
Be careful not to damage the bushing inside the overdrive clutch hub during installation.

(b) Coat the thrust bearing with ATF.

(c) Install the bearing race and the thrust bearing to the direct clutch hub.

NOTICE:
When installing the bearing, hold the side of the overdrive clutch hub.





30. INSTALL OVERDRIVE DIRECT CLUTCH O-RING

(a) Coat a new O-ring with ATF, and install it to the direct clutch drum.





NOTICE:
Ensure that the O-ring is not twisted or pinched.

31. INSTALL OVERDRIVE DIRECT CLUTCH DRUM SUB-ASSEMBLY

(a) Coat the direct clutch drum with ATF, and install it to the intermediate shaft.





NOTICE:
* Be careful not to damage the O-ring.
* Be careful not to damage the lip seal of the direct clutch drum.
32. INSTALL OVERDRIVE DIRECT CLUTCH PISTON

(a) Coat the overdrive direct clutch piston with ATF, and install it to the overdrive direct clutch drum sub-assembly.





NOTICE:
Be careful not to damage the lip seal of the direct clutch piston.

33. INSTALL OVERDRIVE CLUTCH RETURN SPRING SUB-ASSEMBLY

(a) Install the overdrive clutch return spring sub-assembly to the overdrive direct clutch drum sub-assembly.





NOTICE:
When installing the spring sub-assembly, ensure that all springs are fitted in the piston correctly.

(b) Coat the clutch balancer with ATF.

(c) Install the clutch balancer to the overdrive direct clutch drum sub-assembly.





NOTICE:
* Be careful not to damage the lip seal of the direct clutch balancer.
* Ensure that the clutch balancer is not pinched and there are no defects on the sealing lip.
* Apply sufficient ATF to the sealing lip prior to installation.
(d) Place SST on the clutch balancer and compress the piston return spring with a press.





SST : 09387-00020

(e) Using a snap ring expander, install the snap ring to the direct clutch drum.

NOTICE:
* Stop the press when the spring seat is lowered to the place 1 to 2 mm (0.0393 to 0.0787 in.) from the snap ring groove. This prevents the spring seat from being deformed.
* Do not expand the snap ring excessively.
(f) Position the end gap of the snap ring in the piston as shown in the illustration.





NOTICE:
Ensure that the end gap of the snap ring is not aligned with any of the stoppers.

34. INSTALL OVERDRIVE DIRECT CLUTCH DISC

(a) Coat the 3 discs with ATF.





(b) Install the 3 plates, 3 discs and flange to the intermediate shaft.

NOTICE:
Be sure to install the plates, discs and flange in the correct order.

(c) Using a screwdriver, install the snap ring.





NOTICE:
The snap ring should be securely engaged in the groove of the drum.

35. INSTALL DIRECT MULTIPLE DISC CLUTCH DISC

(a) Coat the 3 discs with ATF.





(b) Install the cushion plate, 3 plates, 3 discs and flange to the intermediate shaft.

NOTICE:
* Install the cushion plate with the mark on the white surface facing the plate.
* Be sure to install the cushion plate, plates, discs and flange in the correct order.
(c) Using a screwdriver, install the snap ring.





NOTICE:
The snap ring should be securely engaged in the groove of the drum.

36. INSPECT PACK CLEARANCE OF DIRECT CLUTCH Transaxle Unit

37. INSPECT PACK CLEARANCE OF OVERDRIVE CLUTCH Transaxle Unit

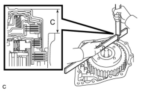
38. INSTALL DIRECT CLUTCH ASSEMBLY

(a) Coat the thrust bearing with ATF.





(b) Install the direct clutch assembly and thrust bearing to the rear planetary sun gear assembly.

NOTICE:
The discs in the direct clutch should be completely matched with the hub attached outside the rear planetary sun gear. Otherwise, the rear cover cannot be installed.

(c) Clean the contact surfaces of the transaxle case and the rear cover.





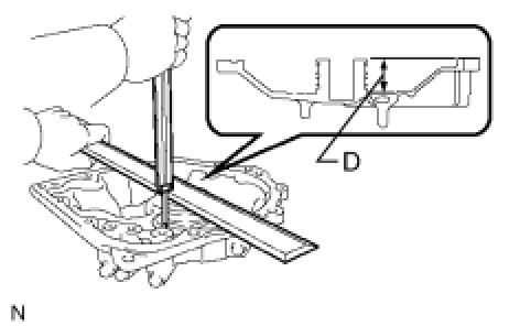
(d) As shown in the illustration, place a straightedge on the direct clutch drum and measure the distance between the transaxle case and the straightedge using a vernier caliper (Dimension C).

(e) Using a vernier caliper and a straightedge, measure the dimension shown in the illustration.





(f) Calculate the end play value using the following formula. Select a thrust bearing which satisfies the specified end play value and install it.

End play:

0.199 to 0.970 mm (0.00783 to 0.0382 in.)

NOTICE:
Make sure that the uncolored race side is facing the direct clutch assembly.

HINT
End play = Dimension D - Dimension C





39. INSTALL NO. 1 GOVERNOR APPLY GASKET

(a) Install 3 new No. 1 governor apply gaskets to the transaxle case.





40. INSTALL BRAKE APPLY TUBE

(a) Install the clamp to the brake apply tube.





NOTICE:
Make sure to install the clamp to the apply tube before installing the apply tube to the transaxle case. This prevents the apply tube from being deformed or damaged.

(b) Install the clutch apply tube.

(c) Install the brake apply tube to the transaxle case with the bolt.





Torque : 5.4 Nm (55 kgf-cm, 48 in-lbf)

NOTICE:
Each pipe should be securely inserted until it reaches the stopper.

41. INSTALL NEEDLE ROLLER BEARING

(a) Using SST and a press, install the needle roller bearing to the transaxle rear cover.





SST : 09950-60010

09951-00230

09951-00360

09952-06010

Press fit depth:

20.55 to 21.25 mm (0.8091 to 0.8366 in.)

NOTICE:
* Face the inscribed side of the bearing race up.
* Keep pressing until the specified value is obtained.
(b) Coat the needle roller bearing with ATF.

42. INSTALL REAR CLUTCH OIL SEAL RING

(a) Coat 3 new rear clutch oil seal rings with ATF, and install them to the transaxle rear cover.





NOTICE:
The rear clutch oil seal rings should be securely engaged in the grooves of the drum.

43. INSTALL NO. 1 TRANSAXLE CASE PLUG

(a) Install a new O-ring to each No. 1 transaxle case plug.





(b) Install the 4 No. 1 transaxle case plugs to the transaxle rear cover.

Torque : 7.4 Nm (75 kgf-cm, 65 in-lbf)

44. INSTALL TRANSAXLE REAR COVER SUB-ASSEMBLY

(a) Remove any packing material and keep the contact surfaces of the transaxle rear cover and the transaxle case away from oil.





(b) Apply FIPG to the cover.

FIPG:

Toyota Genuine Seal Packing 1281, Three Bond 1281 or Equivalent

NOTICE:
Apply FIPG in a continuous bead (width 1.2 mm (0.0472 in.)) along the sealing surface.

(c) Apply adhesive to the threads of bolt A.





Sealant:

Toyota Genuine Adhesive 1344, Three Bond 1344 or Equivalent

(d) Install the 11 bolts.

Bolt A - Torque : 19 Nm (190 kgf-cm, 14 ft-lbf)

Other bolts - Torque : 25 Nm (250 kgf-cm, 18 ft-lbf)

45. INSTALL NO. 2 UNDERDRIVE CLUTCH DISC

(a) Coat the 3 discs with ATF.





(b) Install the 3 discs, 3 plates and flange to the transaxle case.

NOTICE:
Be sure to install the discs, plates and flange in the correct order.

(c) Using a screwdriver, install the snap ring.





NOTICE:
The snap ring should be securely engaged in the groove of the drum.

46. INSPECT PACK CLEARANCE OF UNDERDRIVE BRAKE Transaxle Unit

47. INSPECT UNDERDRIVE ONE-WAY CLUTCH ASSEMBLY Transaxle Unit

48. INSTALL UNDERDRIVE ONE-WAY CLUTCH ASSEMBLY

(a) Install the outer race retainer to the one-way clutch.





NOTICE:
Securely install the outer race retainer onto the tooth of the one-way clutch.

(b) Install the one-way clutch to the transaxle case.





NOTICE:
Ensure that the outer race retainer and the mark on the transaxle case are aligned.

(c) Using a screwdriver, install the snap ring to the transaxle case.





NOTICE:
The snap ring should be securely engaged in the groove of the transaxle case.

49. INSTALL UNDERDRIVE CLUTCH DRUM O-RING

(a) Coat a new O-ring with ATF, and install it to the underdrive clutch drum.





NOTICE:
Install the O-ring carefully so that it is not twisted or pinched.