Curiosii for ever!: Car repair manuals for everyone.

TC and CG Terminal Circuit





BRAKE CONTROL / DYNAMIC CONTROL SYSTEMS: VEHICLE STABILITY CONTROL SYSTEM (for 2AZ-FE): TC and CG Terminal Circuit
- TC and CG Terminal Circuit

DESCRIPTION

Connecting terminals TC and CG of the DLC3 causes the ECU to display the DTC by blinking the ABS warning light.

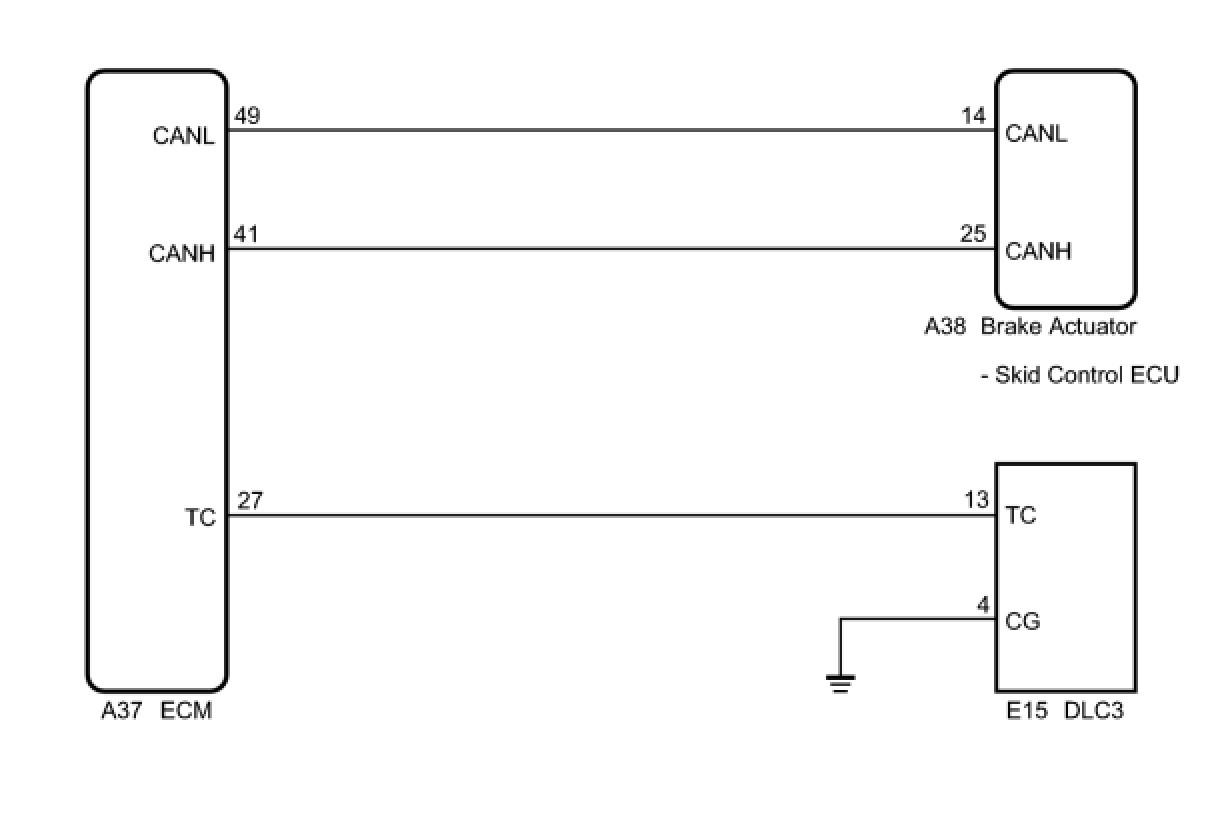
WIRING DIAGRAM





HINT
When the warning lights continue to blink, a ground short in the wiring of terminal TC of the DLC3 or an internal ground short in one or more ECUs is suspected.

INSPECTION PROCEDURE

NOTICE:
When replacing the brake actuator assembly, perform zero point calibration Programming and Relearning.

PROCEDURE

1. CHECK CAN COMMUNICATION SYSTEM

(a) Check if a CAN communication system DTC is output Vehicle Stability Control System.

Result:





B -- INSPECT CAN COMMUNICATION SYSTEM Vehicle Stability Control System
A -- Continue to next step.

2. INSPECT DLC3

(a) Turn the ignition switch to ON.





(b) Measure the voltage according to the value(s) in the table below.

Standard Voltage:





Result:





B -- CHECK ECM (TC of DLC3 INPUT)
A -- Continue to next step.

3. CHECK HARNESS AND CONNECTOR (TC of DLC3 - ECM)

(a) Turn the ignition switch off.





(b) Disconnect the ECM connector.

(c) Measure the resistance according to the value(s) in the table below.

Standard Resistance:





NG -- REPAIR OR REPLACE HARNESS OR CONNECTOR
OK -- Continue to next step.

4. CHECK HARNESS AND CONNECTOR (CG of DLC3 - BODY GROUND)

(a) Measure the resistance according to the value(s) in the table below.





Standard Resistance:





NG -- REPAIR OR REPLACE HARNESS OR CONNECTOR
OK -- Continue to next step.

5. CHECK ECM (TC of DLC3 INPUT)

(a) Turn the ignition switch off.





(b) Reconnect the ECM connector.

(c) Using SST, connect terminals TC and CG of the DLC3.

SST : 09843-18040

(d) Turn the ignition switch to ON.

(e) Check that the check engine warning light is blinking.

Result:





HINT
If troubleshooting has been carried out according to the Problem Symptoms Table, refer back to the table and proceed to the next step before replacing the part Problem Symptoms Table.

B -- REPAIR OR REPLACE WIRE HARNESS OR ECM (TC of ECM CIRCUIT)

A -- REPLACE BRAKE ACTUATOR ASSEMBLY Removal