Curiosii for ever!: Car repair manuals for everyone.

Disassembly





2ZR-FE BATTERY / CHARGING: GENERATOR: DISASSEMBLY

1. REMOVE GENERATOR CLUTCH PULLEY

(a) Using a screwdriver, puncture the center of the generator pulley cap and pry it off.





NOTICE:
Do not reuse the generator pulley cap.

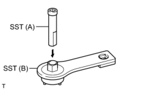
(b) Set SST (A) and (B).





SST : 09820-63021

(c) Clamp SST (A) in a vise.





(d) Place the rotor shaft end into SST (A).

(e) Fit SST (B) to the clutch pulley.





(f) Loosen the pulley by turning SST (B) in the direction shown in the illustration.





(g) Remove the generator assembly from SST.

(h) Remove the clutch pulley from the rotor shaft.

2. REMOVE GENERATOR REAR END COVER

(a) Place the generator assembly on the clutch pulley.





(b) Remove the 3 nuts and generator rear end cover.





3. REMOVE GENERATOR TERMINAL INSULATOR

(a) Remove the terminal insulator from the generator coil.





4. REMOVE GENERATOR BRUSH HOLDER ASSEMBLY

(a) Remove the 2 screws and generator brush holder assembly from the generator coil.





5. REMOVE GENERATOR COIL ASSEMBLY

(a) Remove the 4 bolts.





(b) Using SST, remove the generator coil assembly.





SST : 09950-40011

09951-04020

09952-04010

09953-04020

09954-04010

09955-04071

09957-04010

09958-04011

6. REMOVE GENERATOR ROTOR ASSEMBLY

(a) Remove the generator washer.





(b) Remove the generator rotor assembly.





7. REMOVE GENERATOR DRIVE END FRAME BEARING

(a) Remove the 4 screws and bearing retainer plate from the drive end frame.





(b) Using SST and a hammer, tap out the generator drive end frame bearing from the generator drive end frame.





SST : 09950-60010

09951-00250

SST : 09950-70010

09951-07100