Curiosii for ever!: Car repair manuals for everyone.

Installation





WINDOW / GLASS: QUARTER WINDOW GLASS: INSTALLATION

1. CLEAN QUARTER WINDOW ASSEMBLY

(a) Clean the outer edges of a new quarter window assembly with a non-residue solvent.





NOTICE:
* Do not touch the glass surface after cleaning it.
* Be careful not to damage the glass or clips.
2. INSTALL QUARTER WINDOW ASSEMBLY

(a) Using a brush or a sponge, apply Primer M to the exposed part of the vehicle body.





NOTICE:
* Do not coat the adhesive with primer M.
* Do not apply too much primer.
* Allow the primer to dry for 3 minutes or more.
* Throw away any leftover Primer.
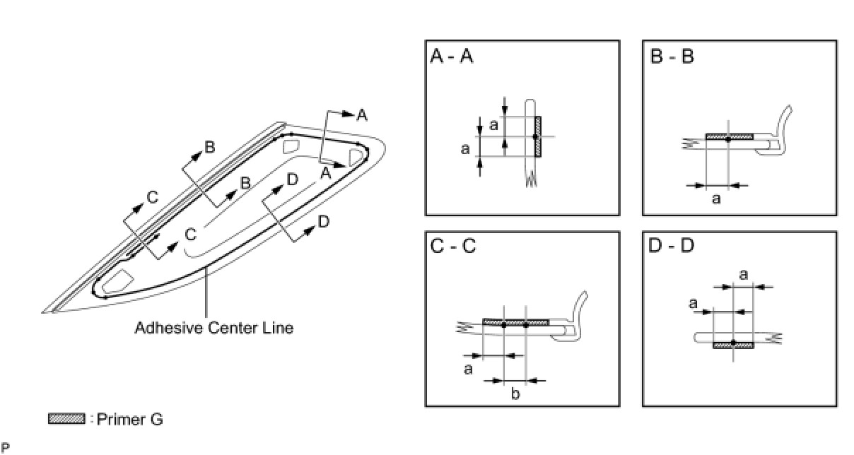
(b) Using a brush or a sponge, apply Primer G to the contact surface of the new quarter window glass.





Standard Measurement:





HINT
If the primer is applied to an area that is not specified, wipe off the primer with a non-residue solvent before it dries.

NOTICE:
* To prevent the glass from breaking at low temperatures, ensure that no primer adheres to the contact surface between the moulding and glass during application.
* Allow the primer to dry for 3 minutes or more.
* Throw away any leftover Primer.
* Do not apply too much primer.
(c) Apply adhesive to the quarter window assembly.

Adhesive:

Toyota Genuine Windshield Glass Adhesive or equivalent

(1) Cut off the tip of the cartridge nozzle as shown in the illustration.





Standard Measurement:





(2) Load the sealer gun with cartridge.

(3) Apply adhesive to the quarter window glass as shown in the illustration.

(d) Install the quarter window glass to the vehicle body.

(1) Engage the 3 clips to install the quarter window glass.





(2) Hold the quarter window assembly in place securely with protective tape or equivalent until the adhesive hardens.

NOTICE:
* Allow the primer to dry for 3 minutes or more.
* Check that the clips are attached to the body correctly.
* Check the clearance between the body and glass.
(3) Lightly press the outer surface of the glass to ensure a close fit that the glass is securely fit to the vehicle body.

(4) Using a scraper, remove any excess or protruding adhesive.





HINT
Apply adhesive onto the glass rim.

NOTICE:
Do not drive the vehicle within the time described in the table below.

Minimum Time:





3. INSPECT FOR LEAK AND REPAIR

(a) Conduct a leak test after the adhesive has completely hardened.

(b) Seal any leaks with auto glass sealer.

4. INSTALL ROOF SIDE INNER GARNISH LH Installation

5. INSTALL QUARTER PILLAR GARNISH LH Installation

6. INSTALL SIDE DECK TRIM PANEL ASSEMBLY LH Installation

7. INSTALL REAR COMBINATION LIGHT SERVICE COVER LH Installation

8. INSTALL NO. 1 LUGGAGE COMPARTMENT TRIM HOOK (for LH Side) Installation

9. INSTALL LUGGAGE HOLD BELT STRIKER ASSEMBLY (for LH Side) Installation

10. CONNECT REAR SEAT 3 POINT TYPE BELT ASSEMBLY LH Installation

11. INSTALL REAR SEAT SIDE GARNISH LH Installation

12. INSTALL REAR SEATBACK HINGE SUB-ASSEMBLY (for LH Side) Installation

13. INSTALL REAR DECK TRIM COVER Installation

14. INSTALL LUGGAGE COMPARTMENT TRAY Installation

15. INSTALL CHILD RESTRAINT SEAT TETHER ANCHOR Installation

16. INSTALL DECK FLOOR BOX RH Installation

17. INSTALL DECK FLOOR BOX LH Installation

18. INSTALL JACK ASSEMBLY Installation

19. INSTALL JACK CARRIER ASSEMBLY

20. INSTALL NO. 2 DECK BOARD Installation

21. INSTALL DECK BOARD ASSEMBLY Installation

22. INSTALL TONNEAU COVER ASSEMBLY (w/ Tonneau Cover)

23. INSTALL REAR SEATBACK ASSEMBLY LH Installation

24. INSTALL REAR SEATBACK INNER HINGE COVER (for LH Side) Installation

25. INSTALL REAR SEATBACK OUTER HINGE COVER (for LH Side) Installation

26. INSTALL REAR SEAT HEADREST ASSEMBLY

27. INSTALL REAR SEAT CUSHION ASSEMBLY Installation

28. INSTALL REAR DOOR OPENING TRIM WEATHERSTRIP LH Installation

29. INSTALL REAR DOOR SCUFF PLATE LH Installation