Curiosii for ever!: Car repair manuals for everyone.

Reassembly





MF1A TRANSFER / 4WD / AWD: TRANSFER ASSEMBLY: REASSEMBLY

1. INSTALL TRANSFER DRIVEN PINION REAR BEARING

(a) Using SST and a press, press the driven pinion rear bearing (outer race) into the case.





SST : 09950-60010

09951-00620

SST : 09950-70010

09951-07150

NOTICE:
Use wooden blocks or similar objects under the case to keep it level.

(b) Apply gear oil to the driven pinion rear bearing (outer race).

2. INSTALL TRANSFER OUTPUT SHAFT WASHER

(a) Install the transfer output shaft washer to the transfer case.

HINT
Install the same washer as the one removed.

(b) Apply gear oil to the transfer output shaft washer.

3. INSTALL TRANSFER DRIVEN PINION FRONT BEARING

(a) Apply gear oil to the inner surface of the transfer case.





(b) Using SST, install the transfer driven pinion front bearing (outer race) to the transfer case.

SST : 09950-60010

09951-00610

09951-00620

09951-00650

SST : 09950-60020

09951-00680

(c) Using SST and a press, press the driven pinion front bearing (inner race) into the driven pinion.





SST : 09506-30012

4. INSTALL DRIVEN PINION

(a) Install the driven pinion to the transfer case.





(b) Install a new transfer pinion bearing spacer and driven pinion rear bearing (inner race) to the driven pinion.





HINT
Install the pinion bearing spacer with the larger inner diameter facing forward as shown in the illustration.

(c) Using SST, install a new gear nut.

SST : 09326-20011

SST : 09556-16030

without SST - Torque : 270 to 420 Nm (2751 to 4280 kgf-cm, 198 to 308 ft-lbf)

with SST - Torque : 254 to 396 Nm (2588 to 4035 kgf-cm, 186 to 291 ft-lbf)





HINT
Using a torque wrench with a fulcrum length of 840 mm (33.07 ft.).

NOTICE:
Do not stake the nut until the final preload, tooth contact and backlash adjustments are completed.

5. ADJUST DRIVEN PINION PRELOAD

(a) Using SST and a torque wrench, measure the driven pinion preload.





SST : 09326-20011

Preload (at Starting):





HINT
* Use a torque wrench with a fulcrum length of 130 mm (5.12 in.).
* If the preload is more than the specification, replace the pinion bearing spacer with a new one.
* If the preload is not sufficient, adjust the driven pinion by tightening the lock nut 5° to 10° and measuring the preload until the preload is within the specification.
* Even if the tightening torque of the gear nut exceeds the specified torque, if the preload is insufficient, loosen the gear nut once and apply rust preventive oil or hypoid gear oil to the gear nut and to the screw or bearing surface of the driven pinion. Then perform the procedure again. If the tightening torque is less than the specified torque, replace the pinon bearing spacer with a new one and adjust it.
* Do not loosen the pinion nut to reduce the preload.
6. INSTALL RING GEAR

(a) Clean the contact surface of the ring gear and transfer ring gear mounting case.





(b) Heat the ring gear in boiling water.

(c) Carefully remove the ring gear from the boiling water.

(d) Align the matchmarks and quickly install the ring gear to the transfer ring gear mounting case.





(e) for Precoated Bolt:

(1) Apply adhesive to the 10 bolts.

Adhesive:

Toyota Genuine Adhesive 1324, Three Bond 1324 or equivalent

(f) After the moisture on the ring gear has completely evaporated, install the 10 bolts.

Precoated Bolt - Torque : 112 Nm (1142 kgf-cm, 82 ft-lbf)

Uncoated Bolt - Torque : 78 Nm (790 kgf-cm, 57 ft-lbf)

NOTICE:
* Tighten the bolts evenly in a diagonal pattern using several steps.
* Tighten the bolts after the ring gear has cooled down sufficiently.
* Confirm whether the bolts are precoated or uncoated as the tightening torque is different for each type.
* In order to ensure proper sealing of the bolts, apply adhesive to the bolts and install them within 10 minutes of adhesive application.
7. INSTALL RING GEAR MOUNTING CASE BEARING

(a) Using SST and a press, press the ring gear mounting case bearing (inner race) RH into the transfer ring gear mounting case.





SST : 09950-60010

09951-00420

(b) Install the ring gear mounting case bearing (outer race) RH to the transfer ring gear mounting case.

(c) Apply gear oil to the ring gear mounting case bearing (inner race) RH.

(d) Using SST and a press, press the ring gear mounting case bearing (inner race) LH into the transfer ring gear mounting case.





SST : 09223-00010

SST : 09726-40010

(e) Install the ring gear mounting case plate washer to the case.

HINT
Use a new washer with the same thickness as the one removed when installing the bearing.

(f) Using SST and a press, press the ring gear mounting case bearing (outer race) LH into the transfer case.





SST : 09950-60010

09951-00620

SST : 09950-70010

09951-07200

(g) Apply gear oil to the ring gear mounting case bearing (outer race).

8. INSTALL TRANSFER RING GEAR MOUNTING CASE

(a) Apply gear oil to the transfer ring gear mounting case.





(b) Install the transfer ring gear mounting case to the transfer case.

9. INSTALL NO. 1 TRANSFER OUTPUT SHAFT SPACER

(a) Align the cutout on a new No. 1 transfer output shaft spacer with the transfer case hole to install it as shown in the illustration.





10. INSTALL NO. 2 TRANSFER RING GEAR MOUNTING CASE WASHER

(a) Using a brass bar and a hammer, install a new No. 2 transfer ring gear mounting case washer.





HINT
Install a new No. 2 washer with the same thickness as the one removed.

11. INSTALL BEARING CAP

(a) Install the bearing cap with the 2 bolts.





Torque : 63 Nm (644 kgf-cm, 47 ft-lbf)

12. INSPECT RING GEAR BACKLASH

(a) Set a dial indicator perpendicular to a ring gear tooth tip. Secure the driven pinion in place and move the ring gear back and forth to measure the backlash.





Backlash:

0.14 to 0.25 mm (0.00551 to 0.00984 in.)

NOTICE:
Check at least 3 positions on the circumference of the ring gear.

(b) If the backlash is outside the specified range, select a ring gear mounting case bearing LH side washer from the table and install it to meet the specified range.





Washer Thickness: mm (in.):





13. INSPECT TOOTH CONTACT BETWEEN RING GEAR AND DRIVE PINION

(a) Coat 3 or 4 teeth at the 4 different positions on the ring gear with red lead primer.





(b) Rotate the ring gear to inspect the tooth contact pattern.





(c) If the tooth contact pattern is not correct, select a new transfer output shaft washer that is thicker or thinner as necessary and recheck.





Washer Thickness:





NOTICE:
When the washer thickness is changed, readjust the backlash MF1A Transfer Case.

14. INSPECT AND ADJUST TOTAL PRELOAD

(a) Using SST and a torque wrench, measure the total preload.





SST : 09326-20011

Total Preload (at Starting):





HINT
* Use a torque wrench with a fulcrum length of 130 mm (5.12 in.).
* Turn the driven pinion counterclockwise and clockwise several times.
(b) If the preload is outside the specified range, replace the No. 2 transfer ring gear mounting case washer with one that is thicker or thinner as necessary and recheck.





Washer Thickness: mm (in.):





Washer Thickness: mm (in.):





(c) Using a chisel and a hammer, stake the gear nut.





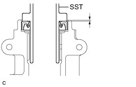
15. INSTALL TRANSFER CASE OIL SEAL RH (for RH Side)

(a) Using SST and a hammer, drive a new transfer case oil seal RH into the case until it reaches the position shown in the illustration.





SST : 09950-60010

09951-00350

09951-00580

09952-06010

SST : 09950-70010

09951-07150

Drive in depth:

33.5 to 34.5 mm (1.319 to 1.358 in.)

NOTICE:
Do not install the oil seal at an angle.

(b) Apply a small amount of MP grease to the lip of the transfer case oil seal RH.

16. INSTALL TRANSFER CASE OIL SEAL

(a) Using SST and a hammer, drive a new transfer case oil seal into the transfer case until it reaches the position shown in the illustration.





SST : 09608-10010

SST : 09950-70010

09951-07150

Drive in depth:

9.5 to 10.5 mm (0.374 to 0.413 in.)

(b) Apply a small amount of MP grease to the lip of the transfer case oil seal.

17. INSTALL TRANSFER CASE REAR OIL SEAL

(a) Using SST and a hammer, drive a new transfer case rear oil seal into the extension housing until it reaches the position shown in the illustration.





SST : 09325-20010

Drive in depth:

1.1 to 1.9 mm (0.0433 to 0.0748 in.)

(b) Apply a small amount of MP grease to the lip of the transfer case rear oil seal.

18. INSTALL TRANSFER EXTENSION HOUSING DUST DEFLECTOR

(a) Using SST and a press, press in the extension housing dust deflector until it contacts the installation surface as shown in the illustration.

SST : 09950-60020

09951-00810

SST : 09950-70010

09951-07150





19. INSTALL TRANSFER EXTENSION HOUSING SUB-ASSEMBLY

(a) Remove any FIPG material and be careful not to drop oil on the contact surfaces of the transfer extension housing sub-assembly and the transfer case.





(b) Degrease the surface with a non-residue solvent.

(c) Apply FIPG to the transfer extension housing sub-assembly.

FIPG:

Toyota Genuine Seal Packing 1281, Three Bond 1281 or equivalent

(d) Install the transfer extension housing sub-assembly with the 4 bolts to the transfer case.





Torque : 26 Nm (260 kgf-cm, 19 ft-lbf)

NOTICE:
Assemble transfer extension housing sub-assembly within 10 minutes after the FIPG application.

20. SEPARATE TRANSFER ASSEMBLY

(a) Remove the transfer assembly from the overhaul attachment.

21. INSTALL TRANSFER CASE STRAIGHT PIN

(a) Using a plastic hammer, drive the 4 transfer case straight pins into the transfer case positions shown in the illustration.





22. INSTALL TRANSFER DYNAMIC DAMPER

(a) Install the transfer dynamic damper with the 3 bolts to the transfer extension housing sub-assembly.





Torque : 26 Nm (260 kgf-cm, 19 ft-lbf)

23. INSTALL TRANSFER CASE BREATHER PLUG

(a) Using SST and a hammer, tap in a new breather plug.





SST : 09820-00031

24. INSTALL BREATHER OIL DEFLECTOR

(a) Install the breather oil deflector with the bolt.





Torque : 6.5 Nm (66 kgf-cm, 58 in-lbf)

25. INSTALL NO. 1 TRANSFER CASE COVER

(a) Remove any FIPG material and be careful not to drop oil on the contact surfaces of the No. 1 transfer case cover and the transfer case.





(b) Degrease the surface with a non-residue solvent.

(c) Apply FIPG to the No. 1 transfer case cover.

FIPG:

Toyota Genuine Seal Packing 1281, Three Bond 1281 or equivalent

(d) Install the No. 1 transfer case cover with the 8 bolts.





Torque : 20 Nm (200 kgf-cm, 14 ft-lbf)

NOTICE:
* Before pouring transfer oil, leave it at least an hour.
* Assemble the No. 1 transfer case cover within 10 minutes after the FIPG application.
26. INSTALL TRANSFER DRAIN PLUG

(a) Install a new gasket to the transfer drain plug.





(b) Install the transfer drain plug to the transfer assembly.

Torque : 49 Nm (500 kgf-cm, 36 ft-lbf)

27. INSTALL NO. 1 TRANSFER CASE PLUG

(a) Install a new gasket to the No. 1 transfer case plug.





(b) Install the No. 1 transfer case plug to the transfer assembly.

Torque : 49 Nm (500 kgf-cm, 36 ft-lbf)

28. INSTALL NO. 2 TRANSFER CASE PLUG

(a) Install a new gasket to the No. 2 transfer case plug.





(b) Install the No. 2 transfer case plug to the transfer assembly.

Torque : 49 Nm (500 kgf-cm, 36 ft-lbf)

29. INSTALL TRANSFER AND TRANSAXLE SETTING STUD BOLT

(a) Install the 4 transfer and transaxle setting stud bolts to the transfer case positions shown in the illustration.

Torque : 39 Nm (400 kgf-cm, 29 ft-lbf)

HINT
Install the shorter end of the stud bolts to the transfer.





Stud bolt length:

a
30 mm (1.1811 in.)

b
12 mm (0.4724 in.)

c
22 mm (0.8661 in.)