Curiosii for ever!: Car repair manuals for everyone.

Transaxle Unit





U140F AUTOMATIC TRANSMISSION / TRANSAXLE: AUTOMATIC TRANSAXLE UNIT: INSPECTION

1. INSPECT TRANSMISSION OIL CLEANER MAGNET

(a) Remove the magnets and use them to collect any steel chips. Examine the chips and particles in the pan and on the magnet to determine what type of wear has occurred in the transaxle.





Result:

Steel (magnetic)
bearing, gear, and plate wear

Brass (non-magnetic)
bushing wear

2. INSPECT INPUT SHAFT END PLAY

(a) Using a dial indicator, measure the input shaft end play.





Standard end play:

0.27 to 1.24 mm (0.0106 to 0.0488 in.)

3. INSPECT PACK CLEARANCE OF FORWARD CLUTCH

(a) Install the forward clutch assembly onto the oil pump.





NOTICE:
Be careful not to damage the oil seal ring of the oil pump.

(b) Using a dial indicator, measure the forward clutch pack clearance while applying and releasing compressed air (392 kPa, 4.0 kgf/cm2, 57 psi).

Pack clearance:

1.74 to 2.08 mm (0.0685 to 0.0819 in.)

(c) If the pack clearance is less than the minimum, the parts may have been assembled incorrectly. Check and reassemble them again. If the pack clearance is still not as specified, select another flange.

HINT
* As the opening is large, cover it with a piece of cloth to prevent the compressed air from being released.
* There are 5 different thicknesses of flanges available.

Flange Thickness:





4. INSPECT FORWARD MULTIPLE DISC CLUTCH DISC

(a) Check if the contact surfaces of the discs, plates and flange are worn or burnt.





(b) If necessary, replace them.

NOTICE:
* If the lining of any disc is peeled off or discolored, or even if part of the groove is damaged, replace all discs.
* Before assembling new discs, soak them in ATF for at least 15 minutes.
5. INSPECT FORWARD CLUTCH RETURN SPRING SUB-ASSEMBLY

(a) Using a vernier caliper, measure the free length of the spring together with the spring seat.





Standard free length:

28.23 mm (1.11 in.)

(b) If the free length is shorter than the standard free length, replace the forward clutch return spring sub-assembly.

6. INSPECT FORWARD CLUTCH PISTON SUB-ASSEMBLY

(a) Shake the piston to check that the check ball is not stuck.





(b) Check that air does not leak from the valve when applying compressed air (392 kPa, 4.0 kgf*cm2, 57 psi).

7. INSPECT MULTIPLE DISC CLUTCH HUB

(a) Using a caliper gauge, measure the inside diameter of the multiple disc clutch hub bushing.





Standard inside diameter:

23.03 to 23.04 mm (0.906 to 0.907 in.)

Maximum inside diameter:

23.09 mm (0.909 in.)

NOTICE:
* If the inside diameter is greater than maximum, replace the multiple disc clutch hub with a new one.
* Check the contact surface of the multiple disc clutch hub busing. If any scratches or discoloration is found, replace the multiple disc clutch hub with a new one.
8. INSPECT UNDERDRIVE PLANETARY GEAR PRELOAD

(a) Using SST, secure the underdrive planetary gear.





SST : 09387-00050

(b) Using SST and a torque wrench, measure the underdrive planetary gear preload while rotating the torque wrench at 60 rpm.





SST : 09387-00050

Turning torque at 60 rpm - Torque : 1.5 to 2.6 Nm (15 to 26 kgf-cm, 13 to 23 in-lbf)

HINT
Use a torque wrench with a fulcrum length of 160 mm (6.30 in.)

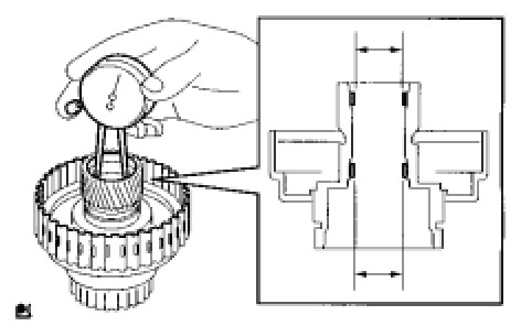
9. INSPECT PACK CLEARANCE OF UNDERDRIVE CLUTCH

(a) Install the underdrive clutch assembly to the transaxle.





NOTICE:
Be careful not to damage the oil seal rings.

(b) Install a dial indicator as shown in the illustration.

(c) Measure the underdrive clutch pack clearance while applying and releasing compressed air (392 kPa, 4.0 kgf/cm2, 57 psi)





Pack clearance:

1.51 to 1.90 mm (0.0594 to 0.0748 in.)

(d) If the pack clearance is less than the minimum, the parts may have been assembled incorrectly. Check and reassemble them again. If the pack clearance is still not as specified, select another flange.

HINT
There are 3 different thicknesses of flanges available.

Flange Thickness:





10. INSPECT NO. 1 UNDERDRIVE CLUTCH DISC

(a) Check if the contact surfaces of the discs, plates and flange are worn or burnt.





(b) If necessary, replace them.

NOTICE:
* If the lining of any disc is peeled off or discolored, or even if part of the groove is damaged, replace all discs.
* Before assembling new discs, soak them in ATF for at least 15 minutes.
11. INSPECT UNDERDRIVE CLUTCH DRUM SUB-ASSEMBLY

(a) Using a caliper gauge, measure the inside diameter of the underdrive clutch drum bush.





Standard drum bush inside diameter:

37.06 to 37.08 mm (1.459 to 1.4598 in.)

Maximum drum bush inside diameter:

37.13 mm (1.461 in.)

(b) If the inside diameter is greater then the maximum, replace the underdrive clutch drum sub-assembly.

12. INSPECT UNDERDRIVE CLUTCH RETURN SPRING SUB-ASSEMBLY

(a) Using a vernier caliper, measure the free length of the spring together with the spring seat.





Standard free length:

17.14 mm (0.674 in.)

(b) If the free length is shorter than the standard free length, replace the underdrive clutch return spring sub-assembly.

13. INSPECT NO. 2 UNDERDRIVE CLUTCH DISC

(a) Check if the contact surfaces of the discs, plates and flange are worn or burnt.





(b) If necessary, replace them.

NOTICE:
* If the lining of any disc is peeled off or discolored, or even if part of the groove is damaged, replace all discs.
* Before assembling new discs, soak them in ATF for at least 15 minutes.
14. INSPECT UNDERDRIVE BRAKE RETURN SPRING SUB-ASSEMBLY

(a) Using a vernier caliper, measure the free length of the spring together with the spring seat.





Standard free length:

14.04 mm (0.552 in.)

(b) If the free length is shorter than the standard free length, replace the underdrive brake return spring sub-assembly.

15. INSPECT PACK CLEARANCE OF DIRECT CLUTCH

(a) Install the direct clutch and needle roller bearing to the transaxle rear cover.





(b) Using a dial indicator, measure the direct clutch pack clearance while applying and releasing compressed air (392 kPa, 4.0 kgf/cm2, 57 psi).

Pack clearance:

0.52 to 0.82 mm (0.0204 to 0.0322 in.)

(c) If the pack clearance is less than the minimum, the parts may have been assembled incorrectly. Check and reassemble them again. If the pack clearance is still not as specified, select another flange.

HINT
There are 6 different thicknesses of flanges available.

Flange Thickness:





16. INSPECT DIRECT MULTIPLE DISC CLUTCH DISC

(a) Check if the contact surfaces of the discs, plates and flange are worn or burnt.





(b) If necessary, replace them.

NOTICE:
* If the lining of any disc is peeled off or discolored, or even if part of the groove is damaged, replace all discs.
* Before assembling new discs, soak them in ATF for at least 15 minutes.
17. INSPECT DIRECT CLUTCH RETURN SPRING SUB-ASSEMBLY

(a) Using a vernier caliper, measure the free length of the spring together with the spring seat.





Standard free length:

22.58 mm (0.888 in.)

(b) If the free length is shorter than the standard free length, replace the direct clutch return spring sub-assembly.

18. INSPECT 2ND BRAKE CLUTCH DISC

(a) Check if the contact surfaces of the discs, plates and flange are worn or burnt.





(b) If necessary, replace them.

NOTICE:
* If the lining of any disc is peeled off or discolored, or even if part of the groove is damaged, replace all discs.
* Before assembling new discs, soak them in ATF for at least 15 minutes.
19. INSPECT 2ND BRAKE PISTON RETURN SPRING SUB-ASSEMBLY

(a) Using a vernier caliper, measure the free length of the spring together with the spring seat.





Standard free length:

16.61 mm (0.653 in.)

(b) If the free length is shorter than the standard free length, replace the 2nd brake piston return spring sub-assembly.

20. INSPECT 1ST AND REVERSE BRAKE CLUTCH DISC

(a) Check if the contact surfaces of the discs, plates and flange are worn or burnt.





(b) If necessary, replace them.

NOTICE:
* If the lining of any disc is peeled off or discolored, or even if part of the groove is damaged, replace all discs.
* Before assembling new discs, soak them in ATF for at least 15 minutes.
21. INSPECT 1ST AND REVERSE BRAKE RETURN SPRING SUB-ASSEMBLY

(a) Using a vernier caliper, measure the free length of the spring together with the spring seat.





Standard free length:

15.51 mm (0.610 in.)

(b) If the free length is shorter than the standard free length, replace the 1st and reverse brake return spring sub-assembly.

22. INSPECT UNDERDRIVE ONE-WAY CLUTCH ASSEMBLY

(a) Install the underdrive clutch assembly to the one-way clutch. Make sure that the underdrive one-way clutch turns freely counterclockwise and locks when turned clockwise.