Curiosii for ever!: Car repair manuals for everyone.

Cylinder Block Assembly: Testing and Inspection





2AZ-FE ENGINE MECHANICAL: CYLINDER BLOCK: INSPECTION

1. INSPECT CONNECTING ROD THRUST CLEARANCE

(a) Install the connecting rod cap Reassembly.

(b) Using a dial indicator, measure the thrust clearance while moving the connecting rod back and forth.





Standard thrust clearance:

0.160 to 0.362 mm (0.00630 to 0.0143 in.)

Maximum thrust clearance:

0.362 mm (0.0143 in.)

(c) If the thrust clearance is greater than the maximum, replace the connecting rod assemblies as necessary. If necessary, replace the crankshaft.

2. INSPECT CONNECTING ROD OIL CLEARANCE

(a) Clean the crank pin and bearing.

(b) Check the crank pin and bearing for pitting and scratches.

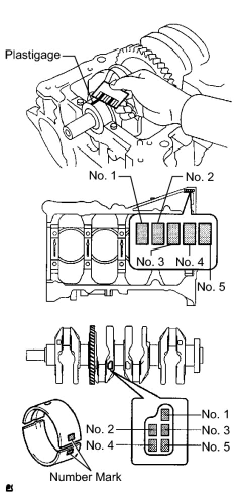
(c) Lay a strip of Plastigage on the crank pin.





(d) Check that the front mark of the connecting rod cap is facing forward.





(e) Install the connecting rod cap Reassembly.

NOTICE:
Do not turn the crankshaft.

(f) Remove the 2 bolts and connecting rod cap Disassembly.

(g) Measure the Plastigage at its widest point.





Standard oil clearance:

0.024 to 0.048 mm (0.000945 to 0.00189 in.)

Maximum oil clearance:

0.063 mm (0.00248 in.)

NOTICE:
Completely remove the Plastigage after the measurement.

(h) If the oil clearance is greater than the maximum, replace the connecting rod bearings. If necessary, inspect the crankshaft.

HINT
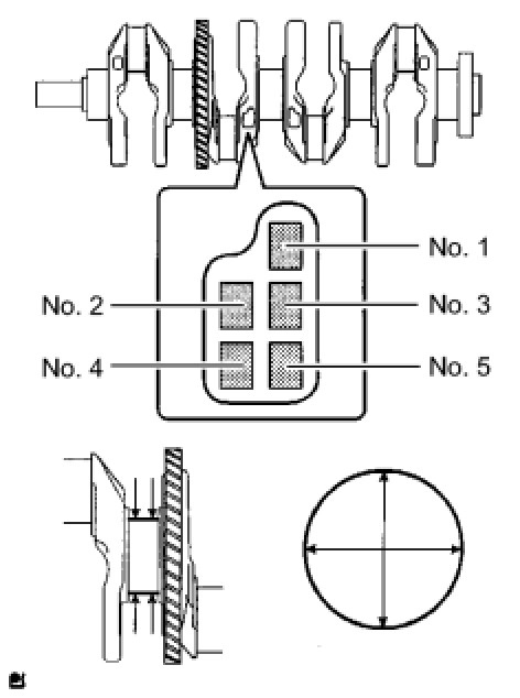
If replacing a bearing, replace it with one that has the same number as its respective connecting rod cap. Each bearing's standard thickness is indicated by a 1, 2, or 3 mark on its surface.

Standard Connecting Rod Large End Bore Diameter:





Standard Connecting Rod Bearing Thickness:





Standard crankshaft pin diameter:

47.990 to 48.000 (1.8894 to 1.8898 in.)

3. INSPECT CYLINDER BLOCK FOR WARPAGE

(a) Using a precision straightedge and feeler gauge, measure the warpage of the surface that contacts the cylinder head gasket.





Maximum warpage:

0.05 mm (0.00197 in.)

(b) If the warpage is greater than the maximum, replace the cylinder block.

4. INSPECT CYLINDER BORE

(a) Using a cylinder gauge, measure the cylinder bore diameter at positions A and B in the thrust and axial directions.





Standard diameter:

88.500 to 88.513 mm (3.4843 to 3.4847 in.)

Maximum diameter:

88.613 mm (3.4887 in.)

(b) If the average diameter of the 4 positions is greater than the maximum, replace the cylinder block.

5. INSPECT PISTON

(a) Using a gasket scraper, remove the carbon from the top of the piston.





NOTICE:
Do not damage the piston.

(b) Using a groove cleaning tool or a broken ring, clean the piston ring grooves.





(c) Using a brush and solvent, thoroughly clean the piston.





NOTICE:
Do not use a wire brush.

(d) Using a micrometer, measure the piston diameter at right angles to the piston pin hole, and at the piston 44.4 mm (1.748 in.) from the piston head.





Standard piston diameter:

88.469 to 88.479 mm (3.4830 to 3.4834 in.)

(e) If the diameter is not as specified, replace the piston.

6. INSPECT PISTON OIL CLEARANCE

(a) Subtract the piston diameter measurement from the cylinder bore diameter measurement.

Standard oil clearance:

0.021 to 0.044 mm (0.000827 to 0.00173 in.)

Maximum oil clearance:

0.10 mm (0.00394 in.)

(b) If the oil clearance is greater than the maximum, replace all the pistons. If necessary, replace the cylinder block.

7. INSPECT RING GROOVE CLEARANCE

(a) Using a feeler gauge, measure the clearance between a new piston ring and the wall of the ring groove.





Standard Ring Groove Clearance:





(b) If the groove clearance is not as specified, replace the piston.

8. INSPECT PISTON RING END GAP

(a) Using a piston, push the piston ring a little beyond the bottom of the ring travel, 110 mm (4.33 in.) from the top of the cylinder block.





(b) Using a feeler gauge, measure the end gap.





Standard End Gap:





Maximum End Gap:





(c) If the end gap is greater than the maximum, replace the piston ring. If the end gap is greater than the maximum with a new piston ring, replace the cylinder block.

9. INSPECT PISTON PIN OIL CLEARANCE

(a) Using a caliper gauge, measure the piston pin bore diameter.





Standard piston pin bore diameter:

22.001 to 22.010 mm (0.8662 to 0.8665 in.)

:





(b) If the diameter is not as specified, replace the piston.

(c) Using a micrometer, measure the piston pin diameter.





Standard piston pin diameter:

21.997 to 22.006 mm (0.8660 to 0.8664 in.)

:





(d) If the diameter is not as specified, replace the piston pin.

(e) Using a caliper gauge, measure the connecting rod small end bore diameter.





Standard connecting rod small end bore diameter:

22.005 to 22.014 mm (0.8663 to 0.8667 in.)

:





(f) If the diameter is not as specified, replace the connecting rod.

(g) Subtract the piston pin diameter measurement from the piston pin bore diameter measurement.





Standard oil clearance:

0.001 to 0.007 mm (0.00004 to 0.0003 in.)

Maximum oil clearance:

0.010 mm (0.0004 in.)

HINT
Two different engine models manufactured at different factories are available for this vehicle.

check the engine serial number. Confirm the factory at which the engine was manufactured according to the following table.





(h) If the oil clearance is greater than the maximum, replace the connecting rod. If necessary, replace the piston and piston pin as a set.

(i) Subtract the piston pin diameter measurement from the connecting rod small end bore diameter measurement.

Standard oil clearance:

0.005 to 0.011 mm (0.0002 to 0.0004 in.)

Maximum oil clearance:

0.011 mm (0.0004 in.)

(j) If the oil clearance is greater than the maximum, replace the connecting rod. If necessary, replace the connecting rod and piston pin as a set.

10. INSPECT CONNECTING ROD BOLT

(a) Using a vernier caliper, measure the tension portion diameter of the bolt.





Standard diameter:

7.2 to 7.3 mm (0.283 to 0.287 in.)

Minimum diameter:

7.0 mm (0.276 in.)

(b) If the diameter is less than the minimum, replace the connecting rod bolt.

11. INSPECT CONNECTING ROD SUB-ASSEMBLY

(a) Using a connecting rod aligner and feeler gauge, check the connecting rod alignment.





(1) Check for misalignment.

Maximum misalignment:

0.05 mm (0.0020 in.) per 100 mm (3.94 in.)

(2) If the misalignment is greater than the maximum, replace the connecting rod.

(3) Check for twist.





Maximum twist:

0.05 mm (0.0020 in.) per 100 mm (3.94 in.)

(4) If the twist is greater than the maximum, replace the connecting rod.

12. INSPECT CRANKSHAFT

(a) Using a dial indicator and V-blocks, measure the circle runout as shown in the illustration.





Maximum circle runout:

0.03 mm (0.0012 in.)

(b) If the circle runout is greater than the maximum, replace the crankshaft.

(c) Using a micrometer, measure the diameter of each main journal.





Standard diameter:

54.988 to 55.000 mm (2.1649 to 2.1654 in.)

(d) If the diameter is not as specified, check the crankshaft oil clearance.

(e) Check each main journal for taper and distortion as shown in the illustration.

Maximum taper and distortion:

0.003 mm (0.0001 in.)

(f) If the taper and distortion are greater than the maximum, replace the crankshaft.

Standard Diameter (Reference):





(g) Using a micrometer, measure the diameter of each crank pin.





Standard diameter:

47.990 to 48.000 mm (1.8894 to 1.8898 in.)

(h) If the diameter is not as specified, check the connecting rod oil clearance.

(i) Inspect each crank pin for taper and distortion as shown in the illustration.

Maximum taper and distortion:

0.003 mm (0.000118 in.)

(j) If the taper and distortion are greater than the maximum, replace the crankshaft.

13. INSPECT CRANKSHAFT THRUST CLEARANCE

(a) Install the main bearing cap Reassembly.

(b) Using a dial indicator, measure the thrust clearance while prying the crankshaft back and forth with a screwdriver.





Standard thrust clearance:

0.04 to 0.24 mm (0.00157 to 0.00945 in.)

Maximum thrust clearance:

0.30 mm (0.0118 in.)

(c) If the thrust clearance is greater than the maximum, replace the thrust washers as a set.

HINT
The thrust washer thickness is 1.93 to 1.98 mm (0.0760 to 0.0780 in.).

14. INSPECT CRANKSHAFT OIL CLEARANCE

(a) Check the crank journal and bearing for pitting and scratches.

(b) Install the crankshaft bearing Reassembly.

(c) Place the crankshaft on the cylinder block.

(d) Lay a strip of Plastigage across each journal.





(e) Examine the front marks and numbers and install the bearing caps on the cylinder block.

HINT
A number is marked on each main bearing cap to indicate the installation position.

(f) Install the main bearing caps Reassembly.

NOTICE:
Do not turn the crankshaft.

(g) Remove the main bearing caps Disassembly.

(h) Measure the Plastigage at its widest point.





Standard oil clearance:

0.017 to 0.040 mm (0.000669 to 0.00157 in.)

Maximum oil clearance:

0.060 mm (0.00236 in.)

NOTICE:
Remove the Plastigage completely after the measurement.

(i) If the oil clearance is greater than the maximum, replace the crankshaft bearing. If necessary, replace the crankshaft.

HINT
* If replacing a bearing, select a new one with the same number. If the number of the bearing cannot be determined, calculate the correct bearing number by adding together the numbers imprinted on the cylinder block and crankshaft. Then select a new bearing with the calculated number. There are 4 sizes of standard bearings, marked "1", "2", "3" and "4" accordingly.
* EXAMPLE: Cylinder block "3" + Crankshaft "5" = Total number 8 (Use bearing "3")






Standard Cylinder Block Journal Bore Diameter:





Standard Crankshaft Journal Diameter:





Standard Bearing Center Wall Thickness:





15. INSPECT CRANKSHAFT BEARING CAP SET RING PIN

(a) Using a vernier caliper, measure the tension portion diameter of the bolts.





Standard diameter:

7.5 to 7.6 mm (0.295 to 0.299 in.)

Minimum diameter:

7.5 mm (0.295 in.)

(b) If the diameter is less than the minimum, replace the bolt.