Curiosii for ever!: Car repair manuals for everyone.

Installation





2AZ-FE ENGINE CONTROL: IGNITION COIL AND SPARK PLUG: INSTALLATION

1. INSTALL SPARK PLUG

(a) Install the 4 spark plugs.





Torque : 19 Nm (194 kgf-cm, 14 ft-lbf)

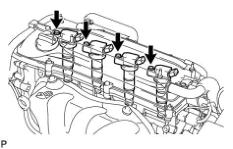
2. INSTALL IGNITION COIL ASSEMBLY

(a) Install the 4 ignition coils with the 4 bolts.





Torque : 9.0 Nm (92 kgf-cm, 80 in-lbf)

(b) Connect the 4 ignition coil connectors.





3. INSTALL NO. 1 ENGINE COVER SUB-ASSEMBLY Installation