Curiosii for ever!: Car repair manuals for everyone.

Engine Switch Indicator Circuit





2GR-FE STARTING: SMART KEY SYSTEM: Engine Switch Indicator Circuit
- Engine Switch Indicator Circuit

DESCRIPTION

Engine start conditions or system malfunctions can be checked by the status of the engine switch indicator light.

Engine switch indicator light condition:

Engine switch indicator light condition::





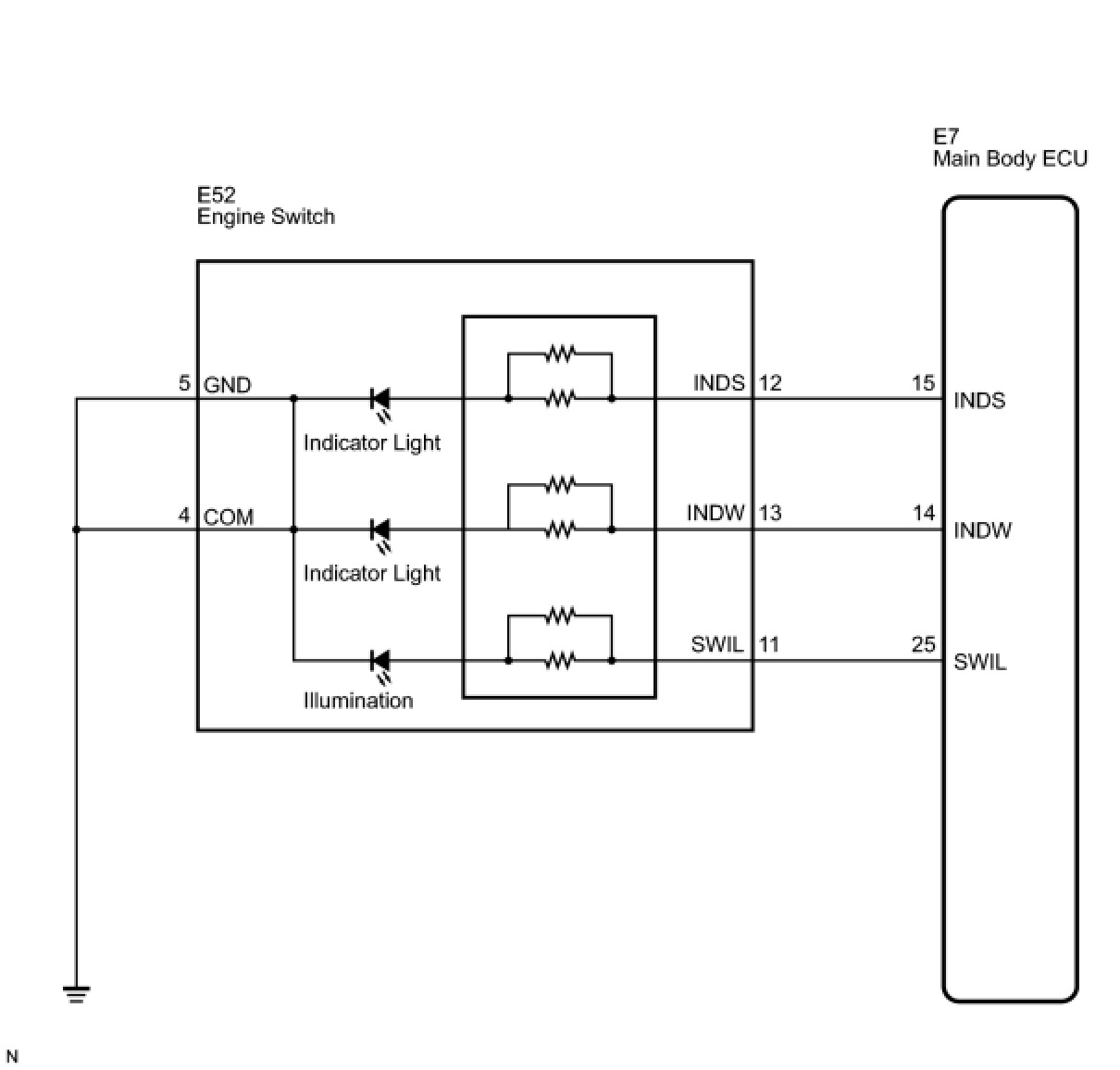
WIRING DIAGRAM





INSPECTION PROCEDURE

PROCEDURE

1. INSPECT ENGINE SWITCH

(a) Remove the engine switch.





(b) Apply battery voltage between the terminals of the switch, and check the illumination condition of the switch.

NOTICE:
* If the positive (+) lead and the negative (-) lead are incorrectly connected, the engine switch indicator will not illuminate.
* If the voltage is too low, the indicator will not illuminate.

OK:





NG -- REPLACE ENGINE SWITCH
OK -- Continue to next step.

2. CHECK WIRE HARNESS (ENGINE SWITCH - MAIN BODY ECU AND BODY GROUND)

(a) Disconnect the E52 switch connector.





(b) Disconnect the E7 ECU connector.

(c) Measure the resistance according to the value(s) in the table below.

Standard resistance:





NG -- REPAIR OR REPLACE HARNESS OR CONNECTOR

OK -- REPLACE MAIN BODY ECU