Curiosii for ever!: Car repair manuals for everyone.

Sound Signal Circuit Between Navigation Receiver Assembly and Stereo Component Amplifier





NAVIGATION: NAVIGATION SYSTEM: Sound Signal Circuit between Navigation Receiver Assembly and Stereo Component Amplifier
- Sound Signal Circuit between Navigation Receiver Assembly and Stereo Component Amplifier

DESCRIPTION

The navigation receiver assembly sends a sound signal to the stereo component amplifier through this circuit.

The sound signal that has been sent is amplified by the stereo component amplifier, and then is sent to the speakers.

If there is an open or short in the circuit, sound cannot be heard from the speakers even if there is no malfunction in the stereo component amplifier or speakers.

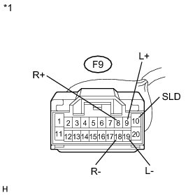
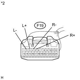
WIRING DIAGRAM





INSPECTION PROCEDURE

PROCEDURE

1. CHECK HARNESS AND CONNECTOR (NAVIGATION RECEIVER - STEREO COMPONENT AMPLIFIER)

(a) Disconnect the navigation receiver assembly connector.





(b) Disconnect the stereo component amplifier connector.





(c) Measure the resistance according to the value(s) in the table below.

Standard Resistance:





Text in Illustration

Text in Illustration:





NG -- REPAIR OR REPLACE HARNESS OR CONNECTOR

OK -- PROCEED TO NEXT SUSPECTED AREA SHOWN IN PROBLEM SYMPTOMS TABLE Problem Symptoms Table