Curiosii for ever!: Car repair manuals for everyone.

VC Output Circuit






2AR-FE ENGINE CONTROL SYSTEM: SFI SYSTEM: VC Output Circuit
- VC Output Circuit

DESCRIPTION

The ECM constantly generates 5 V of power from battery voltage supplied to the +B (BATT) terminal to operate the microprocessor. The ECM also provides this power to the sensors through the VC output circuit.





When the VC circuit is shorted, the microprocessor in the ECM and sensors that are supplied with power through the VC circuit are inactivated because the power is not supplied from the VC circuit. Under this condition, the system does not start up and the MIL does not illuminate even if the system malfunctions.

HINT
Under normal conditions, the MIL is illuminated for several seconds when the ignition switch is first turned to ON. The MIL turns off when the engine is started.

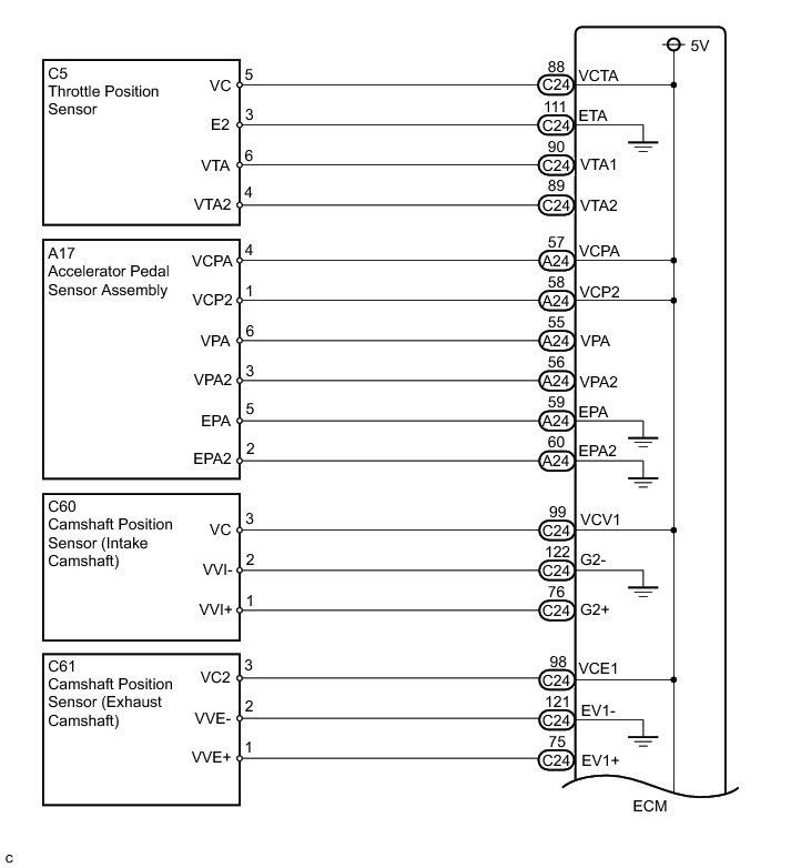
WIRING DIAGRAM









INSPECTION PROCEDURE

PROCEDURE

1. CHECK MIL

(a) Check that the Malfunction Indicator Lamp (MIL) turns on when turning the ignition switch to ON.

OK:

MIL turns on.

NG -- CHECK COMMUNICATION BETWEEN TECHSTREAM AND ECM

OK -- PROCEED TO NEXT SUSPECTED AREA SHOWN IN PROBLEM SYMPTOMS TABLE

2. CHECK COMMUNICATION BETWEEN TECHSTREAM AND ECM

(a) Connect the Techstream to the DLC3.

(b) Turn the ignition switch to ON.

(c) Turn the Techstream on.

(d) Check the communication between the Techstream and ECM.

Result:





B -- GO TO MIL CIRCUIT
A -- Continue to next step.

3. CHECK MIL (THROTTLE POSITION SENSOR)

(a) Disconnect the throttle body connector.

(b) Turn the ignition switch to ON.

(c) Check the MIL.

Result:





(d) Reconnect the throttle body connector.

B -- REPLACE THROTTLE BODY
A -- Continue to next step.

4. CHECK MIL (ACCELERATOR PEDAL POSITION SENSOR)

(a) Disconnect the accelerator pedal position sensor connector.

(b) Turn the ignition switch to ON.

(c) Check the MIL.

Result:





(d) Reconnect the accelerator pedal position sensor connector.

B -- REPLACE ACCELERATOR PEDAL SENSOR ASSEMBLY
A -- Continue to next step.

5. CHECK MIL (CANISTER PUMP MODULE)

(a) Disconnect the canister pump module connector.

(b) Turn the ignition switch to ON.

(c) Check the MIL.

Result:





(d) Reconnect the canister pump module connector.

C -- REPLACE TRAP WITH OUTLET VALVE CANISTER ASSEMBLY

B -- REPLACE CANISTER
A -- Continue to next step.

6. CHECK MIL (CAMSHAFT POSITION SENSOR FOR INTAKE CAMSHAFT)

(a) Disconnect the camshaft position sensor for intake side connector.

(b) Turn the ignition switch to ON.

(c) Check the MIL.

Result:





B -- REPLACE CAMSHAFT POSITION SENSOR (FOR INTAKE CAMSHAFT)
A -- Continue to next step.

7. CHECK MIL (CAMSHAFT POSITION SENSOR FOR EXHAUST CAMSHAFT)

(a) Disconnect the camshaft position sensor for exhaust side connector.

(b) Turn the ignition switch to ON.

(c) Check the MIL.

Result:





B -- REPLACE CAMSHAFT POSITION SENSOR (FOR EXHAUST CAMSHAFT)
A -- Continue to next step.

8. CHECK MIL (INTAKE AIR CONTROL VALVE ACTUATOR)

(a) Disconnect the intake air control valve actuator connector.

(b) Turn the ignition switch to ON.

(c) Check the MIL.

Result:





B -- REPLACE INTAKE AIR CONTROL VALVE ACTUATOR
A -- Continue to next step.

9. CHECK HARNESS AND CONNECTOR (VC CIRCUIT)

(a) Disconnect the throttle body connector.

(b) Disconnect the accelerator pedal position sensor connector.

(c) Disconnect the canister pump module connector.

(d) Disconnect the camshaft position sensor for intake side connector.

(e) Disconnect the camshaft position sensor for exhaust side connector.

(f) Disconnect the intake air control valve actuator connector.

(g) Disconnect the ECM connectors.





(h) Measure the resistance according to the value(s) in the table below.

Standard Resistance (Check for Short):





(i) Reconnect the throttle body connector.

(j) Reconnect the accelerator pedal position sensor connector.

(k) Reconnect the canister pump module connector.

(l) Reconnect the camshaft position sensor for intake side connector.

(m) Reconnect the camshaft position sensor for exhaust side connector.

(n) Reconnect the intake air control valve actuator connector.

(o) Reconnect the ECM connectors.

NG -- REPAIR OR REPLACE HARNESS OR CONNECTOR

OK -- REPLACE ECM

10. PROCEED TO NEXT SUSPECTED AREA SHOWN IN PROBLEM SYMPTOMS TABLE Symptom Related Diagnostic Procedures

11. GO TO MIL CIRCUIT MIL Circuit

12. REPLACE THROTTLE BODY Removal

13. REPLACE ACCELERATOR PEDAL SENSOR ASSEMBLY Removal

14. REPLACE CANISTER Removal

15. REPLACE CAMSHAFT POSITION SENSOR (FOR INTAKE CAMSHAFT) Removal

16. REPLACE CAMSHAFT POSITION SENSOR (FOR EXHAUST CAMSHAFT) Removal

17. REPLACE INTAKE AIR CONTROL VALVE ACTUATOR Removal

18. REPAIR OR REPLACE HARNESS OR CONNECTOR

19. REPLACE ECM Removal

20. REPLACE TRAP WITH OUTLET VALVE CANISTER ASSEMBLY Removal