Curiosii for ever!: Car repair manuals for everyone.

Distance Sensor: Adjustments





CRUISE CONTROL: LASER SENSOR: ADJUSTMENT

CAUTION:
* Do not stare at the luminous portion of the laser during adjustment. The intensity of the laser light is low, but it may result in loss of sight.
* If the operation is not carried out as specified, there may be a risk of exposure to hazardous radiation.
HINT
* After replacing the ECM on vehicles with a dynamic laser cruise control system, it is necessary to initialize the ECM so that the ECM can recognize the dynamic laser cruise control system Installation.
* After replacing the distance control ECU, it is necessary to initialize the distance control ECU so that the ECU can recognize the specification of the vehicle Installation.
* There is a limitation on laser beam axis adjustment.
* Since the laser sensor is installed in the bumper reinforcement, it is important that the laser sensor, bumper reinforcement, and other related parts are installed properly.
* When the sensor is removed from the vehicle for trouble diagnosis or repair, it is necessary to adjust the laser beam axis after the operation.
1. ADJUST LASER SENSOR

NOTICE:
* Perform measurement indoors on a level ground and in front of a blank wall. Park the vehicle at least 9 m (29.53 ft.) from the wall. When performing adjustment outdoors, make sure that it is not raining or snowing.
* Check that there are no reflective materials in the surroundings or on the ground.
* If it is impossible to secure a distance of approximately 9 m (29.53 ft) in front of the vehicle, be sure to secure at least 7 m (22.97 ft) from the vehicle, and cover the area marked [A] with a black cloth. If not covered with a black cloth, the laser sensor may detect something other than the target and it will fail to adjust properly.





(a) Preparation for adjusting the laser beam axis

(1) Adjust the tire pressure properly.

Component Tests and General Diagnostics

(2) Luggage in the vehicle, such as in the trunk, should be unloaded.

(3) Clean the light-luminous and light-receiving portions of the laser sensor.

(4) Prepare a 10 m (32.81 ft) string, a string with a sharp-pointed weight (plumb bob), and a 5 m (16.41 ft) tape measure.

(b) Reflector (SST) placement





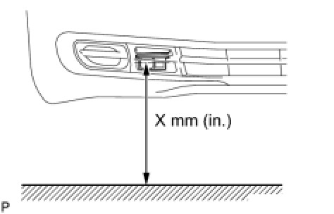
(1) Measure the height to the center of the laser luminous portion.

(2) Adjust the center height of the reflector 48 mm (1.89 in.) higher than the center of the luminous portion.





SST : 09870-60000

09870-60010

09870-60020

NOTICE:
Adjust it as precise as possible.

(3) From the center (center of the emblem) of the front and rear bumpers, hang down the string with the plumb bob and mark the center points (both front and rear) of the vehicle on the ground.





(4) Extend the 10 m string from the rear center mark forward through the front center mark. Make a mark 5 m (16.41 ft) forward of the front marked point.

HINT
Fix one end of the string to the rear center mark and move the other end right and left at a point 5 m (16.41 ft) from the front of the vehicle. Make a 5 m (16.41 ft) mark when the string and the front vehicle center mark intersect.





(5) From the 5 m (16.41 ft) marked position, measure 471 mm (18.54 in.) to the right and place the reflector there.

NOTICE:
Perform it as precise as possible.





(c) Adjustment of the laser beam axis

(1) Connect the Techstream to the Data Link Connector 3 (DLC3).

(2) Turn the ignition switch on (IG).

(3) Turn the Techstream main switch on, and turn the cruise control main switch on.

(4) Select "Connect to Vehicle".

(5) Select each item on the display screen and proceed to the next screen.

(6) Under "System Selection Menu", select "Laser Cruise".

(7) Select "Utility".

(8) Select "Beam Axis Adjustment" and proceed to the next screen.

(9) Follow the tester display, and continue with the adjustment.

(10) Confirm the current value of the laser beam (The default reading is 6.3° when the reflector position is out of range.)





HINT
* Check that Upper Side or Lower Side is displayed in area A.
* Check that Left Side or Right Side is displayed in area B.
* Check that an angle value between 0.0 and 6.3 is displayed in area C.
(11) Move the reflector either right or left by 100 mm (3.94 in.) and check that the value changes.

NOTICE:
When the values do not change, it is possible that the direction of the laser radar sensor is greatly off target, and that the laser radar sensor is aiming at something different. Check the installation condition of the laser radar sensor.

(12) Return the reflector to the original position and read the current angle.

Standard:





HINT
When the values displayed on the screen are normal, the values should be within the standard value ranges shown above. If any value is out of the range, check the installation condition of the bumper reinforcement, etc. as it cannot be adjusted automatically.

(13) Turn the headlight dimmer switch to the TAIL position.

(14) Beam axis adjustment will be performed automatically.

(15) When the adjustment is completed, the Upper/ Lower Side and Right/Left Side indicators show 0 and the system beeps for 10 seconds. During this time, Upper and Lower flash alternately on the screen, and Left and Right flash alternately on the screen.





NOTICE:
Adjustment values are calculated and then stored in the laser sensor. As the system is not controlled mechanically, the same value as before is displayed to adjust the beam axis.