Curiosii for ever!: Car repair manuals for everyone.

Cruise Control System










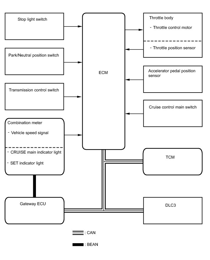
CRUISE CONTROL: CRUISE CONTROL SYSTEM: SYSTEM DIAGRAM





Communication table::






SYSTEM DESCRIPTION

1. CRUISE CONTROL SYSTEM

This system is controlled by the ECM, and is activated by the throttle position sensor and throttle control motor. The ECM controls the following functions: ON-OFF, -/SET, +/RES, CANCEL, vehicle speed control, motor output control, and overdrive control.

* The ECM compares the vehicle speed from the speed sensor with the stored vehicle speed set through the cruise control main switch assembly. The ECM controls the throttle valve motor of the throttle position sensor and motor to close the valve when the vehicle speed is less than the stored speed.

* The ECM receives signals such as ON-OFF, -/SET, +/RES, and CANCEL from the cruise control main switch assembly and executes them.

* The ECM illuminates the combination meter CRUISE main indicator light when it receives the cruise control main switch ON signal.

* The ECM cancels cruise control operation when the brake pedal is depressed and the ECM receives the stop light switch signal.

* The ECM cancels cruise control operation when the shift lever is moved from D (6th, 5th or 4th gear) to N (3rd, 2nd or 1st gear), and the ECM receives the PNP switch signal.

2. LIMIT CONTROL

(a) Low speed limit

The lowest possible limit of the speed setting range is set at approximately 40 km/h (25 mph). The cruise control system cannot be set when the vehicle speed is below the low speed limit. Cruise control operation will be automatically canceled.

(b) High speed limit

The highest possible limit of the speed setting range is set at approximately 200 km/h (125 mph). The cruise control system cannot be set when the vehicle speed is over the high speed limit. Also, +/RES cannot be used to increase speed beyond the high speed limit.

3. OPERATION OF CRUISE CONTROL

The cruise control main switch operates 7 functions: SET, COAST, TAP-DOWN, RESUME, ACCEL, TAP-UP and CANCEL. The SET, TAP-DOWN and COAST functions, and the RESUME, TAP-UP and ACCEL functions are operated with the same switch. The cruise control main switch assembly is an automatic return type switch which turns on only while it is being operated in each arrow direction and turns off after being released.

(a) SET CONTROL

Vehicle speed is stored and constant speed control is maintained when pushing the switch to -/SET while driving with the cruise control main switch ON (the CRUISE main indicator light is on), and the vehicle speed is within the set speed range (between the low and high speed limits).

(b) COAST CONTROL

When the cruise control main switch is set to -/SET and held in that position while the cruise control system is operating, the ECM sends a "throttle valve opening angle 0°" demand signal to the cruise control system. Then the vehicle speed, when the cruise control main switch is released, is stored and maintained.

HINT
An actual throttle valve opening angle of 0° is not possible due to the idle speed control, etc.

(c) TAP-DOWN CONTROL

When tapping down the cruise control main switch to -/SET (for approximately 0.5 second) while the cruise control system is in operation, the stored vehicle speed decreases each time by approximately 1.6 km/h (1.0 mph). When the cruise control main switch is released from -/SET and the difference between the driving and stored vehicle speed is more than 5 km/h (3 mph), the vehicle speed is stored and constant speed control is maintained.

(d) ACCELERATION CONTROL

The throttle control motor of the throttle position sensor and motor is instructed by the ECM to open the throttle valve when pushing and holding the cruise control main switch +/RES while the cruise control system is in operation. When the cruise control main switch is released from +/RES, the vehicle speed is stored and the vehicle is controlled at a constant speed.

(e) TAP-UP CONTROL

When tapping up the cruise control main switch to +/RES (for approximately 0.5 second) while the cruise control system is in operation, the stored vehicle speed increases each time by approximately 1.6 km/h (1.0 mph). However, when the difference between the driving and the stored vehicle speed is more than 5 km/h (approximately 3.1 mph), the stored vehicle speed will not be changed.

(f) RESUME CONTROL

If cruise control operation was canceled with the stop light switch or the CANCEL switch, and if driving speed is within the limit range, pushing the cruise control main switch to +/RES restores vehicle speed memorized at the time of cancellation, and maintains constant speed control.

(g) MANUAL CANCEL CONTROL

Performing any of the following cancels the cruise control system while in operation (the stored vehicle speed in the ECM is maintained).

* Depressing the brake pedal

* The shift lever is moved to any position except D (6th, 5th and 4th gears)

* Pushing the cruise control main switch to CANCEL

* Turning the cruise control main switch OFF (the stored vehicle speed in the ECM is not maintained).

4. AUTO CANCEL (FAIL-SAFE)

This system has an automatic cancellation function (fail-safe) Fail-Safe Chart.