Curiosii for ever!: Car repair manuals for everyone.

System Specifications

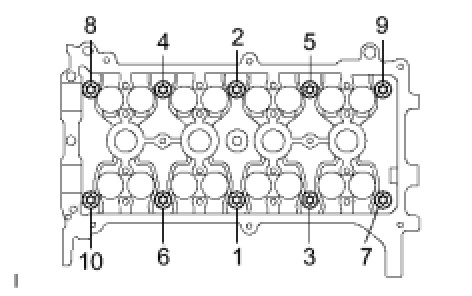
CYLINDER HEAD SUB-ASSEMBLY





Using several steps, install and tighten the 10 cylinder head bolts and plate washers uniformly with an 8 mm bi-hexagon wrench in the sequence shown in the illustration.
Torque 29 Nm (300 kgf-cm, 22 ft-lbf)
Mark the front of the cylinder head bolt with paint.





Retighten the cylinder head bolts by 90° and then an additional 90° as shown in the illustration.
Check that the paint mark is now at a 180° angle from the front

BOLT RE-USABILITY






SURFACE VARIATION






INTAKE MANIFOLD





Provisionally tighten the intake manifold nuts and bolts in the order shown in the illustration, and then tighten them to the specified torque.
Torque 30 Nm (306 kgf-cm, 22 ft-lbf)

CAMSHAFT





Install the chain onto the camshaft timing gear with the paint mark and the timing mark aligned as shown in the illustration.





Examine the front marks and numbers on camshaft bearing cap No. 2 and check that the sequence is as shown in the illustration. Then uniformly tighten the bolts, in several steps, in the sequence shown in the illustration.
Torque 13 Nm (129 kgf-cm, 9.4 ft-lbf)

NO. 2 CAMSHAFT





Examine the front marks and numbers on camshaft bearing caps No. 1 and No. 2 and check that the sequence is as shown in the illustration. Then uniformly tighten the bolts, in several steps, in the sequence shown in the illustration.
for bearing cap No. 2
Torque 13 Nm (129 kgf-cm, 9.4 ft-lbf)
for bearing cap No. 1
Torque 23 Nm (235 kgf-cm, 17 ft-lbf)

CAMSHAFT TIMING GEAR

Torque 64 Nm (653 kgf-cm, 47 ft-lbf)

EXHAUST MANIFOLD

Using several steps, install a new exhaust manifold gasket and the exhaust manifold with the 3 bolts and 2 nuts in the sequence shown in the illustration.

Torque 27 Nm (275 kgf-cm, 20 ft-lbf)