Curiosii for ever!: Car repair manuals for everyone.

Pinout Values and Diagnostic Parameters








2GR-FE ENGINE CONTROL: SFI SYSTEM: TERMINALS OF ECM

TERMINALS OF ECM

1. SFI SYSTEM




HINT: The standard normal voltage between each pair of the ECM terminals is shown in the table below. The appropriate conditions for checking each pair of the terminals are also indicated.
The result of checks should be compared with the standard normal voltage for that pair of terminals, displayed in the Specified Condition column.
The illustration above can be used as a reference to identify the ECM terminal locations.

























- *1: The ECM terminal voltage is constant regardless of the output voltage from the sensor.
- *2: w/ Smart Key System





(a) WAVEFORM 1
(1) Camshaft timing oil control valve assembly operation signal





HINT: The wavelength becomes shorter as the engine speed increases.





(b) WAVEFORM 2
(1) Heated oxygen sensor signal





HINT: In the Data List, item O2S B1S2 shows the ECM values from the heated oxygen sensor.





(c) WAVEFORM 3
(1) Fuel injector assembly operation signal





HINT: The wavelength becomes shorter as the engine rpm increases.





(d) WAVEFORM 4
(1) Knock control sensor signal





HINT:
- The wavelength becomes shorter as the engine speed increases.
- The waveforms and amplitudes displayed differ slightly depending on the vehicle.





(e) WAVEFORM 5
(1) Variable Valve Timing (VVT) sensor for exhaust side signal (A)
(2) Crankshaft position sensor signal (B)





HINT: The wavelength becomes shorter as the engine speed increases.





(f) WAVEFORM 6
(1) Variable Valve Timing (VVT) sensor for intake side signal (A)
(2) Crankshaft position sensor signal (B)





HINT: The wavelength becomes shorter as the engine speed increases.





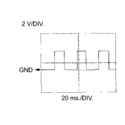
(g) WAVEFORM 7
(1) Igniter IGT signal (from ECM to igniter) and igniter IGF signal (from igniter to ECM)





HINT: The wavelength becomes shorter as the engine speed increases.





(h) WAVEFORM 8
(1) Purge VSV for EVAP system operation signal





HINT: If the waveform is not similar to that shown in the illustration, check the waveform again after idling for 10 minutes or more.





(i) WAVEFORM 9
(1) Vehicle speed signal





HINT:
- The wavelength becomes shorter as the vehicle speed increases.
- Depending on the vehicle, the output waveform voltage may rise to 12 V if influenced by optionally installed systems.





(j) WAVEFORM 10
(1) Throttle actuator operation signal (positive terminal)





HINT: The duty ratio varies depending on the throttle actuator operation.





(k) WAVEFORM 11
(1) Throttle actuator operation signal (negative terminal)





HINT: The duty ratio varies depending on the throttle actuator operation.





(l) WAVEFORM 12
(1) Engine speed signal





HINT: The wavelength becomes shorter as the engine speed increases.





(m) WAVEFORM 13
(1) CAN communication signal





HINT: The waveform varies depending on the CAN communication signal.





(n) WAVEFORM 14
(1) CAN communication signal





HINT: The waveform varies depending on the CAN communication signal.





(o) WAVEFORM 15
(1) Air fuel ratio sensor and heated oxygen sensor heater operation signal





HINT: The wavelength becomes shorter as the engine speed increases.





(p) WAVEFORM 16
(1) Crankshaft position sensor signal





HINT: The wavelength becomes shorter as the engine speed increases.