Curiosii for ever!: Car repair manuals for everyone.

Sound Signal Circuit Between Navigation Receiver Assembly and Stereo Component Amplifier








NAVIGATION / MULTI INFO DISPLAY: NAVIGATION SYSTEM: Sound Signal Circuit between Navigation Receiver Assembly and Stereo Component Amplifier

Sound Signal Circuit between Navigation Receiver Assembly and Stereo Component Amplifier

DESCRIPTION

The navigation receiver assembly sends a sound signal to the stereo component amplifier through this circuit.
The sound signal that has been sent is amplified by the stereo component amplifier, and then is sent to the speakers.
If there is an open or short in the circuit, sound cannot be heard from the speakers even if there is no malfunction in the stereo component amplifier or speakers.

WIRING DIAGRAM





INSPECTION PROCEDURE

PROCEDURE

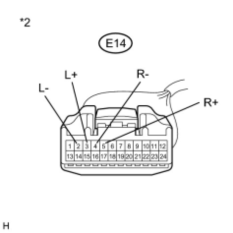
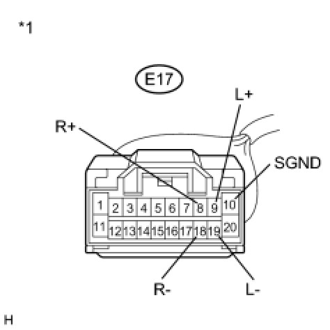
1. CHECK HARNESS AND CONNECTOR (NAVIGATION RECEIVER - STEREO COMPONENT AMPLIFIER)




(a) Disconnect the E17 navigation receiver assembly connector.




(b) Disconnect the E14 stereo component amplifier connector.
(c) Measure the resistance according to the value(s) in the table below.
Standard Resistance:





Text in Illustration





NG -- REPAIR OR REPLACE HARNESS OR CONNECTOR
OK -- PROCEED TO NEXT SUSPECTED AREA SHOWN IN PROBLEM SYMPTOMS TABLE