Curiosii for ever!: Car repair manuals for everyone.

Sound Signal Circuit Between Stereo Component Tuner Assembly and Television Display Assembly








NAVIGATION / MULTI INFO DISPLAY: NAVIGATION SYSTEM: Sound Signal Circuit between Stereo Component Tuner Assembly and Television Display Assembly

Sound Signal Circuit between Stereo Component Tuner Assembly and Television Display Assembly

DESCRIPTION

The television display assembly sends an RSE sound signal to the stereo component tuner assembly through this circuit.
The stereo component tuner assembly sends an RSE sound signal to the navigation receiver assembly through this circuit.
The sound signal that has been sent is amplified by the stereo component amplifier, and then is sent to the speakers.
If there is an open or short in the circuit, sound cannot be heard from the speakers even if there is no malfunction in the stereo component amplifier, navigation receiver assembly or speakers.

WIRING DIAGRAM





INSPECTION PROCEDURE

PROCEDURE

1. CHECK HARNESS AND CONNECTOR (STEREO COMPONENT TUNER - TELEVISION DISPLAY)




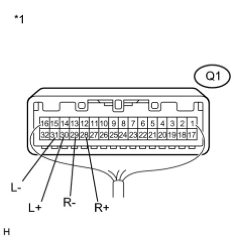
(a) Disconnect the M21 stereo component tuner assembly connector.




(b) Disconnect the Q1 television display assembly connector.
(c) Measure the resistance according to the value(s) in the table below.
Standard Resistance:





Text in Illustration





NG -- REPAIR OR REPLACE HARNESS OR CONNECTOR
OK -- Continue to next step.

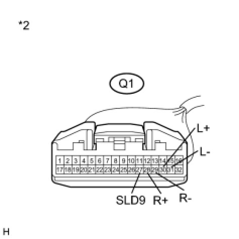
2. INSPECT TELEVISION DISPLAY ASSEMBLY




(a) Reconnect the Q1 television display assembly connector.
(b) Check the waveform according to the conditions in the table below.
Standard:





Text in Illustration





NG -- REPLACE TELEVISION DISPLAY ASSEMBLY
OK -- PROCEED TO NEXT SUSPECTED AREA SHOWN IN PROBLEM SYMPTOMS TABLE