Power Source Mode does not Change to ON (IG)
THEFT DETERRENT / KEYLESS ENTRY: SMART KEY SYSTEM (for Start Function): Power Source Mode does not Change to ON (IG)
Power Source Mode does not Change to ON (IG)
DESCRIPTION
When the engine switch is pushed with the electrical key in the cabin, the power management control ECU receives signals to change the power source mode.
HINT: To allow use of the Techstream to inspect the push-button start function when the power source mode is off, repeat opening and closing any of the doors. Opening and closing a door establishes communication between the Techstream and the power management control ECU. (Opening and closing a door can also be simulated by operating a door courtesy light switch.)
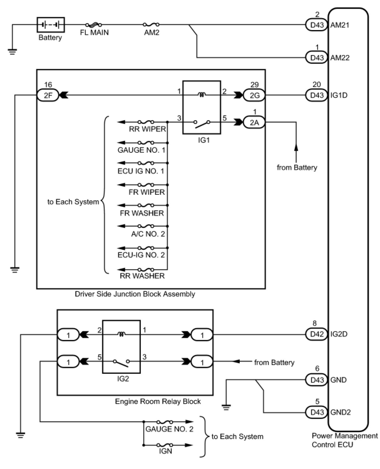
WIRING DIAGRAM
INSPECTION PROCEDURE
PROCEDURE
1. CHECK HARNESS AND CONNECTOR (BATTERY - POWER MANAGEMENT CONTROL ECU) B2271
NG -- REPAIR OR REPLACE HARNESS OR CONNECTOR (BATTERY - POWER MANAGEMENT CONTROL ECU)
OK -- Continue to next step.
2. CHECK HARNESS AND CONNECTOR (POWER MANAGEMENT CONTROL ECU - BODY GROUND) B2271
NG -- REPAIR OR REPLACE HARNESS OR CONNECTOR (POWER MANAGEMENT CONTROL ECU - BODY GROUND)
OK -- Continue to next step.
3. INSPECT IG1 RELAY B2271
NG -- REPLACE IG1 RELAY
OK -- Continue to next step.
4. CHECK HARNESS AND CONNECTOR B2271
NG -- REPAIR OR REPLACE HARNESS OR CONNECTOR
OK -- Continue to next step.
5. CHECK HARNESS AND CONNECTOR B2271
NG -- REPAIR OR REPLACE HARNESS OR CONNECTOR
OK -- Continue to next step.
6. INSPECT MAIN BODY ECU (DRIVER SIDE JUNCTION BLOCK ASSEMBLY) B2271
NG -- REPLACE MAIN BODY ECU (DRIVER SIDE JUNCTION BLOCK ASSEMBLY)
OK -- Continue to next step.
7. INSPECT IG2 RELAY B2271
NG -- REPLACE IG2 RELAY
OK -- Continue to next step.
8. CHECK HARNESS AND CONNECTOR B2271
NG -- REPAIR OR REPLACE HARNESS OR CONNECTOR
OK -- Continue to next step.
9. CHECK HARNESS AND CONNECTOR (IG2 RELAY - BODY GROUND) B2271
NG -- REPAIR OR REPLACE HARNESS OR CONNECTOR
OK -- REPLACE POWER MANAGEMENT CONTROL ECU