Curiosii for ever!: Car repair manuals for everyone.

Transmission Control Switch Circuit








U760F AUTOMATIC TRANSMISSION / TRANSAXLE: AUTOMATIC TRANSAXLE SYSTEM: Transmission Control Switch Circuit

Transmission Control Switch Circuit

DESCRIPTION

When the shift lever is in S and it is moved toward "-" or "+", it is possible to select different shift ranges (1st through 6th ranges).
Moving the shift lever toward "+" increases the shift range by one, and moving the shift lever toward "-" decreases the shift range by one.

WIRING DIAGRAM





INSPECTION PROCEDURE

PROCEDURE

1. CHECK HARNESS AND CONNECTOR (BATTERY - TRANSMISSION CONTROL SWITCH)




(a) Disconnect the transmission control switch connector of shift lock control unit assembly.
(b) Measure the voltage according to the value(s) in the table below.
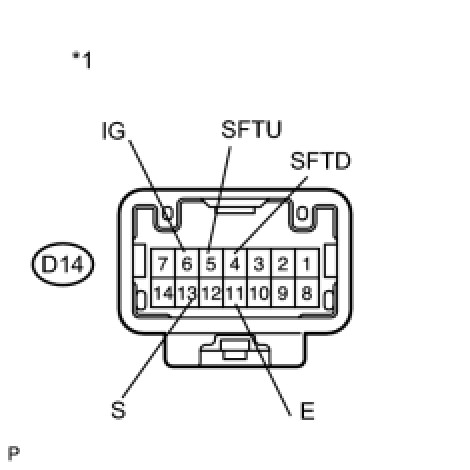
Standard Voltage:





Text in Illustration






NG -- REPAIR OR REPLACE HARNESS OR CONNECTOR
OK -- Continue to next step.

2. CHECK HARNESS AND CONNECTOR (TRANSMISSION CONTROL SWITCH - BODY GROUND)




(a) Measure the resistance according to the value(s) in the table below.
Standard Resistance:





Text in Illustration






NG -- REPAIR OR REPLACE HARNESS OR CONNECTOR
OK -- Continue to next step.

3. INSPECT SHIFT LOCK CONTROL UNIT ASSEMBLY (TRANSMISSION CONTROL SWITCH)




(a) Measure the resistance between each terminal of the transmission control switch when the shift lever is moved to each position.
Standard Resistance:





Text in Illustration






NG -- REPLACE SHIFT LOCK CONTROL UNIT ASSEMBLY (TRANSMISSION CONTROL SWITCH)
OK -- Continue to next step.

4. CHECK HARNESS AND CONNECTOR (TRANSMISSION CONTROL SWITCH - ECM)




(a) Connect the transmission control switch connector.
(b) Disconnect the ECM connector.
(c) Turn the ignition switch to ON.
(d) Measure the voltage according to the value(s) in the table below.
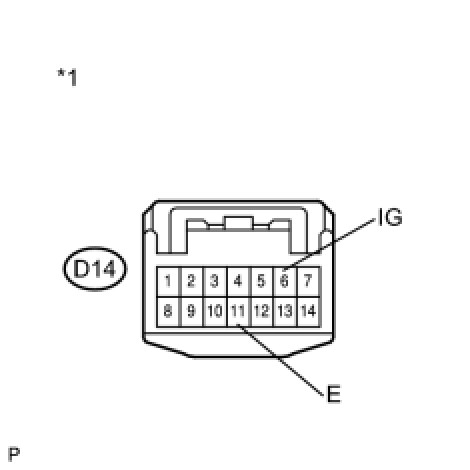
Standard Voltage:





Text in Illustration





(e) Turn the ignition switch off.
(f) Disconnect the spiral cable connector.
(g) Measure the resistance according to the value(s) in the table below.
Standard Resistance:





Text in Illustration






NG -- REPAIR OR REPLACE HARNESS OR CONNECTOR
OK -- PROCEED TO NEXT SUSPECTED AREA SHOWN IN PROBLEM SYMPTOMS TABLE