Curiosii for ever!: Car repair manuals for everyone.

Installation








WINDOW / GLASS: QUARTER WINDOW GLASS: INSTALLATION

INSTALLATION

1. CLEAN QUARTER WINDOW ASSEMBLY





(a) Clean the outer edges of a new quarter window assembly with a non-residue solvent.

NOTICE:
- Do not touch the glass surface after cleaning it.
- Be careful not to damage the glass or clips.

2. INSTALL QUARTER WINDOW ASSEMBLY
(a) Using a brush or a sponge, apply Primer M to the exposed part of the vehicle body.




NOTICE:
- Do not coat the adhesive with primer M.
- Do not apply too much primer.
- Allow the primer to dry for 3 minutes or more.
- Throw away any leftover Primer.

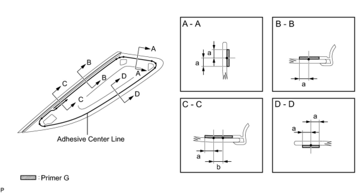
(b) Using a brush or a sponge, apply Primer G to the contact surface of the new quarter window glass.





Standard Measurement:





HINT: If the primer is applied to an area that is not specified, wipe off the primer with a non-residue solvent before it dries.
NOTICE:
- To prevent the glass from breaking at low temperatures, ensure that no primer adheres to the contact surface between the moulding and glass during application.
- Allow the primer to dry for 3 minutes or more.
- Throw away any leftover Primer.
- Do not apply too much primer.

(c) Apply adhesive to the quarter window assembly.
Adhesive:
Toyota Genuine Windshield Glass Adhesive or equivalent
(1) Cut off the tip of the cartridge nozzle as shown in the illustration.





Standard Measurement:





(2) Load the sealer gun with cartridge.
(3) Apply adhesive to the quarter window glass as shown in the illustration.
(d) Install the quarter window glass to the vehicle body.




(1) Engage the 3 clips to install the quarter window glass.
(2) Hold the quarter window assembly in place securely with protective tape or equivalent until the adhesive hardens.
NOTICE:
- Allow the primer to dry for 3 minutes or more.
- Check that the clips are attached to the body correctly.
- Check the clearance between the body and glass.
(3) Lightly press the outer surface of the glass to ensure a close fit that the glass is securely fit to the vehicle body.




(4) Using a scraper, remove any excess or protruding adhesive.
HINT: Apply adhesive onto the glass rim.
NOTE: Do not drive the vehicle within the time described in the table below.

Minimum Time:






3. INSPECT FOR LEAK AND REPAIR
(a) Conduct a leak test after the adhesive has completely hardened.
(b) Seal any leaks with auto glass sealer.
4. INSTALL ROOF SIDE INNER GARNISH LH Installation
5. INSTALL QUARTER PILLAR GARNISH LH Installation
6. INSTALL SIDE DECK TRIM PANEL ASSEMBLY LH Installation
7. INSTALL REAR COMBINATION LIGHT SERVICE COVER LH Installation
8. INSTALL NO. 1 LUGGAGE COMPARTMENT TRIM HOOK (for LH Side) Installation
9. INSTALL LUGGAGE HOLD BELT STRIKER ASSEMBLY (for LH Side) Installation
10. CONNECT REAR SEAT 3 POINT TYPE BELT ASSEMBLY LH Installation
11. INSTALL REAR SEAT SIDE GARNISH LH Installation
12. INSTALL REAR SEATBACK HINGE SUB-ASSEMBLY (for LH Side) Installation
13. INSTALL REAR DECK TRIM COVER Installation
14. INSTALL LUGGAGE COMPARTMENT TRAY Installation
15. INSTALL CHILD RESTRAINT SEAT TETHER ANCHOR Installation
16. INSTALL DECK FLOOR BOX RH Installation
17. INSTALL DECK FLOOR BOX LH Installation
18. INSTALL JACK ASSEMBLY Installation
19. INSTALL JACK CARRIER ASSEMBLY
20. INSTALL NO. 2 DECK BOARD Installation
21. INSTALL DECK BOARD ASSEMBLY Installation
22. INSTALL TONNEAU COVER ASSEMBLY (w/ Tonneau Cover)
23. INSTALL REAR SEATBACK ASSEMBLY LH Installation
24. INSTALL REAR SEATBACK INNER HINGE COVER (for LH Side) Installation
25. INSTALL REAR SEATBACK OUTER HINGE COVER (for LH Side) Installation
26. INSTALL REAR SEAT HEADREST ASSEMBLY
27. INSTALL REAR SEAT CUSHION ASSEMBLY Installation
28. INSTALL REAR DOOR OPENING TRIM WEATHERSTRIP LH Installation
29. INSTALL REAR DOOR SCUFF PLATE LH Installation