Curiosii for ever!
: Car repair manuals for everyone.
Home
>>
Toyota
>>
2009
>>
Matrix AWD L4-2.4L (2AZ-FE)
>>
Repair and Diagnosis
>>
Brakes and Traction Control
>>
Antilock Brakes / Traction Control Systems
>>
Acceleration/Deceleration Sensor
>>
Service and Repair
>>
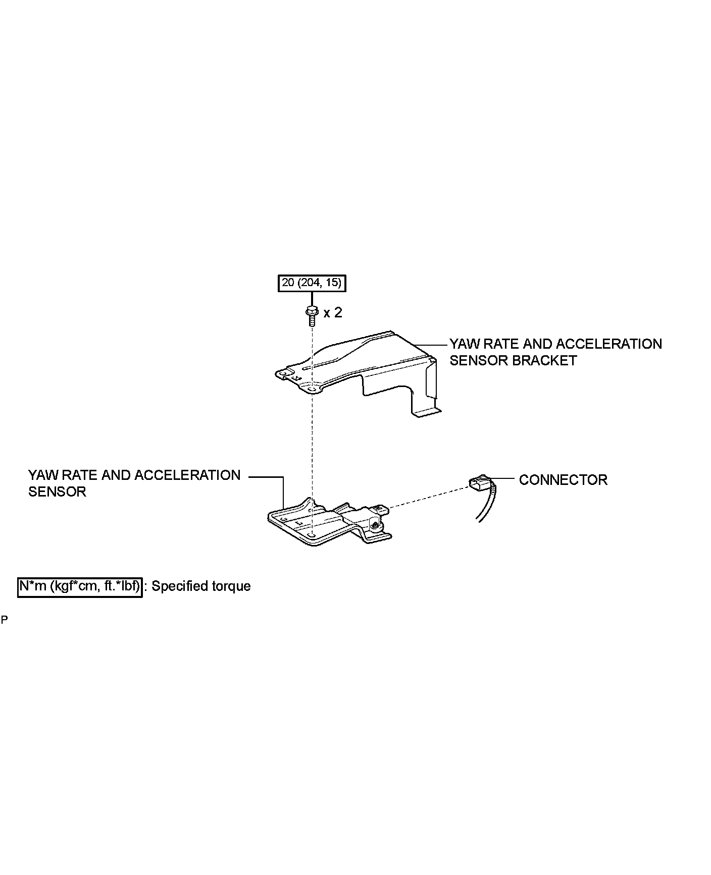
Yaw Rate and Acceleration Sensor (w/ VSC)
>>
Components
Components
BRAKE CONTROL / DYNAMIC CONTROL SYSTEMS: YAW RATE AND ACCELERATION SENSOR (w/ VSC): COMPONENTS
COMPONENTS
ILLUSTRATION