Curiosii for ever!: Car repair manuals for everyone.

Part 2








2AZ-FE ENGINE CONTROL SYSTEM: SFI SYSTEM: EVAP System

EVAP System (Continued)

PROCEDURE

1. CONFIRM DTC
(a) Turn the ignition switch off and wait for 10 seconds.
(b) Turn the ignition switch to the ON position.
(c) Turn the ignition switch off and wait for 10 seconds.
(d) Connect the Techstream to the DLC3.
(e) Turn the ignition switch to the ON position and turn the tester on.
(f) Select the following menu items: Powertrain / Engine and ECT / Trouble Codes.
(g) Confirm DTCs and freeze frame data.
If any EVAP system DTCs are set, the malfunctioning area can be determined using the table below.
NOTICE: If the reference pressure difference between the first and second checks is greater than the specification, all the DTCs relating to the reference pressure (P043E, P043F, P2401, P2402 and P2419) are stored.





NEXT -- Continue to next step.
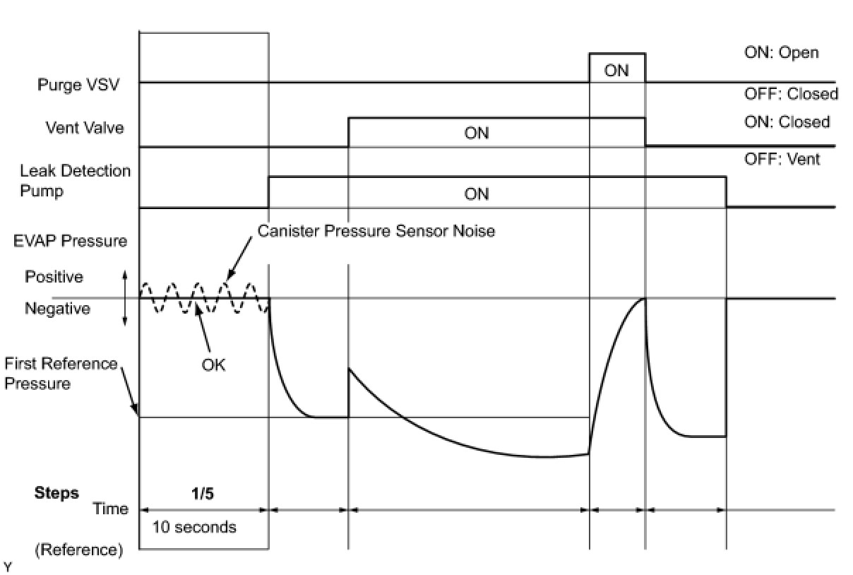
2. PERFORM EVAPORATIVE SYSTEM CHECK (AUTOMATIC MODE)
NOTICE:
- The Evaporative System Check (AUTO OPERATION) consists of 5 steps performed automatically by the Techstream. It takes a maximum of approximately 18 minutes.
- Do not perform the Evaporative System Check when the fuel tank is more than 90% full because the cut-off valve may be closed, making the fuel tank leak check unavailable.
- Do not run the engine during this operation.
- When the temperature of the fuel is 35°C (95°F) or more, a large amount of vapor forms and any check results become inaccurate. When performing the Evaporative System Check, keep the temperature below 35°C (95°F).
(a) Clear the DTCs DTC Check / Clear.
(b) On the tester, select the following menu items: Powertrain / Engine and ECT / Utility / Evaporative System Check / Automatic Mode.
(c) After the Evaporative System Check is completed, check for pending DTCs by selecting the following menu items: Powertrain / Engine and ECT / Trouble Codes.
HINT: If no pending DTCs are displayed, perform MONITOR CONFIRMATION (see "Diagnostic Help" menu). After this confirmation, check for pending DTCs. If no DTCs are displayed, the EVAP system is normal.

NEXT -- Continue to next step.
3. PERFORM EVAPORATIVE SYSTEM CHECK (MANUAL MODE)




NOTICE:
- In the Evaporative System Check (MANUAL OPERATION), perform the series of 5 Evaporative System Check steps manually using the Techstream.
- Do not perform the Evaporative System Check when the fuel tank is more than 90% full because the cut-off valve may be closed, making the fuel tank leak check unavailable.
- Do not run the engine during this operation.
- When the temperature of the fuel is 35°C (95°F) or more, a large amount of vapor forms and any check results become inaccurate. When performing the Evaporative System Check, keep the temperature below 35°C (95°F).
(a) Clear the DTCs DTC Check / Clear.
(b) Select the following menu items: Powertrain / Engine and ECT / Utility / Evaporative System Check / Manual Mode.
NEXT -- Continue to next step.
4. PERFORM EVAPORATIVE SYSTEM CHECK (STEP 1/5)




(a) Check the EVAP pressure in step 1/5.
Result:





*: These DTCs are already present in the ECM when the vehicle arrives and are confirmed in the "CONFIRM DTC" procedures above.
B -- REPLACE CHARCOAL CANISTER ASSEMBLY
A -- Continue to next step.
5. PERFORM EVAPORATIVE SYSTEM CHECK (STEP 1/5 TO 2/5)




(a) Check the EVAP pressure in steps 1/5 and 2/5.
Result:





*: These DTCs are already present in the ECM when the vehicle arrives and are confirmed in the "CONFIRM DTC" procedures above.
HINT: The first reference pressure is the value determined in step 2/5.

B -- PERFORM ACTIVE TEST USING TECHSTREAM (VACUUM PUMP (ALONE))
A -- Continue to next step.
6. PERFORM EVAPORATIVE SYSTEM CHECK (STEP 2/5)




HINT: Make a note of the pressures checked in steps (a) and (b) below.
(a) Check the EVAP pressure 4 seconds after the leak detection pump is activated*.
HINT: *: The leak detection pump begins to operate as step 1/5 finishes and step 2/5 starts.
(b) Check the EVAP pressure again when it has stabilized. This pressure is the reference pressure.
Result:






*: These DTCs are already present in the ECM when the vehicle arrives and are confirmed in the "CONFIRM DTC" procedures above.
D -- INSPECT CANISTER PUMP MODULE (VENT VALVE OPERATION)
C -- REPLACE CHARCOAL CANISTER ASSEMBLY
B -- PERFORM EVAPORATIVE SYSTEM CHECK (STEP 3/5)
A -- Continue to next step.
7. PERFORM EVAPORATIVE SYSTEM CHECK (STEP 2/5 TO 3/5)




(a) Check the EVAP pressure increases in step 3/5.
Result:





*: These DTCs are already present in the ECM when the vehicle arrives and are confirmed in the "CONFIRM DTC" procedures above.
C -- REPLACE CHARCOAL CANISTER ASSEMBLY
B -- INSPECT CANISTER PUMP MODULE (POWER SOURCE FOR VENT VALVE)
A -- Continue to next step.
8. PERFORM EVAPORATIVE SYSTEM CHECK (STEP 3/5)




(a) Wait until the EVAP pressure change is less than 0.1 kPa-g (0.75 mmHg-g) for 30 seconds.
(b) Measure the EVAP pressure and record it.
HINT: A few minutes are required for the EVAP pressure to become saturated. When there is little fuel in the fuel tank, it takes up to 15 minutes.

NEXT -- Continue to next step.
9. PERFORM EVAPORATIVE SYSTEM CHECK (STEP 4/5)




(a) Check the EVAP pressure in step 4/5.
Result:





*: These DTCs are already present in the ECM when the vehicle arrives and are confirmed in the "CONFIRM DTC" procedures above.
C -- PERFORM ACTIVE TEST USING TECHSTREAM (PURGE VSV)
B -- CHECK EVAP HOSE (PURGE VSV - INTAKE MANIFOLD)
A -- Continue to next step.
10. PERFORM EVAPORATIVE SYSTEM CHECK (STEP 5/5)




(a) Check the EVAP pressure in step 5/5.
(b) Compare the EVAP pressure in step 3/5 and the second reference pressure (step 5/5).
Result:





*: These DTCs are already present in the ECM when the vehicle arrives and are confirmed in the "CONFIRM DTC" procedures above.
B -- PERFORM ACTIVE TEST USING TECHSTREAM (PURGE VSV)
A -- REPAIR OR REPLACE PARTS AND COMPONENTS INDICATED BY OUTPUT DTCS
11. PERFORM EVAPORATIVE SYSTEM CHECK (STEP 3/5)




(a) Check the EVAP pressure in step 3/5.
Result:





*: These DTCs are already present in the ECM when the vehicle arrives and are confirmed in the "CONFIRM DTC" procedures above.
HINT: The first reference pressure is the value determined in step 2/5.

B -- PERFORM ACTIVE TEST USING TECHSTREAM (VACUUM PUMP (ALONE))
A -- REPLACE CHARCOAL CANISTER ASSEMBLY
12. PERFORM ACTIVE TEST USING TECHSTREAM (PURGE VSV)




(a) On the Techstream, select the following menu items: Powertrain / Engine and ECT / Active Test / Activate the VSV for EVAP Control.
(b) Disconnect the hose (connected to the canister) from the purge VSV.
(c) Start the engine.
(d) Using the tester, turn off the purge VSV (EVAP VSV: OFF).
(e) Use your finger to confirm that the purge VSV has no suction.
(f) Using the tester, turn on the purge VSV (EVAP VSV: ON).
(g) Use your finger to confirm that the purge VSV has suction.
Result:





(h) Reconnect the hose.
C -- CHECK EVAP HOSE (PURGE VSV - INTAKE MANIFOLD)
B -- INSPECT DUTY VACUUM SWITCHING VALVE (PURGE VSV)
A -- Continue to next step.
13. CHECK FUEL CAP
(a) Check that the fuel cap is correctly installed and confirm the fuel cap meets OEM specifications.
(b) Tighten the fuel cap until a few click sounds are heard.
HINT: If an EVAP tester is available, check the fuel cap using the tester.
1. Remove the fuel cap and install it onto a fuel cap adapter.
2. Connect an EVAP tester pump hose to the adapter, and pressurize the cap to 3.2 to 3.7 kPa (24 to 28 mmHg) using an EVAP tester pump.
3. Seal the adapter and wait for 2 minutes.
4. Check the pressure. If the pressure is 2 kPa (15 mmHg) or more, the fuel cap is normal.

Result:





(c) Reinstall the fuel cap.
C -- REPLACE FUEL CAP
B -- CORRECTLY REINSTALL OR REPLACE FUEL CAP
A -- LOCATE EVAP LEAK PART
14. INSPECT DUTY VACUUM SWITCHING VALVE (PURGE VSV)




(a) Turn the ignition switch off.
(b) Disconnect the C6 purge VSV connector.
(c) Disconnect the hose (connected to the canister) from the purge VSV.
(d) Start the engine.
(e) Use your finger to confirm that the purge VSV has no suction.
Result:





(f) Reconnect the purge VSV connector.
(g) Reconnect the hose.
B -- REPLACE DUTY VACUUM SWITCHING VALVE (PURGE VSV)
A -- REPLACE ECM
15. CHECK EVAP HOSE (PURGE VSV - INTAKE MANIFOLD)




(a) Disconnect the hose (connected to the intake manifold) from the purge VSV.
(b) Start the engine.
(c) Use your finger to confirm that the hose has suction.
Result:





(d) Reconnect the hose.
B -- INSPECT INTAKE MANIFOLD (EVAP PURGE PORT)
A -- Continue to next step.
16. INSPECT DUTY VACUUM SWITCHING VALVE (PURGE VSV)




(a) Remove the purge VSV.
(b) Apply the battery voltage to the terminals of the purge VSV.
(c) Using an air gun, confirm that air flows from port A to port B.
Result:





(d) Install the purge VSV.
B -- REPLACE DUTY VACUUM SWITCHING VALVE (PURGE VSV)
A -- Continue to next step.
17. CHECK HARNESS AND CONNECTOR (POWER SOURCE OF PURGE VSV)




(a) Disconnect the C6 purge VSV connector.
(b) Turn the ignition switch to the ON position.
(c) Measure the voltage between terminal 1 of the purge VSV connector and body ground.
Result:





(d) Reconnect the purge VSV connector.
B -- REPAIR OR REPLACE HARNESS OR CONNECTOR
A -- Continue to next step.
18. CHECK HARNESS AND CONNECTOR (PURGE VSV - ECM)




(a) Disconnect the C24 ECM connector and the C6 purge VSV connector.
(b) Measure the resistance between the terminals of the wire harness side connectors.
Standard resistance:





(c) Reconnect the purge VSV connector.
(d) Reconnect the ECM connector.
NG -- REPAIR OR REPLACE HARNESS OR CONNECTOR
OK -- REPLACE ECM
19. INSPECT CANISTER PUMP MODULE (POWER SOURCE FOR VENT VALVE)




(a) Turn the ignition switch off.
(b) Disconnect the N17 canister pump module connector.
(c) Turn the ignition switch to the ON position.
(d) Measure the voltage between the VLVB terminal of the canister pump module connector and body ground.
Result:





(e) Reconnect the canister pump module connector.
B -- REPAIR OR REPLACE HARNESS OR CONNECTOR
A -- Continue to next step.
20. INSPECT CANISTER PUMP MODULE (VENT VALVE OPERATION)




(a) Turn the ignition switch off.
(b) Disconnect the N17 canister pump module connector.
(c) Apply the battery voltage to the VLVB and VGND terminals of the canister pump module.
(d) Touch the canister pump module to confirm the vent valve operation.
Result:





(e) Reconnect the canister pump module connector.
B -- REPLACE CHARCOAL CANISTER ASSEMBLY
A -- Continue to next step.
21. CHECK HARNESS AND CONNECTOR (ECM - CANISTER PUMP MODULE)




(a) Disconnect the A24 ECM connector.
(b) Disconnect the N17 canister pump module connector.
(c) Measure the resistance between the VPMP terminal of the ECM connector and the VGND terminal of the canister pump module connector.
Result:





(d) Reconnect the ECM connector.
(e) Reconnect the canister pump module connector.
B -- REPAIR OR REPLACE HARNESS OR CONNECTOR
A -- REPLACE ECM
22. PERFORM ACTIVE TEST USING TECHSTREAM (VACUUM PUMP (ALONE))




(a) Turn the ignition switch off.
(b) Disconnect the N17 canister pump module connector.
(c) Turn the ignition switch to the ON position.
(d) On the Techstream, select the following menu items: Powertrain / Engine and ECT / Active Test / Activate the Vacuum Pump.
(e) Measure the voltage between MTRB terminal 1 of the canister pump module connector and body ground when the leak detection pump is turned ON and OFF using the tester.
Result:






B -- CHECK HARNESS AND CONNECTOR (ECM - CANISTER PUMP MODULE)
A -- Continue to next step.
23. CHECK HARNESS AND CONNECTOR (CANISTER PUMP MODULE - BODY GROUND)




(a) Turn the ignition switch off.
(b) Disconnect the N17 canister pump module connector.
(c) Measure the resistance between the MGND terminal of the canister pump module connector and body ground.
Result:





(d) Reconnect the canister pump module connector.
B -- REPAIR OR REPLACE HARNESS OR CONNECTOR
A -- REPLACE CHARCOAL CANISTER ASSEMBLY
24. CHECK HARNESS AND CONNECTOR (ECM - CANISTER PUMP MODULE)




(a) Turn the ignition switch off.
(b) Disconnect the N17 canister pump module connector.
(c) Disconnect the A24 ECM connector.
(d) Measure the resistance between the MPMP terminal of the ECM connector and the MTRB terminal of the canister pump module connector.
Result:





(e) Reconnect the canister pump module connector.
(f) Reconnect the ECM connector.
B -- REPAIR OR REPLACE HARNESS OR CONNECTOR
A -- REPLACE ECM
25. INSPECT INTAKE MANIFOLD (EVAP PURGE PORT)
(a) Stop the engine.
(b) Disconnect the EVAP hose from the intake manifold.
(c) Start the engine.
(d) Use your finger to confirm that the port of the intake manifold has suction.
Result:





(e) Reconnect the EVAP hose.
B -- INSPECT INTAKE MANIFOLD (EVAP PURGE PORT)
A -- REPLACE EVAP HOSE (INTAKE MANIFOLD - PURGE VSV)
26. CORRECTLY REINSTALL OR REPLACE FUEL CAP
HINT:
- When reinstalling the fuel cap, tighten it until a few click sounds are heard.
- When replacing the fuel cap, use a fuel cap that meets OEM specifications.

NEXT -- PERFORM EVAPORATIVE SYSTEM CHECK (AUTOMATIC MODE)
27. REPLACE FUEL CAP
HINT: When installing the fuel cap, tighten it until a few click sounds are heard.

NEXT -- PERFORM EVAPORATIVE SYSTEM CHECK (AUTOMATIC MODE)
28. LOCATE EVAP LEAK PART




(a) Disconnect the vent hose.
(b) Connect the EVAP pressure tester tool to the canister pump module with the adapter.
(c) Pressurize the EVAP system to 3.2 to 3.7 kPa (24 to 28 mmHg).
(d) Apply soapy water to the piping and connecting parts of the EVAP system.
(e) Look for areas where bubbles appear. This indicates the leak point.
(f) Repair or replace the leak point.
HINT: Disconnect the hose between the canister and the fuel tank from the canister. Block the canister side and conduct an inspection. In this way, the fuel tank can be excluded as an area suspected of causing fuel leaks.

NEXT -- PERFORM EVAPORATIVE SYSTEM CHECK (AUTOMATIC MODE)
29. REPLACE CHARCOAL CANISTER ASSEMBLY
(a) Replace the canister assembly Removal.
NOTICE: When replacing the canister, check the canister pump module interior and related pipes for water, fuel and other liquids. If liquids are present, check for disconnections and/or cracks in the following: 1) the pipe from the air inlet port to the canister pump module; 2) the canister filter; and 3) the fuel tank vent hose.









NEXT -- PERFORM EVAPORATIVE SYSTEM CHECK (AUTOMATIC MODE)
30. REPLACE DUTY VACUUM SWITCHING VALVE (PURGE VSV)




(a) Disconnect the connector and the hoses from the purge VSV.
(b) Remove the purge VSV.
(c) Install a new purge VSV.
(d) Reconnect the connector and hoses.
NEXT -- PERFORM EVAPORATIVE SYSTEM CHECK (AUTOMATIC MODE)
31. REPAIR OR REPLACE HARNESS OR CONNECTOR
NEXT -- PERFORM EVAPORATIVE SYSTEM CHECK (AUTOMATIC MODE)
32. REPLACE EVAP HOSE (INTAKE MANIFOLD - PURGE VSV)
NEXT -- PERFORM EVAPORATIVE SYSTEM CHECK (AUTOMATIC MODE)
33. INSPECT INTAKE MANIFOLD (EVAP PURGE PORT)
(a) Check that the EVAP purge port of the intake manifold is not clogged. If necessary, replace the intake manifold.
NEXT -- PERFORM EVAPORATIVE SYSTEM CHECK (AUTOMATIC MODE)
34. REPLACE ECM
(a) Replace the ECM Removal.
NEXT -- PERFORM EVAPORATIVE SYSTEM CHECK (AUTOMATIC MODE)
35. REPAIR OR REPLACE PARTS AND COMPONENTS INDICATED BY OUTPUT DTCS
(a) Repair the malfunctioning areas indicated by the DTCs that had been confirmed when the vehicle was brought in.
NEXT -- PERFORM EVAPORATIVE SYSTEM CHECK (AUTOMATIC MODE)
36. PERFORM EVAPORATIVE SYSTEM CHECK (AUTOMATIC MODE)
NOTICE:
- The Evaporative System Check (AUTO OPERATION) consists of 5 steps performed automatically by the Techstream. It takes a maximum of approximately 18 minutes.
- Do not perform the Evaporative System Check when the fuel tank is more than 90% full because the cut-off valve may be closed, making the fuel tank leak check unavailable.
- Do not run the engine in this step.
- When the temperature of the fuel is 35°C (95°F) or more, a large amount of vapor forms and any check results become inaccurate. When performing an Evaporative System Check, keep the temperature below 35°C (95°F).
(a) Clear the DTCs DTC Check / Clear.
(b) On the Techstream, select the following menu items: Powertrain / Engine and ECT / Utility / Evaporative System Check / Automatic Mode.
(c) After the SYSTEM CHECK is completed, check for pending DTCs by selecting the following menu items: Powertrain / Engine and ECT / Trouble Codes.
HINT: If no pending DTCs are found, the repair has been successfully completed.

NEXT -- COMPLETED

CONFIRMATION DRIVING PATTERN
HINT: After a repair, check Monitor Status by performing the Key-Off Monitor Confirmation and Purge Flow Monitor Confirmation described below.

1. KEY-OFF MONITOR CONFIRMATION
(a) Preconditions
The monitor will not run unless:
- The vehicle has been driven for 10 minutes or more (in a city area or on a freeway)
- The fuel tank is less than 90% full
- The altitude is less than 8,000 ft. (2,400 m)
- The Engine Coolant Temperature (ECT) is between 4.4°C and 35°C (40°F and 95°F)
- The Intake Air Temperature (IAT) is between 4.4°C and 35°C (40°F and 95°F)
- The vehicle remains stationary (the vehicle speed is 0 mph (0 km/h))

(b) Monitor Conditions
1. Allow the engine to idle for at least 5 minutes.
2. Turn the ignition switch off and wait for 6 hours (8 or 10.5 hours).
HINT: Do not start the engine until checking MONITOR STATUS. If the engine is started, the steps described above must be repeated.

(c) Monitor Status
1. Connect the Techstream to the DLC3.
2. Turn the ignition switch to the ON position and turn the tester on.
3. Select the following menu items: Powertrain / Engine and ECT / Monitor / Evaporative System.
4. Check the Monitor Status displayed on the tester.
HINT: If INCMP is displayed, the monitor is not complete. Make sure that the preconditions have been met, and perform the Monitor Conditions again.

2. PURGE FLOW MONITOR CONFIRMATION (P0441)
HINT: Perform this monitor confirmation after the Key-Off Monitor Confirmation shows Complete.

(a) Preconditions
The monitor will not run unless:
- The vehicle has been driven for 10 minutes or more (in a city area or on a freeway)
- The ECT is between 4.4°C and 35°C (40°F and 95°F)
- The IAT is between 4.4°C and 35°C (40°F and 95°F)

(b) Monitor Conditions
1. Release the pressure from the fuel tank by removing and reinstalling the fuel cap.
2. Warm the engine up until the ECT reaches more than 75°C (167°F).
3. Increase the engine speed to 3,000 rpm once.
4. Allow the engine to idle and turn A/C ON for 1 minute.

(c) Monitor Status
1. Turn the ignition switch off (if ON or the engine is running).
2. Connect the Techstream to the DLC3.
3. Turn the ignition switch to the ON position and turn the tester on.
4. Select the following menu items: Powertrain / Engine and ECT / Monitor.
5. Check the Monitor Status displayed on the tester.
HINT: If INCMP is displayed, the monitor is not complete. Make sure that the preconditions have been met, and perform the Monitor Conditions again.

MONITOR RESULT

Refer to CHECKING MONITOR STATUS Mode 6 Data.