Curiosii for ever!: Car repair manuals for everyone.

CAN Communication System








CAN COMMUNICATION: CAN COMMUNICATION SYSTEM: TERMINALS OF ECU

TERMINALS OF ECU
HINT: This section describes the standard CAN values for all CAN related components.

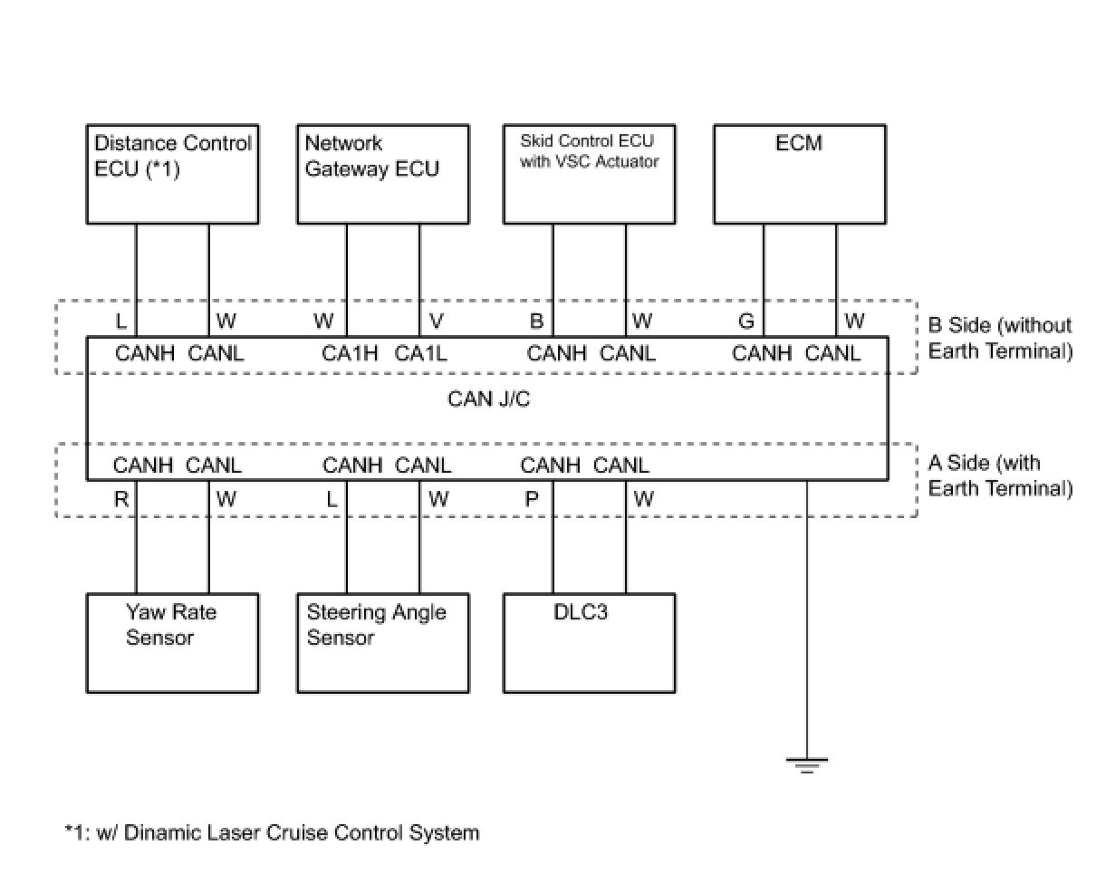
1. JUNCTION CONNECTOR (J/C)





(a) CAN J/C A side (with earth terminal) and CAN J/C B side (without earth terminal):

HINT:
- The connectors connected to the junction connector (J/C) can be distinguished by the colors of the bus lines and the connecting side of the connector.
- The connectors can be connected to any terminals on the same side.













(b) The terminals on connectors for the J/C:





(c) WIRING DIAGRAM FOR IDENTIFYING J/C CONNECTORS





2. DLC3





(a) Measure the resistance according to the value(s) in the table below.
Resistance:





3. SKID CONTROL ECU (Skid Control ECU with VSC Actuator)





(a) Disconnect the connector from the skid control ECU.

(b) Measure the resistance according to the value(s) in the table below.
Resistance:





4. STEERING ANGLE SENSOR





(a) Disconnect the connector from the steering angle sensor.

(b) Measure the resistance according to the value(s) in the table below.
Resistance:





5. YAW RATE SENSOR





(a) Disconnect the connector from the yaw rate sensor.

(b) Measure the resistance according to the value(s) in the table below.
Resistance:





6. DISTANCE CONTROL ECU





(a) Disconnect the connector from the distance control ECU.

(b) Measure the resistance according to the value(s) in the table below.
Resistance:





7. ECM





(a) Disconnect the connector from the ECM.

(b) Measure the resistance according to the value(s) in the table below.
Resistance:





8. NETWORK GATEWAY ECU





(a) Disconnect the connector from the network gateway ECU (E23).

(b) Measure the resistance according to the value(s) in the table below.
Resistance: