Curiosii for ever!: Car repair manuals for everyone.

Gateway ECU Communication Stop Mode








CAN COMMUNICATION: CAN COMMUNICATION SYSTEM: Gateway ECU Communication Stop Mode

Gateway ECU Communication Stop Mode

DESCRIPTION





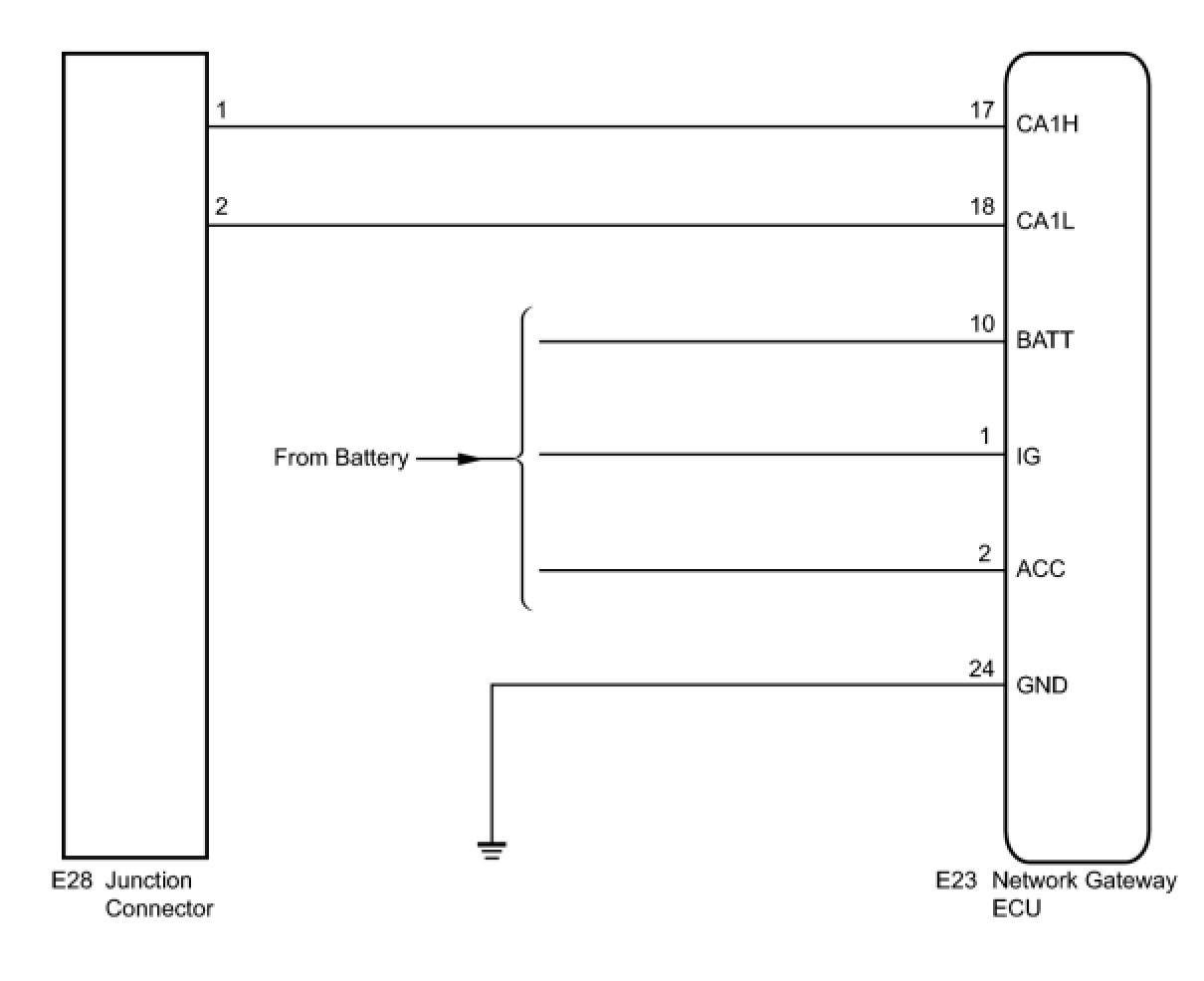
WIRING DIAGRAM





INSPECTION PROCEDURE

PROCEDURE

1. CHECK CAN BUS WIRE (NETWORK GATEWAY ECU SUB BUS LINE DISCONNECTION)





(a) Turn the ignition switch off.
(b) Disconnect the network gateway ECU connector (E23).
(c) Measure the resistance according to the value(s) in the table below.
Resistance:






NG -- REPAIR OR REPLACE NETWORK GATEWAY ECU SUB BUS LINE OR CONNECTOR (CAN-H, CAN-L)
OK -- Continue to next step.

2. CHECK WIRE HARNESS (BATT, ACC, IG, GND)





(a) Measure the resistance and voltage according to the value(s) in the table below.
Resistance and voltage:






NG -- REPAIR OR REPLACE HARNESS OR CONNECTOR
OK -- REPLACE NETWORK GATEWAY ECU