Curiosii for ever!: Car repair manuals for everyone.

Power Window Relay: Testing and Inspection








WINDSHIELD / WINDOWGLASS: POWER RELAY:

ON-VEHICLE INSPECTION

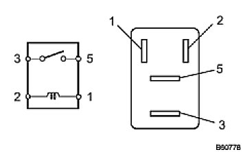
1. INSPECT RELAY (Marking: P/W)





(a) Remove the P/W relay from the instrument panel J/B.
(b) Measure the resistance of the relay.
Standard resistance:





If the result is not as specified, replace the relay.