Curiosii for ever!: Car repair manuals for everyone.

Ignition Relay: Testing and Inspection








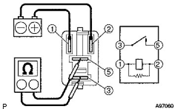
1ZZ-FE ENGINE CONTROL SYSTEM: IGNITION RELAY NO. 1:

INSPECTION

1. INSPECT IGNITION RELAY NO. 1





(a) Check the resistance.
(1) Using an ohmmeter, measure the resistance between the terminals.
Resistance:





If the result is not as specified, replace the ignition ECU relay.