Curiosii for ever!: Car repair manuals for everyone.

VC Output Circuit








2AZ-FE ENGINE CONTROL SYSTEM: SFI SYSTEM: VC Output Circuit

VC Output Circuit

DESCRIPTION

The ECM constantly generates 5 V power from the battery voltages supplied to the +B (BATT) terminal to operate the microprocessor. The ECM also provides this power to the sensors through the VC output circuit.





When the VC circuit is short-circuited, the microprocessor in the ECM and sensors that are supplied with power through the VC circuit are inactivated because the power is not supplied from the VC circuit. Under this condition, the system does not start up and the MIL does not illuminate even if the system malfunctions.

HINT: Under normal conditions, the MIL is illuminated for several seconds when the ignition switch is first turned ON position. The MIL goes off when the engine is started.

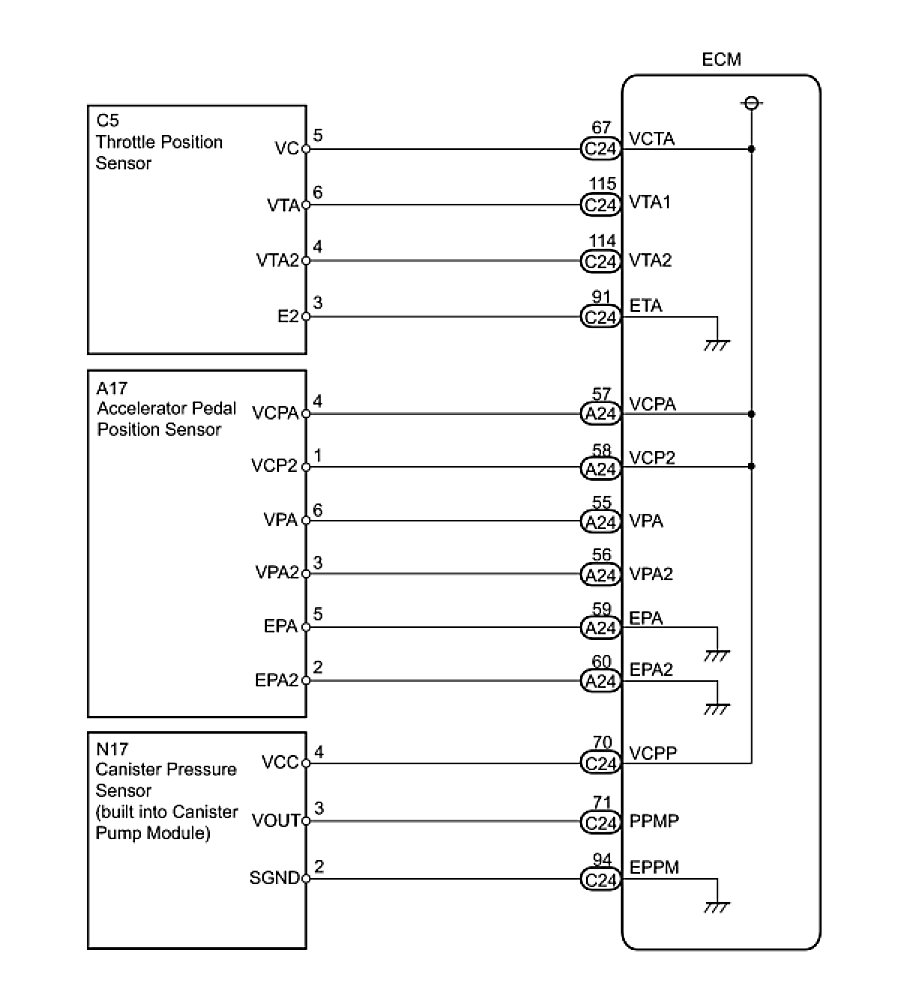
WIRING DIAGRAM





INSPECTION PROCEDURE

PROCEDURE

1. CHECK MIL CONDITION
(a) Check that the Malfunction Indicator Lamp (MIL) lights up when turning the ignition switch to the ON position.
OK:
MIL lights up.
OK -- SYSTEM OK
NG -- Continue to next step.
2. CHECK COMMUNICATION BETWEEN TECHSTREAM AND ECM
(a) Connect Techstream to the DLC3.
(b) Turn the ignition switch to the ON position and turn the tester on.
(c) Check for communication between the tester and ECM.
Result:





A -- GO TO MIL CIRCUIT
B -- Continue to next step.
3. CHECK MIL (THROTTLE POSITION SENSOR)
(a) Disconnect the C5 throttle body connector.
(b) Turn the ignition switch to the ON position.
(c) Check the MIL.
Result:





(d) Reconnect the throttle body connector.
A -- REPLACE THROTTLE BODY ASSEMBLY
B -- Continue to next step.
4. CHECK MIL (ACCELERATOR PEDAL POSITION SENSOR)
(a) Disconnect the A17 accelerator pedal position sensor connector.
(b) Turn the ignition switch to the ON position.
(c) Check the MIL.
Result:





(d) Reconnect the accelerator pedal position sensor connector.
A -- REPLACE ACCELERATOR PEDAL ASSEMBLY
B -- Continue to next step.
5. CHECK MIL (CANISTER PUMP MODULE)





(a) Disconnect the N17 canister pump module connector.
(b) Turn the ignition switch to the ON position.
(c) Check the MIL.
Result:





(d) Reconnect the canister pump module connector.
A -- REPLACE CHARCOAL CANISTER ASSEMBLY
B -- Continue to next step.
6. CHECK HARNESS AND CONNECTOR
(a) Disconnect the C5 throttle body connector.
(b) Disconnect the A17 accelerator pedal position sensor connector.
(c) Disconnect the N17 canister pump module connector.





(d) Disconnect the A24 and C24 ECM connectors.
(e) Measure the resistance between the terminals of the wire harness side connectors.
Standard resistance (Check for short):





(f) Reconnect the throttle body connector.
(g) Reconnect the accelerator pedal position sensor connector.
(h) Reconnect the canister pump module connector.
(i) Reconnect the ECM connectors.
NG -- REPAIR OR REPLACE HARNESS OR CONNECTOR
OK -- REPLACE ECM