Curiosii for ever!: Car repair manuals for everyone.

System Specifications

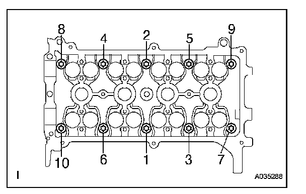
CYLINDER HEAD





Using several steps, install and tighten the 10 cylinder head bolts and plate washers uniformly with an 8 mm bi-hexagon wrench, in the sequence shown in the illustration.
Torque 29 N*m (300 kgf*cm, 22 ft.*lbf)





Retighten the cylinder head bolts 90° and then an additional by 90° as shown in the illustration.
Check that the paint mark is now at a 180° angle from the front.

Cylinder head set bolt length
Standard 143.5 mm (5.6496 in.)
Maximum 144.2 mm (5.6772 in.)
Cylinder head warpage
Maximum cylinder block surface 0.05 mm (0.0020 in.)
Intake manifold surface 0.10 mm (0.0039 in.)
Exhaust manifold surface 0.10 mm (0.0039 in.)


INTAKE MANIFOLD





Provisionally tighten the intake manifold nuts and bolts in the order shown in the illustration, and then tighten them to the specified torque.
Torque 30 N*m (306 kgf*cm, 22 ft.*lbf)


CAMSHAFT BEARING CAP





Uniformly tighten the bolts in several steps in the sequence shown in the illustration and install camshaft bearing cap No. 1 and camshaft bearing cap No. 2.
Torque: Camshaft bearing cap No. 1 23 N*m (235 kgf*cm, 17 ft.*lbf)
Camshaft bearing cap No. 2 13 N*m (129 kgf*cm, 9.4 ft.*lbf)


EXHAUST MANIFOLD





Tighten the exhaust manifold nuts and bolts, in the order shown in the illustration, through a new gasket.
Torque 27 N*m (275 kgf*cm, 20 ft.*lbf)