Curiosii for ever!: Car repair manuals for everyone.

Front Airbag Sensor (For Hatchback)

Front Airbag Sensor (for Hatchback):




FRONT AIRBAG SENSOR (for Hatchback)

REMOVAL

CAUTION: Some of these service operations affect the SRS airbag system. Refer to Restraint Systems Service Precautions before servicing.

HINT: The procedure described below is for the LH side. Use the same procedure for both the RH and LH sides unless otherwise specified.

1. DISCONNECT CABLE FROM NEGATIVE BATTERY TERMINAL
2. REMOVE FRONT BUMPER COVER




3. REMOVE FRONT AIRBAG SENSOR

CAUTION: Confirm that the negative battery terminal is disconnected before performing the operation. Even an impact to only the airbag sensor will cause the airbag to deploy.

a. Remove the 2 bolts.
b. Disengage the 2 claws and remove the front airbag sensor.




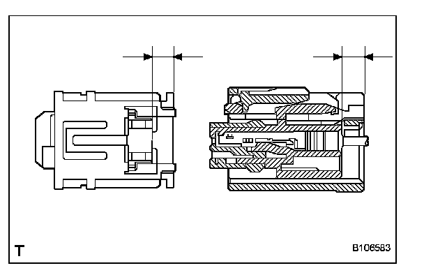
c. Disconnect the airbag connector.

NOTE:
- Do not disconnect the airbag connector by pulling the wire harness.
- Release the lock without holding the upper side of CPA.

1. While pushing the housing slide only the CPA backward (from its provisionally locked state).
2. Detach the connector while pushing the housing in the provisionally locked state.





3. After detaching the connector confirm that the CPA protrudes beyond the rear of the housing.

INSTALLATION

CAUTION: Some of these service operations affect the SRS airbag system. Refer to Restraint Systems Service Precautions before servicing.

HINT: The procedure described below is for the LH side. Use the same procedure for both the LH and RH sides unless otherwise specified.




1. INSTALL FRONT AIRBAG SENSOR

NOTE:
- Do not use a front airbag sensor that has been dropped.
- Do not subject the front airbag sensor to any impact or force.

a. Confirm that the ignition switch is turned to OFF.
b. Confirm that the negative battery terminal is detached.

CAUTION:
- Confirm that the negative battery terminal is disconnected before performing the operation. Even an impact to only the airbag sensor will cause the airbag to deploy.
- Do not start the operation for at least 90 seconds after disconnecting the negative battery terminal.





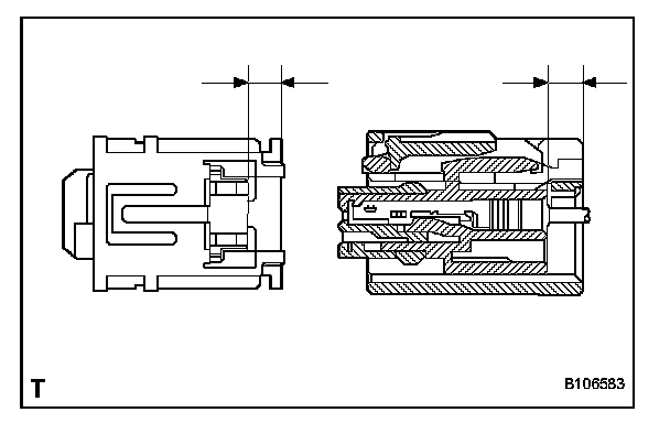
c. Connect the airbag connector.
1. Check that the CPA is in the provisionally locked state.
2. Push the CPA until it makes a click sound.

NOTE:
- Engage the connector by pushing it straight.
- Hold the CPA when engaging the connector.
- Do not engage the CPA while pressing the CPA upper portion, otherwise, the half connection prevention mechanism will not function.

3. Confirm that the rear side of the housing and the CPA rear surface are tightly fitted together.




d. Install the front airbag sensor with the 2 bolts.

Torque: 9.0 N.m (90 kgf.cm, 80 in.lbf)

e. Confirm that there is no looseness by shaking the front airbag sensor.

2. INSTALL FRONT BUMPER COVER
3. CONNECT CABLE TO NEGATIVE BATTERY TERMINAL

Torque: 5.4 N.m (55 kgf.cm, 48 in.lbf)

4. INSPECT SRS WARNING LIGHT