Curiosii for ever!: Car repair manuals for everyone.

Fuel Pump Control Circuit

Fuel Pump Control Circuit

DESCRIPTION




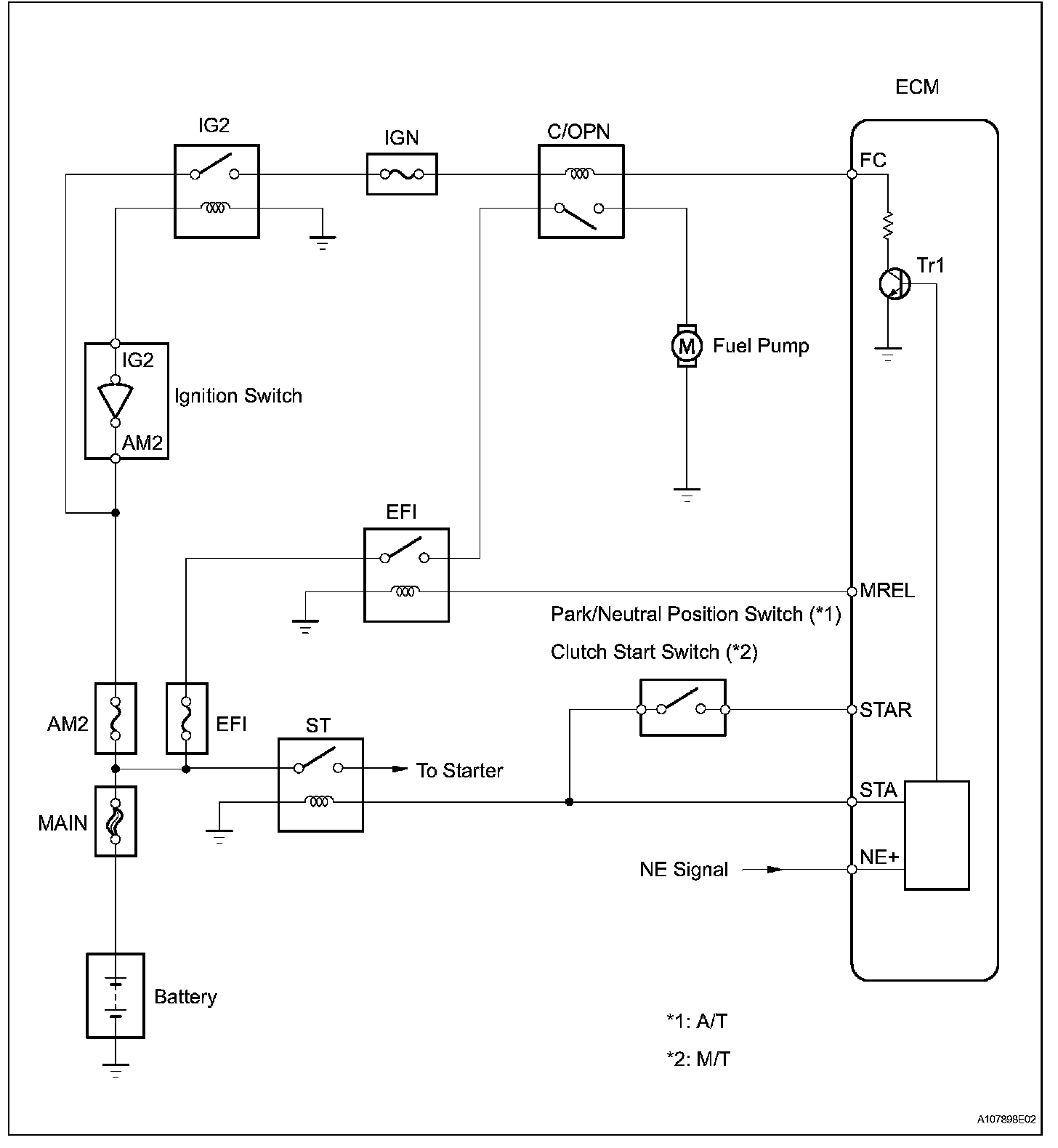
When the engine is cranked, the starter relay drive signal output from the STAR terminal of the ECM is input into the STA terminal of the ECM, and NE signal generated by the crankshaft position sensor is also input into the NE+ terminal. Thus, the ECM interprets that the engine is cranked, and turns the transistor Tr1 in the ECM internal circuit ON. The current flows to the C/OPN (Circuit Opening) relay by turning the Tr1 ON. Then, the fuel pump operates.

While the NE signal is input into the ECM, when engine is running, the ECM turns the Tr1 on continuously.

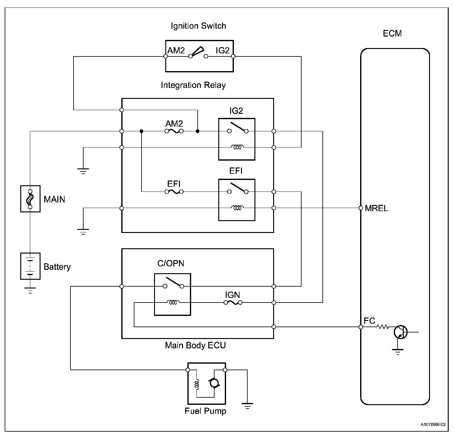
Wiring Diagram:






Step 1:




Step 1(Continued)-2:




Step 3:




Step 4:




Step 5:




Step 6-7:




Step 7(Continued)-9:




INSPECTION PROCEDURE