Curiosii for ever!: Car repair manuals for everyone.

ECM Power Source Circuit

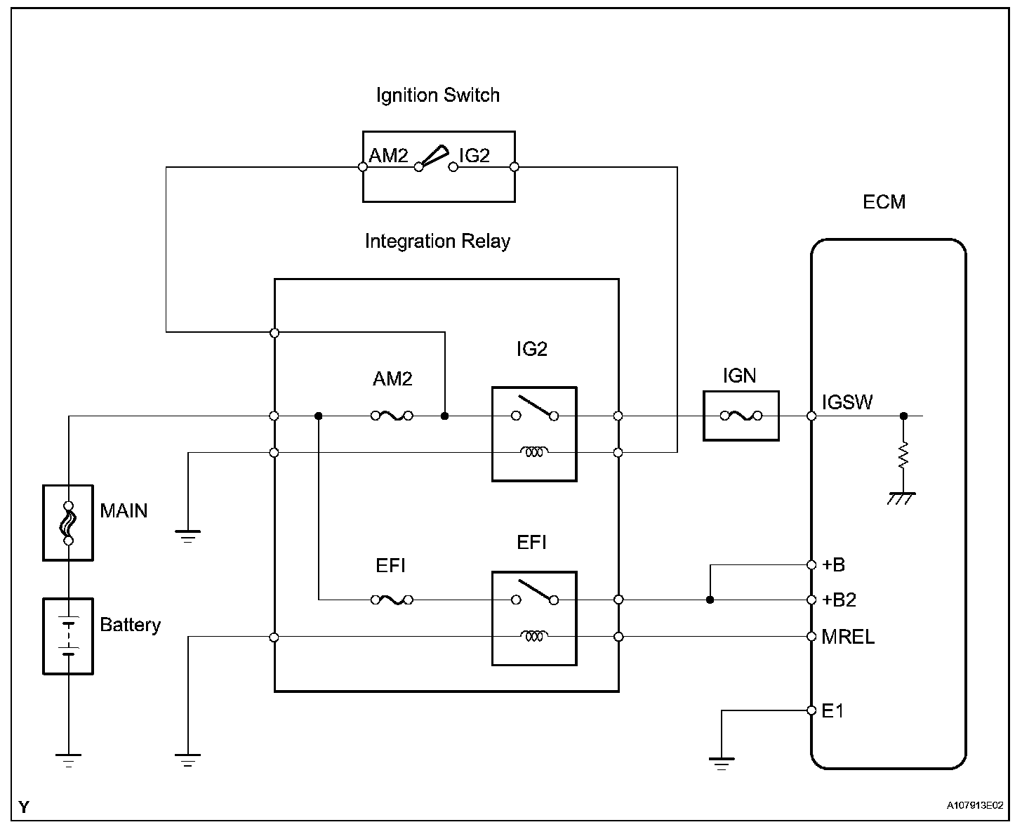
ECM Power Source Circuit

DESCRIPTION

When the ignition switch is turned to ON, the battery voltage is applied to the IGSW of the ECM. The output signal from the MREL terminal of the ECM causes a current to flow to the coil, closing the contacts of the integration relay (EFI relay) and supplying power to either terminal +B or +B2 of the ECM.

Wiring Diagram:






Step 1-2:




Step 2(Continued)-3:




Step 4-5:




Step 6:




Step 7:




Step 8:




Step 9:




INSPECTION PROCEDURE