Curiosii for ever!: Car repair manuals for everyone.

Front Wheel Alignment

NOTICE: For Zero Point Calibration information, please refer to: TSB T-SB-0020-8 (3/25/08).

FRONT WHEEL ALIGNMENT
ADJUSTMENT
1. INSPECT TIRE
a. Inspect the tires.

Standard Vehicle Height:





2. MEASURE VEHICLE HEIGHT

Standard Vehicle Height:





Measuring points:
A: Ground clearance of front wheel center
B: Ground clearance of lower arm No. 1 set bolt center
C: Ground clearance of rear axle carrier bush set bolt center
D: Ground clearance of rear wheel center

NOTICE: Before inspecting the wheel alignment, adjust the vehicle height to the specified value.

HINT: Bounce the vehicle at the corners up and down to stabilize the suspension and inspect the vehicle height.

Standard Toe-In:





3. INSPECT TOE-IN

Standard Toe-In:





HINT:
- Measure "C - D" only when "A + B" cannot be measured.
- If the toe-in is not within the specified range, adjust it at the rack ends.





4. ADJUST TOE-IN
a. Measure the thread lengths of the right and left rack ends.
Standard difference in thread length: 1.5 mm (0.059 inch) or less
b. Remove the rack boot set clips.
c. Loosen the tie rod end lock nuts.
d. Adjust the rack ends if the difference in thread length between the right and left rack ends is not within the specified range.
1 Extend the shorter rack end if the measured toe-in deviates toward the outer-side.
2 Shorten the longer rack end if the measured toe-in deviates toward the inner-side.
e. Turn the right and left rack ends by an equal amount to adjust toe-in.

HINT: Try to adjust toe-in to the center of the specified range.

f. Make sure that the lengths of the right and left rack ends are the same.
Standard: 0 ± 1 mm (0.0039 inch)
g. Torque the tie rod end lock nuts.
Torque: 74 Nm (755 kgf-cm, 55 ft. lbs.)

NOTICE: Temporarily tighten the lock nut while holding the hexagonal part of the steering rack end so that the lock nut and the steering rack end do not turn together. Hold the width across the flat part of the tie rod end and tighten the lock nut.

h. Place the boots on the seats and install the clips.

HINT: Make sure that the boots are not twisted.

i. Perform VSC system calibration.

Standard Wheel Turning Angle:





5. INSPECT WHEEL ANGLE
a. Fully turn the steering wheel to the left and right and measure the turning angle.

Standard Wheel Turning Angle:





If the right and left inside wheel angles differ from the specified range, check the right and left rack end lengths.





6. INSPECT CAMBER, CASTER AND STEERING AXIS INCLINATION
a. Put the front wheel on the center of the alignment tester.
b. Remove the center ornament.
c. Install the camber-caster-steering axis inclination gauge at the center of the axle hub or drive shaft.
d. Inspect the camber, caster and steering axis inclination.

Standard Camber, Caster And Steering Axis Inclination:




Standard Camber, Caster And Steering Axis Inclination:





NOTICE:
- Inspect with an empty vehicle (without the spare tire or tools).
- The maximum tolerance of the right and left difference for the camber and caster is 45' or less.

e. Remove the camber-caster-steering axis inclination gauge and attachment.
f. Install the center ornament.
If the caster and steering axis inclination are not within the specified values after the camber has been correctly adjusted, recheck the suspension parts for damage and/or wear.
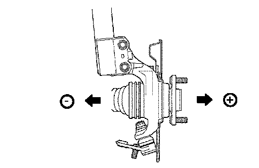
7. ADJUST CAMBER

NOTICE: Inspect toe-in after the camber has been adjusted.





a. Remove the front wheel.
b. Remove the 2 nuts on the lower side of the shock absorber.

NOTICE: When removing the nut, stop the bolt from rotating and loosen the nut.

c. Clean the installation surfaces of the shock absorber and the steering knuckle.
d. Temporarily install the 2 nuts.





e. Fully push or pull the front axle hub in the direction of the required adjustment.
f. Tighten the nuts.
Torque: 153 Nm (1,560 kgf-cm, 113 ft. lbs.)

NOTICE: Keep the bolts from rotating and torque the nuts.

g. Install the front wheel.
Torque: 103 Nm (1,050 kgf-cm, 76 ft. lbs.)
h. Check the camber.
If the measured value is not within the specified range, calculate the required adjustment amount using the formula below.
Camber adjustment amount:
Center of the specified range - Measured value





Check the installed bolt combination. Select appropriate bolts from the table to adjust the camber to within the specified range.

Standard Selection Table:





i. Measure the camber with the bolts currently installed and check the amount of looseness from the specified range. (Ex: The measured value is - 1°35')
j. Determine whether the direction of the required adjustment is toward the positive or negative side. (Ex: Refer to table (1) (Move the axle toward positive side))
k. Check the required adjustment amount from the measured value. (Table (1), Table (2)) (Ex: Select "Adjust value: 0°45'to 1°00")
l. Check the currently installed bolt combination. (Ex: Installed bolt 1: no dot; Installed bolt 2: 2 dots")
m. Select the adjusting bolts. (Ex: "Selected Bolt Combination" results in F for installed bolt 1: 3 dots; Installed bolt 2: 3 dots)





n. Measure the alignment again and check that it is within the specified range. (Ex: Measured value is within -0°35' ± 45')

The body and suspension may be damaged if the camber is not correctly adjusted according to the above table.

NOTICE: Replace the nut with a new one when replacing the bolt.





o. Repeat the steps mentioned above. At step (b), replace 1 or 2 selected bolts.

HINT: Replace 1 bolt at a time when replacing 2 bolts.

The body and suspension may be damaged if the camber is not correctly adjusted according to the above table.
p. Repeat the steps mentioned above. At step (b), replace 1 or 2 selected bolts.

NOTICE: Replace the nut with a new one when replacing the bolt.

HINT: Replace 1 bolt at a time when replacing 2 bolts.