Curiosii for ever!: Car repair manuals for everyone.

Liftgate Window Glass: Service and Repair

BACK DOOR GLASS

Back Door Glass:






REMOVAL

1. REMOVE BACK DOOR PANEL SUB-ASSEMBLY UPPER OUTER
a. Remove the center stop light.
b. Using a torx wrench (T30), remove the 4 screws.
c. Remove the 4 nuts.






d. Remove the hose.






e. Using a knife, cut off the adhesive tape as shown in the illustration.






NOTICE: Do not damage the back door glass with the knife.

f. Remove the back door panel upper outer, and then disconnect the clamp.

2. REMOVE REAR WIPER ARM ASSEMBLY
3. REMOVE REAR WIPER LINK CAP
4. REMOVE W/WASHER PACKING NUT REAR WIPER LINK PIVOT
5. REMOVE RR WIPER MOTOR COVER
6. REMOVE WINDSHIELD WIPER MOTOR ASSEMBLY
7. REMOVE BACK DOOR GLASS
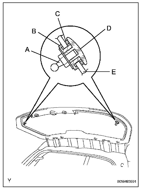
a. Using a screwdriver, remove the back door stay from the back door panel.






HINT: While supporting the back door by hand, remove the back door stay.

b. Remove the back door stay bolt No. 1, back door stay retainer and back door stay packing No. 2 from the back door glass.

HINT:
A: Back door stay bolt No. 1
B: Back door stay packing No. 2
C: Back door stay packing No. 1
D: Back door stay retainer
E: Back door glass






c. Remove the 4 nuts and back door glass.






8. REMOVE BACK DOOR HINGE ASSEMBLY RH
a. Remove the 2 nuts, window glass spacer No. 1, back door hinge male pad and back door glass from the back door hinge assembly RH.

9. REMOVE BACK DOOR HINGE ASSEMBLY LH

INSTALLATION

1. INSTALL BACK DOOR GLASS

Torque: 12 N.m (122 kgf.cm, 9 ft.lbf)

2. INSTALL BACK DOOR HINGE ASSEMBLY RH
3. INSTALL BACK DOOR HINGE ASSEMBLY LH
4. INSTALL BACK DOOR GLASS
5. INSTALL WINDSHIELD WIPER MOTOR ASSEMBLY
6. INSTALL RR WIPER MOTOR COVER
7. INSTALL W/WASHER PACKING NUT REAR WIPER LINK PIVOT
8. INSTALL REAR WIPER LINK CAP
9. INSTALL REAR WIPER ARM ASSEMBLY
10. INSTALL BACK DOOR PANEL SUB-ASSEMBLY UPPER OUTER
a. If planning to reuse the back door panel upper outer: Clean the back door panel upper outer.






1. Remove the adhesive tape from the back door panel upper outer.
2. Wipe off the stains with cleaner.

b. Apply new adhesive tape to the back door panel upper outer as shown in the illustration.
c. Install the back door panel upper outer with the 4 screws and 4 nuts.