Curiosii for ever!: Car repair manuals for everyone.

Clutch Switch: Service and Repair

CLUTCH START SWITCH

COMPONENTS:





ON-VEHICLE INSPECTION





1. INSPECT CLUTCH START SWITCH ASSEMBLY
(a) Check that the engine does not start when the clutch pedal is released.
(b) Check that the engine starts when the clutch pedal is fully depressed.

If necessary, inspect and replace the clutch start switch assembly.

REMOVAL
1. REMOVE CLUTCH START SWITCH ASSEMBLY
(a) Disconnect the clutch start switch assembly connector.
(b) Remove the nut and clutch start switch assembly from the clutch pedal support.

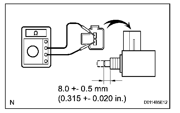
INSPECTION





1. INSPECT CLUTCH START SWITCH ASSEMBLY
(a) Check the resistance between the terminals when the switch is ON and OFF.





INSTALLATION
1. INSTALL CLUTCH START SWITCH ASSEMBLY
(a) Install the clutch start switch assembly with the nut.
Torque: 16 Nm (160 kgf/cm, 12 ft. lbs.)
(b) Connect the clutch start switch assembly connector.

2. INSPECT CLUTCH START SWITCH ASSEMBLY