Curiosii for ever!: Car repair manuals for everyone.

Alternator: Testing and Inspection

INSPECTION

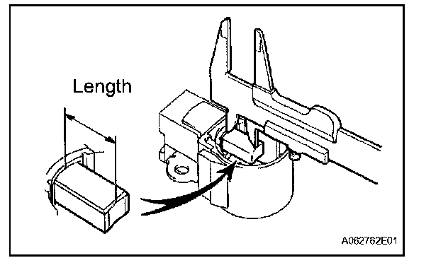
1. INSPECT GENERATOR BRUSH HOLDER ASSEMBLY




a. Check the brush length.
1. Using vernier calipers, measure the exposed brush length.
Standard exposed brush length: 9.5 to 11.5 mm (0.374 to 0.453 in.)

Minimum exposed brush length: 4.5 mm (0.177 in.)

If the exposed brush length is less than minimum, replace the generator brush holder.




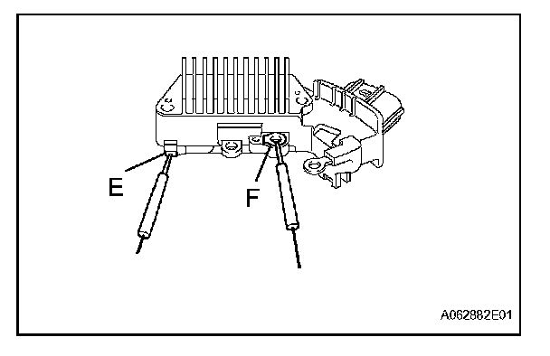
2. INSPECT GENERATOR REGULATOR ASSEMBLY

a. Check the resistance.
1. Using an ohmmeter, measure the resistance between terminals F and B.

Standard resistance:
When the positive and negative poles of terminals F and B are switched over, there is a resistance of below 1 ohm in one direction but 10 k Ohms or higher in the other direction.

If the result is not as specified, replace the generator regulator.




2. Using an ohmmeter, measure the resistance between terminals E and F.

Standard resistance:
When the positive and negative poles of terminals F and E are switched over, there is a resistance of below 1 ohm in one direction but 10 k Ohms or higher in the other direction.

If the result is not as specified, replace the generator regulator.




3. INSPECT GENERATOR HOLDER W/RECTIFIER

a. Check the resistance.
1. Using an ohmmeter, measure the resistance between the positive (+) terminal and each rectifier terminal.

Standard resistance:
When the positive and negative poles of the positive (+) terminal and each rectifier terminal are switched over, there is a resistance of below 1 ohm in one direction but 10 k Ohms or higher in the other direction.

If the result is not as specified, replace the generator holder with rectifier.




2. Using an ohmmeter, measure the resistance between the negative (-) terminal and each rectifier terminal.

Standard resistance:
When the positive and negative poles of the negative (-) terminal and each rectifier terminal are switched over, there is a resistance of below 1 ohm in one direction but 10 k Ohms or higher in the other direction.

If the result is not as specified, replace the generator holder with rectifier.




4. INSPECT GENERATOR ROTOR ASSEMBLY
a. Check for roughness or wear.
1. Check that the bearing is not rough or worn.

If necessary, replace the bearing.




b. Check the resistance.
1. Using an ohmmeter, measure the resistance between the slip rings.

Standard resistance: 2.1 to 2.5 Ohms at 20°C (68°F)

If the resistance is not as specified, replace the generator rotor.




2. Using an ohmmeter, measure the resistance between the slip ring and rotor.

Standard resistance: 1 M Ohm or higher

If the result is not as specified, replace the generator rotor shaft.

c. Check the appearance.
1. Check that the slip rings are not rough or scored.
If rough or scored, replace the generator rotor.




d. Inspect the slip ring diameter.
1. Using vernier calipers, measure the slip ring diameter.

Standard diameter: 14.2 to 14.4 mm (0.559 to 0.567 in.)
Minimum diameter: 14.0 mm (0.551 in.)

If the diameter is less than minimum, replace the generator rotor.




5. INSPECT GENERATOR RECTIFIER END FRAME

a. Check for roughness or wear.
1. Check that the bearing is not rough or worn.

If necessary, replace the bearing.




b. Check the resistance.
1. Using an ohmmeter, measure the resistance between the coil wires.

Standard resistance: Below 1 ohm

If the result is not as specified, replace the generator drive end frame.




2. Using an ohmmeter, measure the resistance between the coil wire and body.

Standard resistance: 1 M Ohm or higher

If the result is not as specified, replace the generator drive end frame.




6. REMOVE GENERATOR ROTOR BEARING
a. Clamp the generator rotor in a vise.
b. Using SST, remove the generator bearing cover (outside) and bearing.

SST 09820-00021

NOTE: Be careful not to damage the fan.

c. Remove the generator bearing cover (inside) from the generator rotor.




7. INSTALL GENERATOR ROTOR BEARING
a. Place the generator rotor on the generator pulley.
b. Install the generator bearing cover (inside) onto the generator rotor.
c. Using SST and a press, push a new bearing in.

SST 09820-00031




d. Using SST, push the generator bearing cover (outside) in.

SST 09285-76010




8. REMOVE GENERATOR DRIVE END FRAME BEARING
a. Remove the 4 screws, then remove the retainer plate.




b. Using SST and a press, push the bearing out.

SST 09950-60010 (09951-00350), 09950-70010 (09951-07100)




9. INSTALL GENERATOR DRIVE END FRAME BEARING
a. Using SST and a press, push a new bearing in.

SST 09950-60010 (09951-00530), 09950-70010 (09951-07100)




b. Install the retainer plate with the 4 screws.

Torque: 3.0 N.m (31 kgf.cm, 27 in.lbf)