Curiosii for ever!
: Car repair manuals for everyone.
Home
>>
Toyota
>>
2007
>>
Matrix L4-1.8L (1ZZ-FE)
>>
Repair and Diagnosis
>>
Relays and Modules
>>
Relays and Modules - Powertrain Management
>>
Relays and Modules - Ignition System
>>
Ignition Relay
>>
Testing and Inspection
>>
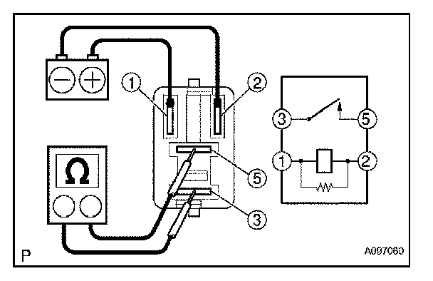
IG1 Relay
IG1 Relay
INSPECTION
INSPECT
IGNITION RELAY
NO. 1
a.
Check the resistance.
1.
Using an ohmmeter, measure the resistance between the terminals.
If the result is not as specified, replace the ignition ECU relay.