Curiosii for ever!: Car repair manuals for everyone.

Overhaul

DISASSEMBLY




1. REMOVE AIR FILTER CASE
a. Release the 2 fitting claws and remove the air filter case.




2. REMOVE CLEAN AIR FILTER
a. Remove the air filter from the air conditioning unit assembly.

HINT: Removing only the glove compartment door assembly makes it possible to install the air filter.




3. REMOVE DAMPER SERVO SUB-ASSEMBLY
a. Remove the 2 screws and damper servo sub-assembly.

HINT: Removing only instrument panel sub-assembly upper and heater to register duct No. 1 makes it possible to install the damper servo sub-assembly.




4. REMOVE BLOWER W/FAN MOTOR SUB-ASSEMBLY
a. Remove the 3 screws and blower w/fan motor sub-assembly.

HINT: Removing only the ECM makes it possible to install the blower w/fan motor sub-assembly.




5. REMOVE BLOWER RESISTOR
a. Disconnect the connector.
b. Remove the 2 screws and blower resistor.

HINT: Removing only the ECM makes it possible to install the blower resistor.




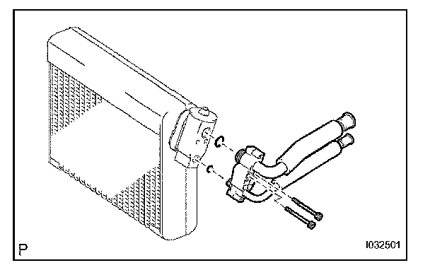
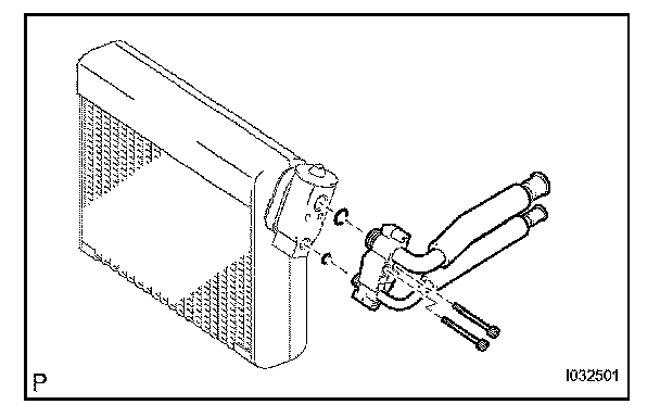
6. REMOVE HEATER PIPING COVER
a. Release the 3 fitting claws and remove the heater piping cover.




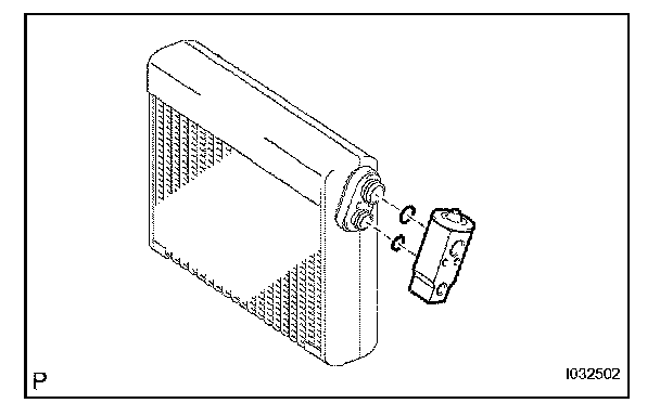
7. REMOVE HEATER RADIATOR UNIT SUB-ASSEMBLY
a. Release the 3 fitting claws and remove the heater piping clamp and heater radiator unit sub-assembly.




8. REMOVE COOLER THERMISTOR NO. 1
a. Remove the clamp.




b. Release the fitting claw and remove the 2 screws and heater case.




c. Release the fitting claw and remove the 5 screws and heater case.




d. Remove the cooler thermistor No. 1 from the cooler evaporator sub-assembly No. 1.




9. REMOVE AIR CONDITIONING TUBE ASSEMBLY
a. Remove the cooler evaporator assembly from the heater case.
b. Remove the packing.




c. Using a hexagon wrench 5.0 mm (0.20 in.), remove the 2 hexagon bolts and air conditioning tube assembly.
d. Remove the 2 O-rings from the air conditioning tube assembly.




10. REMOVE COOLER EXPANSION VALVE
a. Remove the cooler expansion valve from the cooler evaporator sub-assembly No. 1.
b. Remove the 2 O-rings from the cooler evaporator sub-assembly No. 1.

HINT: Removing only instrument panel sub-assembly upper, heater to register duct No. 1 and heater case makes it possible to install the cooler expansion valve.

11. REMOVE COOLER EVAPORATOR SUB-ASSEMBLY NO. 1
12. REMOVE COOLER UNIT DRAIN HOSE NO. 1

REASSEMBLY




1. INSTALL COOLER EXPANSION VALVE
a. Lubricate 2 new O-rings with compressor oil and install them to the cooler expansion valve.
Compressor oil: ND-OIL 8 or equivalent
b. Install the cooler expansion valve to the cooler evaporator sub-assembly No. 1.




2. INSTALL AIR CONDITIONING TUBE ASSEMBLY
a. Lubricate 2 new O-rings with compressor oil and install them to the air conditioning tube assembly.

Compressor oil: ND-OIL 8 or equivalent

b. Using a hexagon wrench 5.0 mm (0.20 in.), install the air conditioning tube assembly with the 2 hexagon bolts.

Torque: 3.5 N.m (35 kgf.cm, 30 in.lbf)




c. Install the packing.

HINT: Securely attach so that the gap in the packing will not be mode.

d. Install the cooler evaporator assembly to the heater case.




3. INSTALL COOLER THERMISTOR NO. 1
a. Install the cooler thermistor No. 1 at the position shown on the illustration.




b. Install the heater case with the claw and 5 screws.




c. Install the heater case with the claw and 2 screws.