Curiosii for ever!: Car repair manuals for everyone.

Evaporator Temperature Sensor / Switch: Testing and Inspection

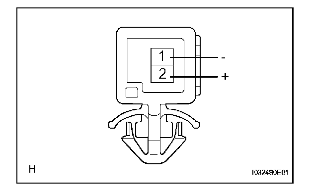
EVAPORATOR TEMPERATURE SENSOR

INSPECTION




1. INSPECT COOLER THERMISTOR NO. 1
a. Inspect the cooler thermistor No. 1.




b. Check the resistance between terminals 1 and 2 of the cooler thermistor No. 1 at each temperature, as shown in the chart.

If the resistance value is not as specified, replace the sensor.