Curiosii for ever!: Car repair manuals for everyone.

Compressor Clutch Relay: Testing and Inspection

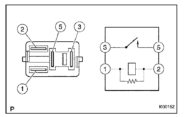
MAGNETIC CLUTCH RELAY

ON-VEHICLE INSPECTION







1. INSPECT MAGNETIC CLUTCH RELAY
a. Measure the resistance according to the value(s) in the table.

If the resistance is not as specified, replace the magnetic clutch relay.