Curiosii for ever!: Car repair manuals for everyone.

Spark Plug: Testing and Inspection

ON-VEHICLE INSPECTION

NOTE: In this section, the terms "cold" and "hot" refer to the temperature of the coils. "Cold" means approximately - 10°C (14°F) to 50°C (122°F). "HOT" means approximately 50°C (122°F) to 100°C (212°F).

INSPECT SPARK PLUG

NOTE:
- Never use a wire brush for cleaning.
- Never attempt to adjust the electrode gap on a used spark plug.

a. Check the electrode.




1. Using a megohmmeter, measure the insulation resistance.

Standard insulation resistance: 10 MOhms or higher

HINT: If the result is 10 MOhms or less, clean the plug and measure the resistance again.

If a megohmmeter is not available, perform the following simple inspection instead.

b. Alternative inspection method:
1. Quickly accelerate the engine to 4,000 rpm 5 times.
2. Remove the spark plugs.
3. Visually check the spark plug. If the electrode is dry, the spark plug is functioning properly.

If the electrode is damp, proceed to the next step.




c. Check the spark plug for any damage to its threads and insulator.

If there is damage, replace the spark plug.

NOTE: Use only the listed spark plug or equivalent to ensure engine performance and smooth driveability.




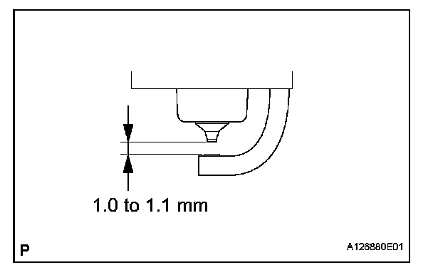
d. Check the spark plug electrode gap.

Maximum electrode gap for used spark plug: 1.4 mm (0.055 in.)

If the gap is greater than the maximum, replace the spark plug.

Electrode gap for new spark plug: 1.0 to 1.1 mm (0.039 to 0.043 in.)




e. Clean the spark plugs.
If the electrode has traces of wet carbon, clean the electrode with a spark plug cleaner and then dry it.

Standard air pressure: 588 kPa (6 kgf/sq.cm, 85 psi)

Standard duration: 20 seconds or less

HINT: Only use the spark plug cleaner when the electrode is free of oil. If the electrode has traces of oil, use gasoline to clean off the oil before using the spark plug cleaner.