Curiosii for ever!
: Car repair manuals for everyone.
Home
>>
Toyota
>>
2007
>>
Camry L4-2.4L (2AZ-FE)
>>
Repair and Diagnosis
>>
Powertrain Management
>>
Computers and Control Systems
>>
Knock Sensor
>>
Testing and Inspection
Knock Sensor: Testing and Inspection
INSPECTION
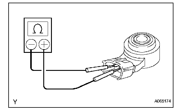
KNOCK CONTROL SENSOR
Using an ohmmeter, measure the resistance between the terminals.
Standard resistance:
120 to 280 kOhms at 20°C (68°F)
If the resistance is not specified, replace the sensor.