Curiosii for ever!
: Car repair manuals for everyone.
Home
>>
Toyota
>>
2007
>>
Avalon V6-3.5L (2GR-FE)
>>
Repair and Diagnosis
>>
Starting and Charging
>>
Starting System
>>
Testing and Inspection
>>
Component Tests and General Diagnostics
>>
Smart Key System (Door Lock System)
>>
Touch Sensor Circuit
Touch Sensor Circuit
Touch Sensor Circuit
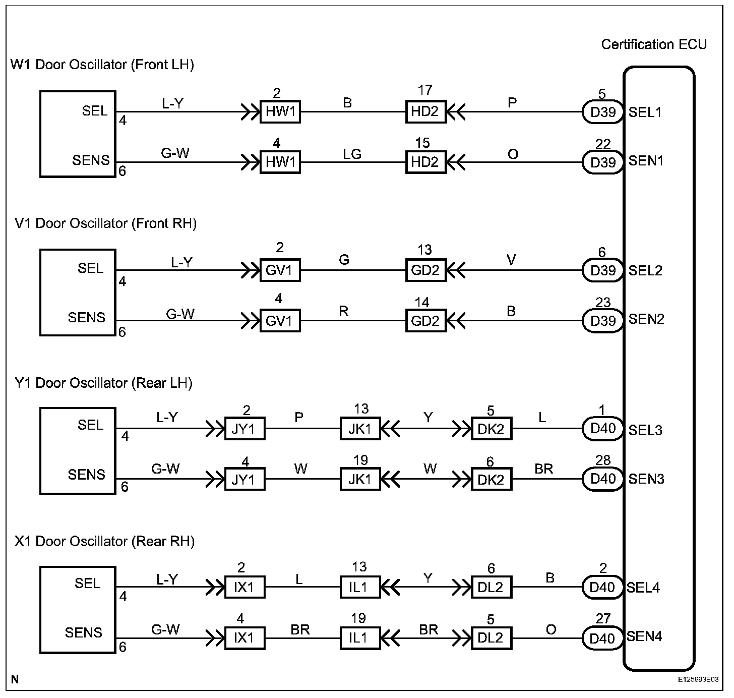
DESCRIPTION
This circuit receives the signal indicating whether or not a touch sensor signal is detected.
Wiring Diagram:
INSPECTION PROCEDURE
Step 1:
Step 1(Continued)-2:
Step 2(Continued)-3:
Step 4: